GRILL MEISTER Portable Outdoor Pizza Oven Instruction Manual
Introduction
We congratulate you on the purchase of your new product. You have chosen a high quality product. Familiarise yourself with the product before using it for the first time. In addition, please carefully refer to the operating instructions and the safety advice below. Only use the product as instructed and only for the indicated field of application. Keep these instructions in a safe place. If you pass the product on to anyone else, please ensure that you also pass on all the documentation with it.
Intended use
This product is only suitable for baking pizzas and light pastry, and is for outdoor use only. This product is not suitable for commercial use or for any other use.
Do not cook the food without using the pizza stone. Cook the food on the pizza stone only.
The pizza stone in the pizza oven is made of cordierite, a resistant, homogeneous material that can withstand rough temperature fluctuations. The pizza stone is food-safe.
The pizza stone is not suitable for use in microwaves.
Parts description

Please refer to the fold out pages.
- Front door & fuel container handle
- Oven door
- Thermometer
- Chimney cover
- Chimney
- Top handle
- Oven body
- Fuel holder
- Fuel container
- Feet
- Pizza stone
Technical data
- Model number: HG08188
- Size: Pizza oven: 42 x 82 x 64 cm*
- Pizza stone: 30 x 30 cm*
- Weight: 13 kg*
- Fuel: charcoal, charcoal briquettes
- Max. capacity (fuel container): 400 g*
* = approximately
Scope of delivery
1 Portable outdoor pizza oven
1 Set of assembly instructions and instructions for use
Safety notices
KEEP ALL SAFETY NOTICES AND INSTRUCTIONS FOR FUTURE REFERENCE!
WARNING! Risk of burning! The oven surface will become very hot. During operation, do not move or touch the oven surface. Any contact with the hot product can result in serious burns.
- The product can only be operated with charcoal / briquettes in accordance with DIN EN 1860-2.
WARNING! Keep children and pets away. - The product is not a toy – keep out of the reach of children. Children cannot recognise the risks associated with the use of the product.
- Every effort was made during manufacturing to prevent sharp edges on this product. Handle the individual parts with care to prevent accidents or injuries during assembly and use.
- The product includes a variety of screws and other small parts. These may prove life threatening if swallowed or inhaled.
Always wear barbecue gloves or oven mitts. Gloves should accord with PPE regulation (category II heat protection, e.g. DIN EN 407). - Remain alert at all times always be aware of what you are doing. Do not use the product if you are unfocused or tired or under the influence of drugs, alcohol or medications. One moment of carelessness whilst using the product can cause serious injuries. Do not leave the product unattended.
- Allow the pizza oven and the pizza stone to cool completely before removing
- Do not clean the pizza oven nor the pizza stone in a dishwasher.
- Do not use knives or pizza cutters or any sharp tools on the pizza stone.
- The pizza oven is designed to be used outdoors – in a well ventilated area.
- Do not use or store the following components in the cooking chamber: Petrol, white spirit, lighter fluid, alcohol, charcoal, wood products, or flammable chemicals.
- Always use barbecue tools with long, heat resistant handles. Pouring flammable liquids into embers will cause spurts of flames or explosions. Never use lighter fluid such as petrol or spirits. Do not add charcoal soaked in lighter fluid to the fire.
Igniting the fuel
WARNING! RISK OF BURNS! Igniting using petrol or spirits, which are highly flammable, can cause the uncontrollable build up of heat. Therefore, only use safe burning materials such as firelighters. The oven must be placed on solid, stable ground while it is being used.
- Keep an adequate distance to hot parts. Any contact may result in severe burns.
- Do not use the product if parts are missing, damaged or worn.
Prevent fires
WARNING! This oven will become very hot, do not move it during operation.
- Keep a fire extinguisher and a First Aid kit handy to be prepared in the event of an accident or fire.
- Install the product on a secure level base prior to use.
- Only light the fuel in an area protected from the wind.
- Ensure the fuel has completely burnt out and cooled down before removing the ashes.
- Do not install the product in caravans or on boats.
Avoid the danger of damage to property - The screw joints can gradually loosen from use and affect the stability of the product. Verify the screws are tight before every use. If necessary, tighten all screws to ensure stability.
- Do not use force when assembling the product.
- Do not overtighten the screws.
- Do not sit or stand on the product.
- Do not use the product if parts are missing, damaged or worn.

- Do not use the product in a confined and/or habitable space e.g. houses, tents, caravans, motor homes, boats. Danger of carbon monoxide poisoning fatality.

Before first use
- Unpack the product.
- After unpacking the product, check if all parts are complete and in good condition. Remove all packing materials, including protective foils, before use.
DANGER! Keep the packaging materials away from the children and pets. Danger of suffocation.
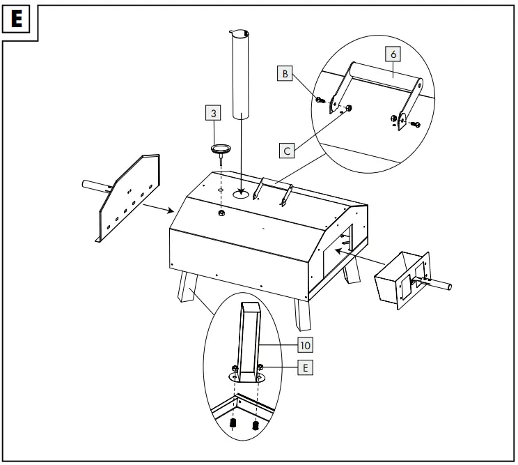
Assembly (see Fig. A- E)


”


CAUTION! The screw heads must always face outwards to guarantee your safety, as otherwise there is a risk of injury.
NOTE: Tighten all screws securely after assembly to prevent undesirable material stresses. When doing so, secure the nuts using the appropriate spanner.
Ignition of the fuel
- Make sure the door is closed and only open it when you add or remove food.
- Fill your fuel container up to 80% capacity with 100% fuel.
- Place a natural grill lighter on the lip of your fuel container. We recommend that you do not use petroleum-based barbecue lighters, as they cause unwanted aromas.
- Light the grill lighter. If you use a blowtorch instead of a grill lighter, point it at the fuel for about 40 seconds until they burn.
- Slide the fuel container into the stove.
- Once your starter fuel is completely burnt out, gradually add small amounts of fuel.
Operation
- Before use: Clean the product (see “Cleaning and care”).
NOTE: We recommend heating the oven up prior to first use and allowing the fuel to burn out for at least 30 minutes.
NOTE: Only place food on the oven when the fuel is covered by a layer of ash!
Place the oven on a sturdy, level surface prior to use.
- Flour the pizza stone.
- Place the pizza stone inside the pizza oven.
- Preheat the pizza stone for 20-30 minutes.
- When the temperature reaches 250 °C to 300 °C, push the pizza dough onto the stone. Before baking, add a little extra flour to the pizza dough to prevent it from baking.
- Turn the pizza every 30-40 seconds to make it cook more evenly and bake for about 10 minutes.
- Take the pizza out of the oven and enjoy it.
Cleaning and care
CAUTION! Before cleaning, allow the product to slowly cool to room temperature.
CAUTION! Risk of burns! All accessible parts can be very hot. Wait until the product has cooled down completely before cleaning.
- Do not immerse the hot pizza stone in water or other liquids. This might cause cracks on the pizza stone.
- Clean the product body with a damp cloth. Dry the product thoroughly.
ATTENTION! Risk of damage! Do not use any strong or grinding solvents or abrasive pads, since these can attack the surfaces and leave marks.
Cleaning the fuel container
- Remove any residue with a brush, scraper or cleaning pad and then wash it off with a mild detergent water . Then rinse with water and allow to dry completely.
- Remove any carbon deposits after each use.
Not suitable for dishwasher
- Do not allow the pizza stone to soak in or rinse with water as it absorbs and stores water. Otherwise there is a risk of cracking and breaking during the heating process.
Cleaning the pizza stone after every use
- Do not use any chemical substances or detergents as the pizza stone will absorb them and affect the taste of the food during the next cooking.
- Carefully remove any dirt that is stuck on the pizza oven and on the pizza stone with a hand brush or a plastic scraper. Wipe these parts with a damp cloth.
- Due to heat and food ingredients such as sauces, sugar, etc. the pizza stone will change its colour over time. This does not have an impact on hygiene. If discoloured, the pizza stone may first be cleaned with fine sandpaper, and then with a brush.
- Store the product in a dry place where it cannot fall down.
Disposal
The packaging is made entirely of recyclable materials, which you may dispose of at local recycling facilities.
Contact your local refuse disposal authority for more details of how to dispose of your worn-out product.
Service
Service Great Britain
Tel.: 08000569216
E-Mail: [email protected]

Always wear barbecue gloves or oven mitts. Gloves should accord with PPE regulation (category II heat protection, e.g. DIN EN 407).
















