Cozze CZ90551 13 Inch Gas Pizza Oven

Model No.: 90551
Description: GAS PIZZA OVEN 13 INCH – For universal (LPG) Gas
Dimensions: 52(W)x 52(D) x 28.5(H)cm
Gas Connector: 5/8” 18UNF
WARNING FOR YOUR SAFETY USE OUTDOORS ONLY.
Read this instruction carefully and ensure that your pizza oven is properly installed, assembled, maintained and serviced in accordance to these instructions. Failure to follow these instructions may result in serious bodily injury and/or property damage. If you have any questions concerning the assembly or operation of this pizza oven, please consult your dealer, your gas supplier, the manufacturer or agent.
Notes to the user:
“USE OUTDOORS ONLY”. “READ THE INSTRUCTIONS BEFORE USING THE APPLIANCE”. “WARNING: ACCESSIBLE PARTS MAY BE VERY HOT, KEEP YOUNG CHILDREN AWAY”. “DO NOT MOVE THE APPLIANCE DURING COOKING”. “RETAIN FOR FUTURE REFERENCE”.
FEATURES & BENEFITS

TECHNICAL INFORMATION
| MODEL | SAI № | INJECTOR (MM) | PRESSURE (KPA) | INP/BURNR (MJ/H) | TOTAL (MJ/H) |
| 90551 | SAI-400428 | Φ1.19 | 2.75 | 1×18 | 18 |
| Total nominal gas consumption: 18MJ/h | ![]() | ||||
| Minimum clearance of appliance to combustible surfaces is 100cm at the rear, sides and overhead. | |||||
| FOR OUTDOOR USE ONLY. | |||||
| Manufactured by: Millarco International A/S Rokhøj 26, 8520 Lystrup – Denmark www.cozze-pizza.com | |||||
POSITIONING THE PIZZA OVEN
This appliance shall only be used in an above ground open air situation with natural ventilation, without stagnant areas, where gas leakage and products of combustion are rapidly dispersed by wind and natural convection. The pizza oven must not be installed under or on any combustible material. Minimum clearance from any combustible materials on ALL sides of the pizza oven is 1000mm and 1000mm overhead.

PIZZA OVEN MUST BE ASSEMBLED IN ACCORDANCE WITH THE MANUFACTURER’S INSTALLATION INSTRUCTIONS.
Any enclosure in which the appliance is used shall comply with one of the following (the same principle applies to any other shaped area.):
A. An enclosure with walls on all sides, but with at least one opening at ground level and no overhead cover.

B. Within a partial enclosure that includes overhead cover and no more than two walls.

C. Within a partial enclosure that includes an overhead cover and more than two walls, the following shall apply: At least 25% of the total wall area is completely open, and at least 30% of the remaining wall area is 25%5% open and unrestricted.

SAFETY INFORMATION
SAFETY COMPLIANCE LABEL
While there is a requirement under the regulations for all gas products to be safe, the Australian and New Zealand regulatory environment establishes the limits of fundamental safety. The safety compliance label confirms that this pizza oven has been certified as compliant and deemed suitable for importing and operation in Australia and New Zealand.

IN CASE OF A FIRE
If the fire is at the pizza oven, turn the gas off at the cylinder. Smother the flames with a wet cloth, fire blanket or extinguish using a fire extinguisher. If you cannot safely reach the valve to turn off because the fire is at the cylinder, contact the fire brigade immediately.
Cool the gas cylinder by directing water from the garden hose to its centre. If gas is burning try to not extinguish it, having the gas burn off is better than letting the pressure build up and potentially lead to an explosion.
If your pizza oven is not maintained regularly this build up can lead to a potential fire. Please refer to the ‘Maintaining Your pizza oven’ section in this booklet for further information on how to clean and reduce the risk of a fire occurring.
If you have any questions concerning assembly or operation, consult your dealer or LPG Company.
VENTILATION
When locating your pizza oven it is important to ensure there is adequate ventilation for both the Pizza oven and cylinder. This is required not only for proper combustion, but also to prevent gas build up. Minimum 20mm ventilation and air-intake gaps are to be left at rear of the barbecue in fixed installations
Read these instructions for use carefully. Familiarise yourself with the appliance before connecting it to its gas cylinder.
IMPORTANT! PLEASE READ THESE INSTRUCTIONS CAREFULLY BEFORE USE! UNIVERSAL LPG GAS ONLY
Keep these instructions for future reference.
Installer/Assembler: leave these instructions with the consumer.
Read the following instruction carefully and be sure your pizza oven is properly installed,
assembled and cared for. Failure to follow these instructions may result in serious bodily injury and/or property damage.
The appliance and cylinder must be placed on level surface and must not be used whilst alight. Changing the gas cylinder shall be carried out away from any source of ignition. Recommend use of protective gloves when handling particularly hot components The parts sealed by the manufacturer, or his agent shall not be manipulated by the user
NOTE FOR CONSUMER: Retain for future Reference.
SAFETY ALERT KEY:
DANGER
Indicates a hazardous situation that, if not avoided, will result in death or serious injury
WARNING
Indicates a hazardous situation that, if not avoided, could result in death or serious injury.
CAUTION
Indicates a hazardous situation that, if not avoided, could result in minor or moderate injury
NOTICE
Indicates information considered important, but not hazard-related (e.g. messages related to property damage).
HAZARDOUS FIRE OR EXPLOSION MAY RESULT IF INSTRUCTIONS ARE IGNORED
It is the consumer’s responsibility to see that the appliance is properly assembled, installed, and taken care of. Failure to follow instructions in this manual could result in injury and/or property damage.
FOR YOUR SAFETY
If you smell gas:
- Shut off gas to the appliance.
- Extinguish any open flame
- If odour continues, immediately call your gas supplier or your local fire department.
PRECAUTIONS
- Leak test all connections after each tank refill.
- Never check for leaks with a match or open flame.
- Do not store or use gasoline or other flammable vapours and liquids in the vicinity of this
appliance. - The appliance must not be installed under or on any combustible material. Minimum clearance from any combustible materials of ALL sides of the appliance is 1000mm and 1000mm overhead.
READ All SAFE GUARDS AND INSTRUCTIONS THOROUGHLY!
YOUR SAFETY IS VERY IMPORTANT – FAILURE TO FOLLOW PROPER PROCEDURES
AND SAFEGUARDS MAY RESULT IN PROPERTY DAMAGE OR PERSONAL INJURY
WARNING
This appliance shall be used outdoors only.
- Carbon-monoxide hazard – using this appliance in an enclosed space may cause death.
- Only use in well – Ventilated areas.
- DO NOT use this appliance inside buildings, garages, caravans, tents, marine craft, cars, mobile homes or similar locations
WARNING
- DO NOT store or use gasoline or other flammable liquids or vapors in the vicinity of this or any other appliance
- An LPG cylinder not connected for use shall not be stored in the vicinity of this or any other appliance
GAS APPLIANCE SAFETY
REFERENCE TO THE REQUIREMENTS OF AS/NZS 5601 AND THE LOCAL AUTHORITY — — GAS OR ELECTRICITY, ETC.
DO NOT OPERATE THIS APPLIANCE UNATTENDED.
- The use of alcohol, prescription, or non-prescription drugs may impair the consumer’s ability to properly assemble or safely operate the appliance.
- Keep children and pets away from the appliance at all times.
HAVE A TYPE BC OR ABC FIRE EXTINGUISHER READILY AVAILABLE.
- In the event of an oil or grease fire do NOT attempt to extinguish with water. Immediately call the fire department. A Type BC or ABC fire extinguisher may, in some circumstances contain the fire.
DO NOT USE FOR PURPOSES OTHER THAN INTENDED:
- DO NOT modify this appliance.
- DO NOT use for commercial cooking.
- DO NOT use this appliance as a heater.
- DO NOT install this appliance in or on a boat.
- DO NOT attempt to attach this appliance to the self-contained LPG system of a camper trailer, recreational vehicle or motor home.
- This appliance must only be serviced by an authorized person.
- DO NOT install in or connect to the consumer piping or gas supply system of a boat or caravan.
- This appliance is not suitable for installation with a reticulated gas supply.
DO NOT USE THIS APPLIANCE IF IT IS LEAKING, DAMAGED OR DOES NOT OPERATE PROPERLY.
- DO NOT use this appliance if it has damaged or worn seals.
- If there is a leak on your appliance (smell of gas), immediately attempt to turn of the cylinder valve. Remove the appliance to a well-ventilated location away from any ignition source. Check for leaks using soapy water.
- DO NOT try to detect leaks using a flame.
THIS APPLIANCE IS TO BE OPERATED ON A HORIZONTAL SURFACE.
OUTDOOR USE ONLY
- F BURNER DOES NOT IGNITE, TURN OFF THE CONTROL KNOB AND GAS AND WAIT 5 MINUTES BEFORE TRYING TO LIGHT IT AGAIN.
- IF THE BURNER GOES OUT DURING OPERATION, FIRST TURN THE CONTROL KNOB OFF, THEN THE GAS CYLINDER OFF.
WARNING
- DO NOT SPRAY AEROSOLS IN THE VICINITY OF THIS APPLIANCE WHILE IT IS IN OPERATION.
- DO NOT USE OR STORE FLAMMABLE MATERIALS IN OR NEAR THIS APPLIANCE.
- DO NOT PLACE ARTICLES ON OR AGAINST THIS APPLIANCE.
- DO NOT MODIFY THIS APPLIANCE.
It may be hazardous to attempt to fit other types of gas containers. This appliance shall only be used with a Universal LPG cylinder certified to AS 2469.
WARNING
- The appliance is not to be used by persons (including children) with reduced physical, sensory or mental capabilities, or lack of experience and knowledge, unless they have been given supervision or instruction.
- DO NOT allow children to play with the appliance.
- During use the appliances becomes hot. DO NOT touch heating elements inside the appliance.
WARNING: Accessible parts may become hot during use. Young children should be kept away. - Steam cleaner is not to be used for the appliance.
- Danger of fire: DO NOT store items on the cooking surfaces.
CAUTION: The cooking process must be supervised. A short term cooking process must be supervised continuously.
WARNING: Unattended cooking with fat or oil can be dangerous and may result in a fire. - The appliance is not intended to be operated by means of external timer or separated remote-control system.
- If the supply cord is damaged, it must be replaced by the manufacturer, its service agent or similarly qualified persons in order to avoid a hazard.
USE AND CHARACTERISTICS
The pizza oven is safe and easy to use. The specified gases for use are LPG at 2.75kPa, Please ensure you only use your pizza oven at the correct pressure the appliance is designed for.
Adequate ventilation is vital for combustion and efficiency performance of the pizza oven. This
will ensure the safety of the user and other people in the vicinity of the area where the appliance
is being used. Never use the appliance in any enclosed covered area. Recommend to pre-heat the Pizza stone before cook pizza. DO NOT use the stone over an open flame
Avoid extreme temperature change to the stone. DO NOT place frozen foods on a hot stone The stone is fragile and can break if bumped or dropped The stone is very hot during use and stays hot for a long time after use.
DO NOT cool the stone with water when the stone is hot
After cleaning the stone with water, please dry the stone before use. This can be done in a conventional.
Children should not be left alone or unattended in an area where the oven is being used. Do not allow children to sit, stand or play around the oven at any time.
Never let clothing or other flammables come in contact with or too close to any burner or hot surface until it has cooled. The fabric could ignite, causing serious personal injury.
For personal safety, wear proper apparel. Loose fittings garments or sleeves should never be
worn while using the oven. Some synthetic fabrics are highly flammable and should not be worn while cooking.
Do not heat unopened food containers as a build-up of pressure may cause the containers to
burst. When lighting the burner, always pay close attention to what you are doing.
Do not use the oven to cook extremely fatty meats or other products which increase flare-up.
The temperature under the oven is high. Do not place the oven on a table with flammable table clothes, plastic or any other inflammable materials.
WARNING: When using the oven, do not touch the outer shell, stone baking board or immediate
surroundings as these areas become extremely hot and could cause burns When the wind speed is above 8km/h, don’t use pizza oven facing to the wind.
The appliance is designed for use outdoors only.
Do not modify the appliance.
Do not move the appliance while in use.
DO NOT wear long loose flowing clothing around the pizza oven. Long flowing hair is also easily ignited, especially by unexpected flare- ups.
DO NOT use corrosive materials to clean your pizza oven parts.
DO NOT obstruct any of the ventilation points of this pizza oven or the cylinder storage.
DO NOT apply a protective weather cover until the pizza oven has completely cooled down.
DO NOT SPRAY AEROSOLS IN THE VICINITY OF THIS APPLIANCE WHILE IT IS IN OPERATION.
DO NOT USE OR STORE FLAMMABLE MATERIALS IN OR NEAR THIS APPLIANCE.
DO NOT PLACE ARTICLES ON OR AGAINST THIS APPLIANCE.
This appliance is not intended to be installed in or on a boat. This appliance is not intended to be installed in or on a recreational vehicle.
Turn off the gas supply at the gas cylinder after use.
Any modification to the appliance may be dangerous and may cause injury or property damage.
Any unauthorised modification of the appliance will invalidate the guarantee on this appliance.
This appliance must be kept away from flammable materials during use.
The appliance must not have any overhead obstruction. E.g. trees, shrubs, lean to roofs. The appliance must be installed with a clearance of 1M around the appliance.
The appliance must not be used near flammable materials. (Petroleum based products, thinners or any other solid object that carries a flammable warning label.)
The use of this appliance in enclosed areas can be dangerous and is PROHIBITED.
INSTRUCTIONS FOR USE
Follow these instructions carefully to avoid seriously damaging your pizza oven and causing injury to yourself and to property.
- Assemble the pizza oven by following the assembly instructions carefully.
- Connect the gas hose to the pizza oven. Connect the regulator to the hose.
- Connect the regulator to the cylinder valve following the regulator instructions supplied with the regulator.
- Turn the control knobs to the ‘OFF’ position before turning on the gas supply to the appliance.
- Operate the regulator in accordance with the instructions supplied with the regulator.
LIGHTING THE PIZZA OVEN
- Connect the gas cylinder to the pizza oven following the instructions supplied with the regulator.
- Turn the control knob to the ‘OFF’ position.
- Turn ‘ON’ the gas supply at the cylinder or regulator switch following the regulator connection and operating instructions. Check the cylinder to regulator connection and hose to pizza oven hose inlet connection for leakage using soapy water. Any leakage will show as bubbles in the area of the leak. If leak is found, do not use the pizza oven. Consult your gas or pizza oven supplier for advice.
- To light the burner, push down the control knob and keep pressing whilst turning anticlockwise to the “Full rate” position and press the ignition button waiting for 4 seconds. This will light the burner. Check that the burner is alight. If the burner has not lit, repeat this process.
- If the burner has not lit after two attempts, turn ‘OFF’ the gas tap and wait 5 minutes before retrying the ignition sequence.
- When the burner has lit, the burner rate can be adjusted by push down and turn the knob anti-clockwise to any position between the full and low rate position.
- To turn ‘OFF’ the pizza oven, turn the cylinder valve handle or regulator switch to the ‘OFF’ position by following the regulator instructions. Once the burners have extinguished turn all
the control knobs to the ‘OFF’ position.
Warning: If the burner fails to ignite, turn the control knob off (clockwise) and also turn the cylinder valve off. Wait five minutes before attempting to relight with ignition sequence.

After use, close the gas supply by either turning ‘OFF’ the switch on the regulator or turning ‘OFF’ the cylinder valve.
In the event of light back whilst the appliance is in use. Turn the control, cylinder valve and regulator switch to the ‘OFF’ position. Wait 5 minutes before attempting to relight the appliance.
If the problem persists after relighting, consult your gas dealer, or the store where you purchased the pizza oven, or a qualified gas engineer for assistance or repair. Never try to rectify the problem yourself as this could result in serious injury and/or property damage.
Clean the appliance of excess fat, before storage, with a damp cloth using a mild detergent solution as the cleaning agent. Store the appliance in a clean dry environment. Do not store your gas cylinder indoors. Store in a well ventilated area away from direct sunlight.
REGULATOR & HOSE
Use only regulators and hose approved for LPG at the above pressures (See the technical information form). The life expectancy of the regulator is estimated as 10 years. It is recommended that the regulator is changed within 10 years of the date of manufacture.
The use of the wrong regulator or hose is unsafe; always check that you have the correct items before operating the appliance.
The hose used must conform to the relevant standard for the country of use. The length of the hose must be 1.5 meters (maximum). Worn or damaged hose must be replaced. Ensure that the hose is not obstructed, kinked, or in contact with any part of the pizza oven other than at its
connection.
The hose should comply with the standard AS 1869. The hose should not be twisted or kinked when attached to the gas cylinder. Flexible metal or rubber pipe, used to connect the appliance with the LPG cylinder must be changed within the prescribed intervals and according to the National Rules in force No part of the hose should touch any part of the appliance.
STORAGE OF THE APPLIANCE
Storage of an appliance indoors is only permissible if the cylinder is disconnected and removed from the appliance. When the appliance is not to be used for a period of time it should be stored in its original packaging in a dry dust free environment
CONNECT THE APPLIANCE
The gas connector of appliance is 5/8’’ – 18UNF The REGULATOR AND HOSE IS PRE-INSTALLED. To prevent the hose from pulling over 80% of total length, add a tie to fix the hose to the support foot. (as shown below)

GAS CYLINDERS
The gas cylinder should not be dropped or handled roughly! If the appliance is not in use, the cylinder must be disconnected. Replace the protective cap on the cylinder after disconnecting the cylinder from the appliance.
Cylinders must be stored outdoors in an upright position and out of the reach of children. The cylinder must never be stored where temperatures can reach over 50°C. Do not store the cylinder near flames, pilot lights or other sources of ignition. DO NOT SMOKE
Size: 18 x 12 in (45 x 30 cm), 20 lb (9 kg)
LPG cylinder must include collar to protect LPG cylinder valve
NOT INCLUDED: LPG cylinder

NCLUDED: AA battery 1pc

DANGER
ALL INSTRUCTIONS AND SAFEGUARDS MUST BE FOLLOWED TO PREVENT FIRE, PROPERTY DAMAGE, OR PERSONAL INJURY.
STORAGE AND CYLINDER EXCHANGE, DISCONNECT THE CYLINDER ONLY. DO NOT DISCONNECT HOSE FROM APPLIANCE.
Please note that the hose is already fitted to the valve on the side of the control panel of the appliance. You DO NOT have to adjust this connection but should leak test this once the hose and regulator are connected to the gas cylinder. DO NOT DISCONNECT HOSE FROM VALVE.
GAS AND REGULATOR INFORMATION
- This appliance is designed for universal (LPG) gas.
- Gas bottles with a LCC27 low pressure connection are to be used with this appliance.
- Suitable regulators must have an outlet pressure of 2.75KPa. You must have the proper regulator and bottle in order for the appliance to operate safely and efficiently. ensure that a 100% universal (LPG) refillable gas cylinder currently certified to Australian Standard AS2030.1:2009 is used. DO NOT use disposable gas cylinders.
- Please note the hose and regulator supplied with this appliance are of an approved type and are specifically designed for use with your appliance.
CONNECTING THE HOSE AND REGULATOR TO THE LPG CYLINDER
- Only use the hose assembly supplied with this appliance for direct connection to the cylinder. DO NOT USE ADAPTORS. DO NOT use any other hose assembly. Check the gas hose for damage or signs of abrasion before each use. only use AGA certified gas hose and the hose length is 500mm +/-15mm to avoid the regulator touching the floor.
- Keep the hose clear of sharp edges and hot surfaces.
- Avoid twisting or kinking the flexible hose.
- If damaged, DO NOT use the hose and replace it immediately.
CONNECT THE LPG CYLINDER
STEP 1 Turn the control knobs to OFF.

STEP 2 ensure that the LPG cylinder is OFF by turning the hand wheel clockwise to a full stop.

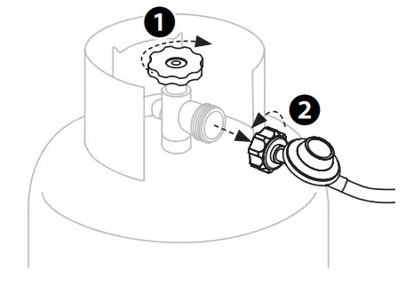
STEP 3 Hold the regulator in one hand and insert the nipple into the gas bottle outlet. Be sure the nipple is centered in the outlet. DO NOT cross thread the connection. Hand-tighten the coupling nut in a clockwise direction. (DO NOT use tools to connect.) If connection cannot be completed, disconnect regulator and repeat this step.

STEP 4 Secure the LPG cylinder to the appliance by hanging it on the LPG hook so that it nestles against the LPG support.
DISCONNECT THE LPG CYLINDER
STEP 01
❶ Ensure that the LPG cylinder is OFF by turning the hand wheel clockwise to a full stop.
❷ Turn the coupling nut Counter-clockwise by hand to remove the regulator.
(DO NOT use tools to disconnect.)
STEP 02 Wait for the flame to go out, then turn the appliance control knobs to OFF.

LEAK TESTING
BE SURE TO CHECK FOR LEAKS AT ALL CONNECTIONS
LCC27 valve + LCC27 appliance connection
STEP 1 Open the gas control valve on the cylinder.
STEP 2 Check for leaks by brushing a solution 1/2 water and 1/2 soap over all gas system joints, including all valve connections, hose connections and regulator connections. DO NOT USE AN
OPEN FLAME to test for leaks at anytime. If bubbles form over any of the joints, there is a leak.
STEP 3 Turn off the gas supply and re-tighten all joints.
CHECK FOR LEAKS ANNUALLY OR WHENEVER THE GAS CYLINDER IS REFILLED.

STORING LPG CYLINDERS
DO NOT store a spare LPG cylinder under or near this appliance.
DO NOT fill an LPG cylinder beyond 80% full.
If the information above is not followed exactly, a fire causing death or serious injury may occur. LPG cylinders must be stored outdoors and out of the reach of children.
DO NOT store an LPG cylinder inside a building, garage, or any other enclosed area.
LPG cylinder shall be changed in a well-ventilated location, preferably away outside away from people and any sources of ignition, such as naked flames, pilot flames, electric heaters/ equipment.
FILLING & EXCHANGE
- Use only those reputable exchange companies that inspect, precision fill, test and certify their cylinders. LPG dealer must purge new cylinder before filling.
- Volume of propane in cylinder will vary by temperature.
To check propane level:
- Weigh your LPG cylinder on a scale and subtract the tare weight from your LPG cylinder’s weight.
- Check the LPG cylinder gauge. (A gauge can be purchased from your local hardware store.)
- Pour warm water along the side of your LPG cylinder. The cylinder will feel cooler below the propane level.
WARNING
A frosty regulator indicates gas overfill. Immediately close LPG cylinder valve and call local LPG dealer for assistance.
DO NOT release liquid petroleum gas (LPG) into the atmosphere.
To remove gas from LPG cylinder, contact a certified LPG dealer or local fire department for assistance.
GAS LEAK TEST
BEFORE USE PLEASE CHECK FOR LEAKAGE!
Never check for leaks with a naked flame, always use a soapy water solution.
The gas connections on your pizza oven were leak tested at the factory before shipment, however a complete leak test must be done during assembly.
This leak test must also be conducted every time you connect the regulator to the gas cylinder for safe operation.
NOTE:
- Prior to starting this test please ensure the burner control knob and gas cylinder are both OFF.
- NEVER perform a leak test with a naked flame
Step 1
Make a soap solution with one part water and one part liquid detergent

Step 2
Turn on the gas cylinder (Ensuring the burner knob is still in the OFF position).

Step 3
Apply the soap solution to all the gas connections using a soft bristle brush or spray bottle.

If you smell gas and/or soap bubbles start to appear from a gas connection it is a sign that a leak is present. If there is a leak, turn off your gas supply and tighten the connection. Repeat the test to ensure that the leak is fixed.
Bubble growing indicates a leak is presesnt

WARNING
If after repeating the test with tightened connections a leak is still present, DO NOT use the pizza oven and contact Support to assist in replacing any faulty components.
If you find that the leak is coming from anywhere on the actual cylinder, take the cylinder outdoors away from any sources of ignition. Contact the cylinder exchange provider, or local gas authority, for safe disposal.
CARE & MAINTENANCE
CLEANING AND CARE
CAUTION: All cleaning and maintenance should be carried out when the pizza oven is cool and with the fuel supply turned OFF at the gas cylinder.
Recommend to clean and maintenance the appliance at least once a month
CLEANING
“Burning off” the pizza oven after every use (for approx 15 minutes) will keep excessive food residue to a minimum.
OUTSIDE SURFACE
Use mild detergent or baking soda and hot water solution. Non-abrasive scouring powder can be used on stubborn stains, then rinse with water.
PLASTIC SURFACES
Wash with a soft cloth and hot soapy water solution. Rinse with water. Do not use abrasive cleaners, degreasers or a concentrated barbecue cleaner on plastic parts.
PIZZA STONE
Use a mild soapy water solution. Non-abrasive scouring powder can be used on stubborn stains, then rinse with water.
BURNER
Turn the gas OFF at the control knob and disconnect the cylinder. Remove cooling grate.
Clean the burner with a soft brush or blow clean with compressed air and wipe with a cloth.
Clean any clogged ports with a pipe cleaner or stiff wire (such as an opened paper clip).
Inspect burner for any damage (cracks or holes). If damage is found, replace with a new burner. Reinstall the burner, check to ensure that the gas valve orifices are correctly positioned and secured inside the burner inlet (venturi).
IGNITION BATTERY
This pizza oven ignition is powered by 1 x AA Battery. To replace this battery when required, unscrew the ignition cover to replace the battery and ensure the new battery is put in right position, then screw the ignition cover.
In some cases your pizza oven will light back because of an insect crawling inside the burner venturi or a spider spinning its web inside the burner. This can be rectified by using a bottle brush inserted through the burner venturi and pushing it into the burner over the burner length. If condition persists consult your gas dealer.

SERVICING
Your pizza oven should be serviced annually by a competent registered person
EXPLODED PRODUCT DIAGRAM

PART LIST
| PART | NAME | QTY |
| 1 | PIZZA OVEN (WITH REGULATOR & HOSE) | 1 |
| 2 | PIZZA STONE | 1 |
ASSEMBLY INSTRUCTIONS
Step 1: put the pizza stone into the pizza oven

Step 2: put the battery into the battery box, make sure the battery is installed in correct place.

TROUBLE SHOOTING
| Problem | SOLUTION |
| Burner will not ignite | If ignition does not occur in 5 seconds: STEP 1 Turn the burner controls OFF. STEP 2 Wait 5 minutes. STEP 3 Repeat the lighting procedure. If this does not work, to determine the cause, please try to ignite your appliance with a match. MATCH LIGHTING INSTRUCTIONS Before beginning, check for gas leaks. (Please reference the leaktest Instructions in using your pizza oven.) STEP 1 Turn control knob(s) to OFF position. STEP 2 light a match (or long lighter) no shorter than 11 inches long. Place the flame on the right or left side of the burner. STEP 3 Push in and turn the control knob to the HIGH position. ensure burner lights and stays lit. |
| Dead / improperly installed battery. | Replace with new battery.
|
| Ignitor wire misaligned. | Ensure that the ignition needle is positioned 3-7mm away from the burner tube, and above a burner hole.![]() |
| Damage to the ignition system. | Contact customer service for replacement parts. |
| Burner flames are yellow or irregular
|
|
| Something is blocking the venturi in the burner tube.
| Clean the burner assembly to remove the obstruction. |
| Obstructions in the burner, gas jets, or fuel rail. | Clean the burner, jets, and gas hose. |
| LPG cylinder is empty or low. | Refill or replace the LPG cylinder. |
| The regulator’s flow limiting device was triggered. | Reset the safety system: STEP 1 Turn OFF the appliance, close the LPG cylinder valve, and disconnect the regulator from the LPG cylinder. |
| Regulator stuck in safety position. | Contact customer service for replacement parts. |
WARRANTY
Thank you for purchasing one of our quality COZZE PIZZA OVENS.
YOUR PIZZA OVEN IS COVERED AGAINST DEFECTS FOR A PERIOD OF 2 YEARS FOR PARTS AND LABOUR, REPAIR OR REPLACEMENT.
THIS WARRANTY EXCLUDES SURFACE RUST AND DAMAGE CAUSED BY ABUSE OR NEGLECT.
CONDITIONS OF THE WARRANTY
- The PIZZA OVEN must be operated and maintained in accordance with the instructions supplied in the operating manual.
- Any repair does not extend the warranty period.
- Any parts other than original parts will void this warranty.
THIS WARRANTY IS GIVEN BY:
Mayo Hardware Pty Ltd
ABN 73 000 032 806
4 Secombe Place
Moorebank
NSW 2170
Australia
www.mayohardware.com.au
Phone (Aus) 1300 360 211
Phone (NZ) 09 415 6240
Email: [email protected]
WARRANTY
MAKING A CLAIM
Any claim under this warranty must be made within 2 years of the date of purchase of the product.
To make a claim under warranty, contact Mayo Hardware as per the contact details provided. Mayo Hardware Pty Ltd bears reasonable, direct, expenses of claiming under warranty. You may submit details and proof to Mayo Hardware Pty Ltd for consideration. The warranty covers manufacturer defects in materials and workmanship under normal use. Refer to care and use instructions for correct cleaning and maintenance advice.
This warranty is provided in addition to other rights and remedies you may have under law: our goods come with guarantees which cannot be excluded under the Australian Consumer Law. You are entitled to replacement or refund for a major failure and to compensation for other reasonably foreseeable loss or damage. You are also entitled to have the goods repaired or replaced if the goods fail to be of acceptable quality and the failure does not amount to a major failure.
The warranty excludes damage resulting from product misuse or product neglect. The warranty covers domestic use only and does not apply to commercial applications.
WHAT IS NOT COVERED
- Removal or re-location costs.
- Lack of maintenance, abuse, neglect, misuse, accidental or improper installation of this appliance.
- Scratches, dents, surface rust, discoloration caused by heat, abrasive chemical cleaners or chipping or porcelain enamel parts.
- Damage caused by exposure to the elements such as weather, hail, insects, grease and fat fires.
- Cleaning and wear and tear.
- Commercial use of this product.
- Ignition battery
- Unauthorized modifications or repairs during the warranty period.
FOR TECHNICAL ASSISTANCE
Refer to the troubleshooting section of this operating manual or contact the Mayo Hardware through the below details:
Mayo Hardware Pty Ltd
Phone (Aus): 1300 360 211
Phone (NZ): 09 415 6240
Email: [email protected]
FIND MORE INSPIRATION ONLINE AT COZZE-PIZZA.COM

CONTACT INFORMATION
For spare parts, service and warranty queries, please contact:
Mayo Hardware Pty Ltd through the details below.
Phone (Aus): 1300 360 211
Phone (NZ): 09 415 6240
Email: [email protected]























