
HDL410
QUICK START GUIDE
PACKAGE CONTENTS
A 
A 
B
C
D
E
E
F
G
H
YOU WILL NEED




#10 pan head anchors
or
M5 pan head anchors

CAT5e

#10 pan head screws
or
M5 pan head screws


| X | Y |
| 0″ – 2″ 2″ – 4″ 4″ – 8″ | 3″ |
0 – 4 cm | 6 cm |










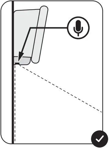
COVERAGE









IMPORTANT
Ensure that all ventilation holes are free and clear of obstructions







[email protected]
support.nureva.com

- Nureva Ethernet cable
- Power cable
- Ethernet
- Network connection
- USB – A
- USB – B
- In-room computer

REMOTE CONTROL

- End Call
- Mute
- Adjust LED Brightness
- Volume
- Answer Call
© 2022 Nureva Inc. All rights reserved. Nureva and the Nureva logo are trademarks or registered trademarks of Nureva Inc. in the United States, Canada and other countries.
101961-03

















