SALTER EK4923 Wood Pellet 12” Outdoor Portable Pizza Oven User Manual

Please retain instructions for future reference.
Safety Instructions
This appliance is not a toy. Do not use the appliance for anything other than its intended use. This appliance is intended for domestic use only. It should not be used for commercial purposes. Do not use any accessories other than those supplied. Do not move the appliance whilst it is in use. Do not touch any sections of the appliance that may become hot or the heating components of the appliance, as this could cause injury. Do not use sharp or abrasive items with this appliance; use the accessories provided. When using the fuel box add the pellets gradually to reach optimum temperature. Adding too many pellets will enlarge the flame and risk damage to people or the appliance. Take care as flames may escape the metal enclosure from the back, through the door or via the chimney. There is a risk of burns when using this appliance. Keep away from the openings. Toxic fumes can accumulate and may cause asphyxiation. Do not touch the metal parts of the appliance whilst in operation. Only touch the plastic handles. Be aware of hazards such as dry leaves, decking and other combustible materials that may be in proximity to the appliance as they may present a fire hazard. Do not leave any hazardous objects such as lighters or fuel next to the appliance. Keep electrical cords away from the appliance. Do not leave this appliance unattended while lit. Do not attempt to remove parts or move the appliance whilst it is hot. Always ensure that the appliance has cooled fully after use and check that no glowing embers remain before moving, performing any cleaning or maintenance or storing away. When in use the approximate temperature of the pizza oven ranges from 120 °C to 550 °C. This appliance should never be used as a heater. This appliance is designed for outdoor use only. Never use the appliance inside a building, garage or enclosed area. Check local laws and regulations which may specify the distance required between outdoor cookers and structures, or that may limit outdoor flames of any type during drought or hazard periods. Do not install or use this appliance in or on boats or recreational vehicles. Do not use this appliance in high winds. Make sure the appliance is protected from draughts and water. Improper installation, adjustment, alteration, service or maintenance of this appliance may cause injury or damage to property. Do not use this appliance unless it is assembled correctly and all parts are secure. This appliance should be inspected on a regular basis. This appliance is to be used by responsible adults only. Always use the appliance on a stable, heat-resistant surface at a height that is comfortable for the user. This appliance is intended for domestic use only. It should not be used for commercial purposes. The appliance must be placed at least 122 cm away in every direction from buildings, walls, furniture, or any other flammable materials. Make sure there are no overhead obstructions when using this appliance. The ventilation openings must not be obstructed.
CAUTION: Hot surface – do not touch any sections or surfaces of the appliance that may become hot or the heating components of the appliance.
WARNING: Keep the appliance away from flammable materials. Keep children and pets away from the appliance at all times. This barbecue will become very hot, do not move it during operation. Do not use indoors! Do not use spirit or petrol for lighting or re-lighting! Use only firelighters complying to EN 1860-3.
Care and Maintenance
Before attempting any cleaning or maintenance, allow the pizza oven to cool fully.
STEP 1: Wipe the pizza oven exterior with a soft, damp cloth and dry thoroughly. Never use harsh or abrasive cleaning detergents or scourers to clean the main unit or its accessories, as this could cause damage.
STEP 2: The pizza oven interior may have the appearance of peeling paint. This is baked-on grease build-up which has turned to carbon and is flaking off. Remove residue using a brush or cleaning pad. If the carbon is difficult to remove, a mild abrasive cloth can be used. Clean the pizza oven interior with a soft, damp cloth and dry thoroughly.
STEP 3: Clean the pizza stone with warm, soapy water using a non-abrasive cloth, then rinse with warm water.
WARNING: Never use oven or barbecue cleaner to clean the pizza oven.
DESCRIPTION OF PARTS

- Wood Pellet 12″ Pizza Oven main unit
- Legs
- Pellet channel lid
- Pellet channel
- Pellet channel opening bar
- Chimney
- Chimney cowl
- Pizza oven door
- Door handle
- Fuel box
- Fuel box handle
- Fuel box grate
- Wood pellet spoon
- Pizza stone
- Pizza paddle
- Pizza paddle handle
Instructions for Use
Before First Use
Clean the pizza oven and accessories following the instructions outlined in the section entitled ‘Care and Maintenance’.
Assembling the Pizza Oven
STEP 1: Turn the pizza oven main unit upside down and open the legs.
STEP 2: Turn the pizza oven back over and place on a stable, heat resistant surface. Insert the pellet channel into the square opening on top of the pizza oven. Insert 2 screws and place a nut on each. Hold the nut with a pair of pliers (not included) and tighten the screw using a cross head screwdriver (not included)
STEP 3: Place the chimney cowl on top of the chimney and insert 1 screw. Place 1 nut onto the screw on the inside of the chimney. Tighten using pliers and a cross head screwdriver
STEP 4: Insert the chimney into the round opening on top of the pizza oven.
STEP 5: Install the door handle onto the door using 2 screws and 2 nuts. Tighten using pliers and a cross head screwdriver.
STEP 6: Install the fuel box handle using 2 screws and 2 nuts. Tighten using pliers and a cross head screwdriver. Slot the fuel box grate into the fuel box.
STEP 7: Assemble the pizza paddle using 3 screws and 3 nuts. Tighten using pliers and cross head screwdriver.
STEP 8: Put the pizza stone inside the pizza oven.
STEP 9: Place the pizza oven door under the 2 tabs on the front of the main unit and push into place until secure.
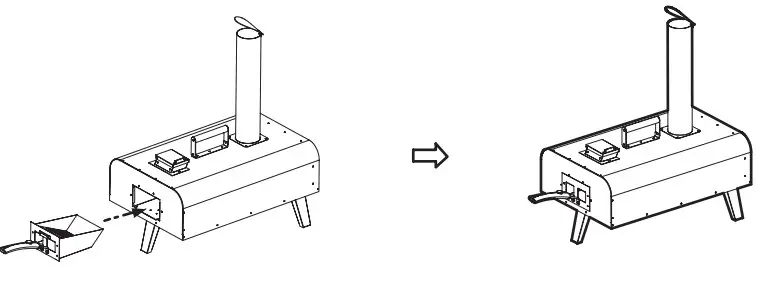
STEP 10: Insert the fuel box into the back of the pizza oven.
Using and Lighting Wood Pellets
Only use 100 % hardwood pellets.
STEP 1: Check that the pizza oven door is in place. Remove the fuel box from the back of the unit. Using the wood pellet spoon, fill the fuel box with pellets. This should take approx. 3 spoonfuls. Replace the fuel box.
STEP 2: Light the pellets using either a fire lighter or a blowtorch.
WARNING: Never use spirits or petrol for lighting or relighting. Only use a blowtorch or fire lighters complying to EN 1860-3.
STEP 3: After 5 minutes, or once the pellets are lit, open the pellet channel lid using the pellet channel opening bar. Slide the pellet channel opening bar into the slot on top of the pellet channel lid and lift. Fill the pellet channel with pellets until they reach the bottom.
NOTE: Make sure the pellets in the fuel box are lit before adding more pellets to the pellet channel. Keep the pellet channel lid open until the pellets are lit. There will be some smoke when the pellets are added. After a few minutes this will subside.
STEP 4: Wait for the pellet level to drop. Add a small amount of pellets at a time.
NOTE: Adding too many pellets at once will prevent the pizza oven from reaching optimum temperature.
EXINGUISHING WOOD PALLETS
Allow the fire to burn down naturally and leave the pizza oven to cool. Once cooled, remove the fuel box and empty the contents into a steel bucket (not included) filled with cold water. Cooking Pizzas
NOTE. Pizzas can only be cooked in under 60 seconds if the pizza oven has reached optimum temperature. This is approx. 350-400 °C.
STEP 1: Preheat your oven following the steps in the section entitled ‘Using and Lighting Wood Pellets’. STEP 2: Dust the top of the pizza paddle with flour. Place the pizza base onto the pizza paddle and add the desired toppings.
NOTE: Both homemade and store-bought pizza dough can be used.
STEP 3: Carefully remove the pizza oven door using the door handle. Slide the pizza from the pizza paddle onto the pizza stone. if the pizza is stuck on the pizza paddle, lift the dough at one side and gently blow underneath it. This will help to release the pizza. Once the pizza is in the pizza oven, carefully slide the pizza oven door back into place.
NOTE: The pizza oven performs best with the front door in place.
STEP 4: After approx. 30 seconds, carefully remove the pizza oven door and slide the pizza paddle under the pizza. Turn the pizza 180 °, then replace the door and cook for approx. 30 seconds.
STEP 5: Before cooking another pizza, top up the wood pellets and wait approx. 1 minute for the pizza oven to reach optimum temperature.
WARNING: Do not operate the oven for extended periods without the front door in place. Only remove the door to add, remove or check on food items. Replace the door as soon as possible to prevent fire from escaping out of the back of the pizza oven.
SPECIFICATION
PRODUCT CODE: EK 4923
The crossed out wheelie bin symbol on this item indicates that this appliance needs to be disposed of in an environmentally friendly way when it becomes of no further use or has worn out. Contact your local authority for details of where to take the item for recycling.
UP Global Sourcing UK Ltd.,
UK. Manchester OL9 ODD.
Germany. 51149 Köln.
If this product does not reach you in an acceptable condition please contact our Customer Services Department at www.salterhousewares.co.uk
Please have your delivery note to hand as details from it will be required. If you wish to return this product, please return it to the retailer from where it was purchased with your receipt (subject to their terms and conditions).
Guarantee
All products purchased as new carry a manufacturer’s guarantee; the time period of the guarantee will vary dependent upon the product. Where reasonable proof of purchase can be provided, Salter will provide a standard 12 month guarantee with the retailer from the date of purchase. This is only applicable when products have been used as instructed for their intended, domestic use. Any misuse or dismantling of products will invalidate any guarantee. Under the guarantee, we undertake to repair or replace free of any charge any parts found to be defective. In the event that we cannot provide an exact replacement, a similar product will be offered or the cost refunded. Any damages from daily wear and tear are not covered by this guarantee, nor are consumables such as plugs, fuses etc. Please note that the above terms and conditions may be updated from time to time and we therefore recommend that you check these each time you revisit the website. Nothing in this guarantee or in the instructions relating to this product excludes, restricts or otherwise affects your statutory rights.
To be eligible for the extended guarantee, go to guarantee.upgs.com/salter and register your product within 30 days of purchase. Find us on

















