

PIZZA OVEN USER MANUAL
For Model PELⅡ & Model PELⅢ
| Size(W/ D/ H): Oven weight: Oven floor area: Max oven temp: Heat capacity: | 84*42*82.5 CM/33*16.5*32.4 INCH 15.3 KG/33.8 LBS 0.21 m2 /2.26 ft 2 370°C /12506°F 13000 BTU/hr |
Important: Retain these instructions for future use.
Safety Legal Disclaimer
All instructions and guidelines given in this manual must be followed without exception.
- Pizzello is designed for outdoor use only. Must always be placed outdoors, away from structures, and never inside a building or a garage or in proximity to an enclosed area. Place your OVEN on a sturdy, level, stable and non-flammable surface and keep it clear and free from flammable or combustible materials, gasoline, and other flammable vapors and liquids.
- Be aware of any local laws or regulations that may specify a required distance between outdoor cookers and any structures, or that may limit outdoor flame of any type during drought or hazard periods.
- Do not install or use your Pizzello in or on boats or recreational vehicles.
- Do not use your Pizzello in high winds.
- Your Pizzello is not intended to, and should never be used as a heater.
- Toxic fumes can accumulate and may cause asphyxiation.
- Flames can blow outside of the metal enclosure: a. At the back where the fire is; b.From the top of the hatch when the lid is opened; c.From the front of the oven when you open the door; ord. from the top of the chimney.
- Please keep away from Pizzello’s openings and warn others around you.
- Improper installation, adjustment, alteration, service, or maintenance of your Pizzello may cause injury or property damage. Therefore, do not use your Pizzello unless it is completely assembled and all parts are securely fastened and tightened.
- Your Pizzello should be inspected on a regular basis.
- When using the pellet burner: The length of pellets used can greatly affect the temperature of your Pizzello. The recommended pellet length should be no longer than 1.25” (3cm). Longer pellets have a slower feed rate which can cause your Pizzello to burn colder. When changing or refilling pellets be aware of the average length and adjust your Pizzello setting accordingly. Only use pellets intended for use in cooking.
- When using the charcoal/wood burner: Add the kindling gradually to reach an optimum temperature. Adding too much kindling will enlarge the fire, risking damage to you or your Pizzello.
- When using the gas burner: If the flame goes out, turn off the gas supply, remove the door and wait 5 minutes before relighting.
- When using your Pizzello, there is a risk for your hands to be burned. Protective heat-resistant gloves should be worn at all times to avoid burns and you should never set hot items on or near combustible surfaces. DO NOT touch any metal parts when your Pizzello is operating. Only touch the wooden handles to open the door and lift the fuel hatch.
- Never leave your Pizzello unattended. Do not leave your Pizzello unattended with the lid open while lit. Be aware of hazards (dry leaves, decking, and other combustible materials) that may be in proximity to the Pizzello while it is in use as they may present a fire hazard if any sparks are allowed to come into contact.
- Keep all electrical cords away from your Pizzello.
- Pizzello is to be used by responsible adults only.
- Keep children, pets, and combustible items away from your Pizzello at all times.
- DO NOT attempt to remove any parts or move your Pizzello when it is hot or while cooking.
- DO NOT leave any hazardous objects such as lighters or barbecue lighting fluid next to your Pizzello. Indeed, Pizzello radiates heat in all directions
IF you order the PELⅡ, you will get only a pizza oven with a pallet burner
IF you order the PEL Ⅲ, you will get a pizza oven with a pallet burner and gas burner


| Ref | Part | Quantity | Ref | Part | Quantity |
| H | Chimney | 1 | G | Body | 1 |
| I | Chimney Cap | 1 | D | Stone Tile | 1 |
| E&B | Handle | 3 | F | Door | 1 |
| A | Hopper | 1 | J | Isolation plate | 1 |
| C | Wood box | 1 | L | M5 Bolt | 13 |
| K | Cover | 1 | Q | M5 Shoulder screw | 1 |
| P | Window cover | 1 | O | Shovel | 1 |
Step 1 Attach the window cover and wooden handle to the door.

Step 2 Attach the wooden handles onto the hopper and wood box.

Step 3 Attach the isolation plate to the body ( the narrow bending side towards the back face of the body).

Step 4 Attach the hopper to the body and the wood box to the body too.

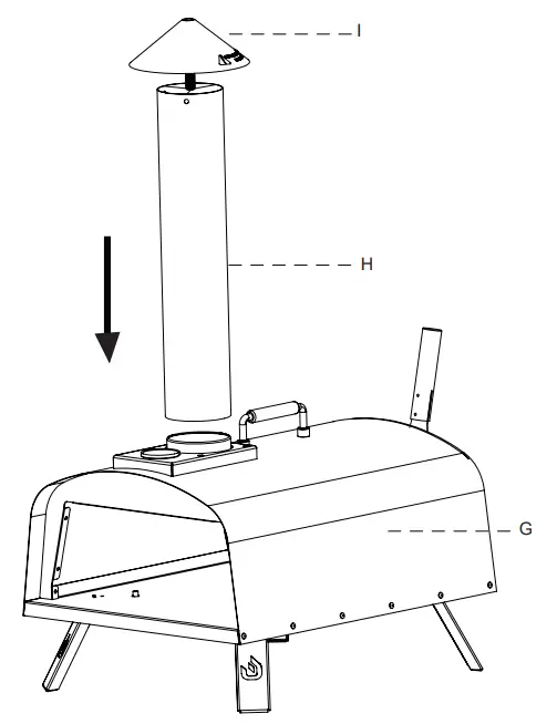
Step 5 Attach the chimney cap onto the chimney.
TIPS:
How to remove the chimney? Shake the chimney from side to side and pull it up

Step 6 Put pizza stone in and door on.

READY FOR PELLET PIZZA USE NOW!
FOR GAS PIZZA OVEN
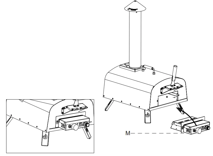
Step A Remove the isolation plate and wood box for gas-type use.

Step B Attach the gas mold onto the back of the body with the 2 remaining screws at the back of the body.

BEFORE FIRST USE
- Dampen a sponge with lukewarm water. Wring it out thoroughly and wipe the pizza stone clean once to remove production residues.
- Clean the inside of the oven with water and a mild detergent to remove any production residues.
- The oven must be burned-in before making your first pizza. Note that the fuel should be glowing for at least 30 minutes.
USING THE PIZZA OVEN
Always wear fireproof gloves while firing the pizza oven. WOOD FIRING
- Remove the firebox and fill it with fitting logs. Put a grill lighter in the middle (Warning! Don’t use liquid starters like spirit or petrol), cover it with a few sticks or thin firing woods, and ignite it.
- Push the firebox into the pizza oven and wait until the wood burns evenly.
- Place 1-2 logs over the filling shaft and wait until the wood has burnt through, and is covered with a layer of ash, and no more smoke escapes from the chimney.
- When the oven thermometer shows around 400 °C, open the door and push the pizza to the center of the stone. Close the door.
- Rotate the pizza by 180° once after 45 seconds.
- You can observe the baking process of your pizza through the damper. Do not open the door during the baking process – otherwise valuable heat is lost.
- After 1to 5 minutes, depending on the thickness of the pizza dough, your pizza is ready.
USING THE PIZZA OVEN
- Put the coal, briquettes, or pellets with the grill lighter into the firebox. As soon as it starts to burn, push the box into the pizza oven.
- Pile up more coal, briquettes, or pellets via the chute.
- Wait until the coal or briquettes are completely burnt through, covered with a layer of ash, and no more smoke escapes from the chimney.
- When the oven thermometer shows around 400 °C, open the door and push the pizza to the center of the stone. Close the door.
- Rotate the pizza by 180° once after 45 seconds.
- You can observe the baking process of your pizza through the damper.
- After 1 to 5 minutes, depending on the thickness of the pizza dough, your pizza is ready. The process will work even faster when you burn the coal or briquettes in a separate igniting place and fill the pure ember into the firebox.
TIP:
You can also light your combustible with a blowpipe. In order to do that, fill your firebox with wood, coal, briquettes, or pellets. Put the box into the back of the oven and hold the blowpipe from the outside in the box.
REFILLING OF COMBUSTIBLES
Always use fireproof gloves when filling and emptying the firebox.
Thanks to its double stainless steel cover with a wool filling, the inside of the pizza oven will be kept hot constantly for a very long time. If you notice the temperature is dropping, pile up a new charge of combustibles (wood, coal, briquettes, or pellets) into the firebox via the filling chute. Until you start baking the next pizza, you must wait until the combustibles have burnt through corno more smoke is rising from the chimney.
SWITCHING OFF THE PIZZA OVEN
- Close the door and let the oven burn out after use. This process can take up to 4 hours.
- For quicker storage of the oven put on fireproof gloves, remove the firebox, and put the contents into a bucket filled with water. Open the door of the pizza oven and allow the oven to cool completely for about 30 minutes.
CLEANING THE OVEN
- Allow the oven to cool down completely.
- Empty the firebox after every use and sweep out the ashes completely with a brush.
- Both the interior and exterior can be cleaned with water and a mild detergent.
- If the pizza oven is used regularly, the chimney should be removed and washed out every 4 weeks, to rinse off the soot layer.
CLEANING THE PIZZA STONE
- Remove the pizza stone from the pizza oven and carefully scrape off resin dues from the stone with a hob scraper or a sharp knife.
- The pizza stone is an object of utility and over time, it will get stains from burnt-in ingredients. This is completely usual and will not interfere with the functioning of the stone. If you want to wash the stone with water, do not use detergent. After washing it with water, let the stone dry in an oven for at least 3 hours at 80°C. You can also leave it to air-dry in a warm spot for 24 hours.
STORING PIZZA OVEN
- The pizza oven comes with 4 foldable stainless steel feet. The oven can be stored and transported more easily with the feet folded in. If you don’t use the oven for a longer time and if you want to save space, you can also remove the chimney.
- To prevent rusting and weathering, the pizza oven should always be stop red in a dry environment after it has completely cooled down. Cover the oven with a weather-resistant tarpaulin or store it in the cellar or garden house.
| Problem | Solution |
| The fire blows out frequently. | Make sure that you don’t add too many combustibles at once via the shaft. |
| The oven won’t get hot. | 1. Strong wind can impair heating performance. Place the pizza oven in a wind-protected location. 2. The fire is not burning properly. 3. The thermometer is broken. Replace it. |
| The pizza turns black on one side | Rotate your pizza by 180° after 45 seconds. The side, which is near the firebox, will receive more radiant heat than the one facing the door. To ensure evenly baking, turn the pizza. |
USE GAS BURNER
LIGHTING
- Open the battery cap (2)and put it in the battery. Screw the battery cap on clockwise.
- Check all gas connections for gas leaks before starting your oven.
- Do not lean over the oven when lighting. Keep your face and body at least 50 cm/19.6 inches far from the oven door.
- When lighting the oven, the oven door must be open.
- The burner control knob must be in the off position before turning on the LGP cylinder valve.


To ignite the pilot light, press and rotate the knob together with the piezo ignition button that discharges a spark to ignite the pilot light. Lighting the pilot light for the first time can be difficult as it takes time for the air in the connection tube to be expelled and gas to flow out.
SAFETY INFORMATION

Gas regulator
This is a clockwise threaded gas fitting. Ensure the tank is fully turned off and screw the regulator onto the gas tank valve fitting until tight.
PRECAUTIONS
Should you need to change the gas cylinder, ensure that the cylinder valve is closed, the appliance is switched off and there are no sources of ignition (cigarettes, open flames, sparks, etc) nearby before proceeding.
Inspect the gas hose to ensure it is free of any twisting or tension. The hose should hang freely with no bends, folds, or kinks that could obstruct the free flow of gas. Apart from the connection point, no part of the hose should touch any hot Gas Pizza Oven parts.
Always inspect the hose for cuts, cracks, or excessive wear before use. If the hose is damaged, it must be replaced with a hose suitable for use with LPG and which meets the national standards for the country of use. The length of the hose shall not exceed 1,5m.
CONNECTING THE GAS CYLINDER TO THE APPLIANCE
This appliance is only suitable for use with LPG. This appliance is fitted with a 3.4kPa low-pressure regulator.
BEFORE USE PLEASE CHECK FOR LEAKS
- Never check for leaks with a naked flame, always use a soapy water solution.
- The hose should never be twisted and knotted and should not exceed 1.5m.
In order to connect:
- Ensure the control knob is in the “OFF” position before connecting it to a gas supply.
- Connect the oven inlet, located in the lower-left quarter of the backplate, to the gas regulator outlet.
- Ensure the hose is correctly placed and is not being stretched, tied, or bent.
- Ensure the hose is not close to any heat sources, especially that of the Gas Pizza Oven back.
- Connect the regulator to the gas cylinder and tighten it by hand till gas-tight.
In order to disassemble the regulator and connecting hose:
- After use turns the gas cylinder valve ‘OFF’ and waits for the flame to extinguish.
- Turn the Gas Pizza Oven off.
- Remove the connecting regulator from the gas cylinder.
FOR YOUR SAFETY IF YOU SMELL GAS
- Turn off the gas supply at the bottle.
- Extinguish all naked flames.
- DO NOT operate any electrical appliances.
- Check for leaks (see LEAK TEST)
- If the odor persists, contact your dealer or local gas supplier immediately.
LEAK TEST
DO NOT attempt to use the Gas Pizza Oven if a leak is present. NEVER test for leaks with an open flame.
The leak test must be carried out in a well-ventilated area, free from any flames or other sources of ignition.
- With the cylinder connected to the Gas Pizza Oven. Open the cylinder valve.
- Brush the connections(Gas Pizza Oven to cylinder) with a solution of equal parts soap and water (must be foamy).
- A stream of bubbles forming indicates a gas leak. If bubbles appear, turn the cylinder valve OFF (clockwise) and disconnect the Gas Pizza Oven from the gas cylinder.
- Tighten the connection and retry the leak test. If you are unsure or if you cannot tighten the connection, place the cylinder outside in a cool, well-ventilated area and contact your dealer or local gas supplier immediately. Checking the Burner flame for indication of a gas leak: Ignite the burner and rotate the knob from HIGH to LOW.
You should see a smaller flame in LOW than in HIGH. Always check the flame prior to each use. A good flame should be blue with minimal yellow tipping. Some yellow tips on flames are acceptable as long as no carbon or soot deposits appear.

Warranty
For any queries or assistance mail Promise to respond within 24 hours
Customer Service [email protected]
This information will be required to offer under the 12 months warranty.
Product Model: …………………………………..
Order ID: …………………………………………..
Purchase date: …………………………………..
















