Tabletop Gas Pizza Oven
Model# J-626
Item #SRGG200001
![]()
J-626 Tabletop Gas Pizza Oven
Keep this manual for future reference
Warning:
READ INSTRUCTION MANUAL BEFORE ATTEMPTING TO ASSEMBLE OR OPERATE THIS PRODUCT.
Adult assembly required.
Keep screws and parts out of reach of children.
Questions, problems, missing parts?
Please call our customer service department at 1-888-909-3888, 7:30AM – 4:30PM PST, Mon. – Fri.
or e-mail to [email protected]
WARNINGS
FOR YOUR SAFETY
FOR OUTDOOR USE ONLY!
Never use this appliance in a building, garage or any other enclosed area.
This appliance is not intended to be installed in or on a boat or recreational vehicle.
The appliance is not intended for commercial use.
This appliance is for use with liquid propane (LP) gas only. The conversion to or attempted use of natural gas in this appliance is dangerous and will void your warranty.
Clean and inspect the hose before each use of the appliance. If there is evidence of abrasion wear, cuts, or leaks, the hose must be replaced prior to the appliance being put into operation. The replacement hose assembly shall be that specified by the manufacturer.
Minimum clearance from sides and back of unit to combustible construction, 24 inches from sides and 24 inches from back.
Do not use this appliance under overhead combustible surfaces.
Place and use the appliance at a tabletop with a height: Min. 23.6 in (600 mm), Max. 39.3 in (1,000 mm).
Place and use max. 20 lb LP gas supply cylinder at the side of the appliance, which neither cause high tension to the hose, nor possible cause tripping hazard.
Caution: Keep the fuel supply hose away from any heated surface(s).
CAUTION: The gas pressure regulator provided with this appliance must be used. Replace only with gas pressure regulator that specified by the manufacturer.
The LP gas supply cylinder to be used must be constructed and marked in accordance with the specifications for LP gas cylinders, U.S. Department of Transportation (DOT) or the Standard for Cylinders, Spheres and Tubes for the Transportation of Dangerous Goods, CAN/CSA-B339.
Use only max 20 lb LP gas supply cylinder.
20 lb LP gas supply cylinder: 18-1/4″ (45.6 cm ) high. 12-1/4″ ( 32 cm ) diameter.
LP gas supply cylinder must be placed in upright position for vapor withdrawal.
A) Do not store a spare LP gas cylinder under or near this appliance.
B) Neverfill the cylinder beyond 80 percent full.
C) If the instructions in (a) and (b) above are not followed exactly. a fire causing death or serious injury may occur.
If the appliance is not in use. the gas must be turned off at the supply cylinder.
Storage of an appliance indoors is permissible only if the cylinder is disconnected and removed from the appliance.
Cylinders must be stored outdoors out of the reach of children and shall not be stored in a building. garage or any other enclosed area. Place dust cap on cylinder valve outlet whenever the cylinder is not in use. Only install the type of dust cap on the cylinder valve outlet that is provided with the cylinder valve. Other types of caps or plugs may result in leakage of propane.
WARNING:
- The use of alcohol. prescription or non-prescription drugs may impair the consumer’s ability to properly assemble or safely operate the appliance.
- Do not leave the appliance unattended. Keep children and pets away from the appliance at all times.
- Do not move the appliance when in use.
- This appliance is not intended for and should never be used as a heater.
- This appliance will be hot during and after use. Use insulated oven mitts or gloves for protection from hot surfaces or splatter from cooking liquids.
WARNING: This product can expose you to chemicals including lead. which is known to the State of California to cause cancer, and carbon monoxide. which is known to the State of California to cause birth defects or other reproductive harm. For more information. go to www.P65Warnings.ca.gov.
EXPLODED VIEW

PARTS LIST
| No. | Description | Quantity | Picture |
| 1 | Chimney Lid | 1 | ![]() |
| 2 | Chimney | 1 | ![]() |
| 3 | Oven Body Assembly | 1 | ![]() |
| 4 | Foot Pad | 1 | ![]() |
| 5 | Regulator & Hose Assembly | 1 | ![]() |
| 6 | Door | 1 | ![]() |
| 7 | Door Handle | 1 | ![]() |
| 8 | Pizza Stone | 1 | ![]() |
| 9 | Control Knob | 1 | ![]() |
| 10 | Pizza Peel | 1 | ![]() |
HARDWARE
Please check the contents of the packaging to ensure all parts are included.
| Parts | Description | Quantity | Picture |
| AA | M5 x 12 Bolt | 2 | ![]() |
| BB | M4 x 25 Bolt | 4 | ![]() |
TOOLS NEEDED: (NOT INCLUDED)
Philips screwdriver
Estimated time for assembly: 10 minutes.
ASSEMBLY INSTRUCTIONS
The installation must conform with local codes or, in the absence of local codes, with the National Fuel Gas Code, ANSI Z223.1/NFPA 54. Storage and Handling of Liquefied Petroleum Gas and Propane Installation Code, CSA B149.1; Propane Storage and Handling, CSA B149.2.
Gases, ANSI/NFPA 58; or Natural
Tips: About instructions, most of the parts have been pre-installed before packing.
Step 1
Install (4) foot pads (4) to the main body assembly with (4) M4 x 25 bolts (BB) as illustrated.
Hardware Used
BB……….. M4 x 25 bolt
4 pcs
Step 2
Install flue gas vent assembly (2) to the firebox – outside shell (3) with (2) M5 x 12 bolts (AA)as illustrated.
Hardware Used
AA M5 x 12 bolt
2 pcs
Step 3
Remove the igniter cap by turning it counter-clockwise.
Insert one AA battery (not included) into the igniter body with Positive (+) end facing out.
Then replace the igniter cap as illustrated.
Step 4
Tighten regulator & hose assembly (29) to main body assembly with two wrenches (not included) as illustrated.
Step 5
Place the pizza stone (6) to oven cavity as illustrated.
Step 6
Place the appliance at a tabletop with a height: Min. 23.6 in (600 mm), Max. 39.3 in (1,000 mm) as illustrated.
INSTALLATION INSTRUCTIONS
CONNECTING LP GAS CYLINDER
- Turn the burner control knob to “OFF” position.
- Remove the protective cap from LP gas cylinder valve.
- Make sure the cylinder valve will properly and safely mate with the pressure regulator.
- Hold regulator and insert nipple into LP gas cylinder valve. Be sure the nipple is centered in the valve outlet.

- Hand-tighten the coupling nut clockwise until it comes to a full stop. Firmly tighten by hand only. Do not use tools.
- Place LP gas cylinder at the side of the appliance which neither cause high tension to the hose, nor possible cause tripping hazard. Keep the hose away from any heated surface(s).
DISCONNECTING LP GAS CYLINDER
- Turn the burner control knob to “OFF” position.
- Fully close the LP gas cylinder valve by turning clockwise.
- Turning the coupling nut counterclockwise until the regulator assembly detaches.
After completed of installation, leakage test shall be conducted before used.
CHECK FOR LEAKS
- Do not smoke during leak test.
- Do not use an open flame to check for gas leaks.
- The appliance must be leak tested outdoors in a well-ventilated area, away from ignition sources such as gas fired or electrical appliances. During leak test, keep the appliance away from open flames or sparks.
TEST PROCEDURE
- Prepare a clean paintbrush and a 50/50 mild soap and water solution.
- Turn the burner control knobs to “OFF”.
- Be sure the appliance regulator is connected to the LP gas cylinder tightly.
- Open LP gas cylinder valve by turning counterclockwise.
- Brush soapy solution onto all gas carrying connections and fittings, if there’s bubbles “growing” or you smell or hear gas, fully close the LP gas cylinder valve by turning clockwise immediately, retighten connections and repeat the LEAK TEST.
- If there’s still leaks, stop use and call for seller.
LIGHTING INSTRUCTION
- Read Instruction before lighting.
- Make sure control knob is in OFF position.
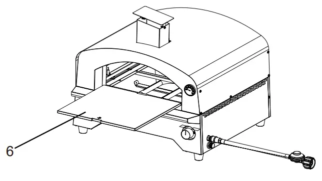
- Open the door (6) during lighting.
- Open LP gas cylinder valve by turning counterclockwise.
- Push and turn on control knob counterclockwise to LITE position.
- If ignition does not occur in 5 seconds, turn the burner control(s) off, wait 5 minutes, and repeat the lighting procedure.
- After burner was lit, continue to push the control knob for 10~20 seconds.
- Adjust burners to desired cooking settings via turning control knob from High to Low position.

MATCH LIGHTING INSTRUCTION
- Read instruction before lighting.
- Make sure control knob is in “ OFF ” position.
- Open the door (6) during lighting.
- Open LP gas cylinder valve by turning counterclockwise.
- Place a long lit grill lighter or match at least 3 inches long near burner ports through gas of cooking grate.
- Push and turn on control knob counterclockwise to “ LITE ” position.
- If ignition does not occur in 5 seconds, turn the burner control(s) off, wait 5 minutes, and repeat the lighting procedure.
- After burner was lit, continue to push the control knob for 10~20 seconds.
- Adjust burners to desired cooking settings via turning control knob from “ High “ to ” Low “ position.
SHUTDOWN INSTRUCTION
- Turn control knob clockwise to “OFF” position
- Fully turn off LP gas cylinder valve by turning cylinder counterclockwise by hand, when appliance is not in use.
MAINTENANCE INSTRUCTION
- Keep appliance area clear and free of any combustible materials, gasoline and other flammable vapors and liquids.
- Not obstructing the flow of combustion and ventilation air.
- Checking and cleaning burner/venturi tubes for insects and insect nests. A clogged tube can lead to a fire beneath the appliance.
- To reduce the risk of grease fire, always clean the drip tray and remove any grease from the inside of the appliance using warm soapy water. The outside of the appliances can also be wiped down with warm soapy water.
- Use a brass bristled barbecue brush to scrub the stainless steel cooking grates, not a steel bristled wire brush.
- Visually checking burner flames, flame should be a blue with yellow tipping.

TROUBLE SHOOTING
| PROBLEM OBSERVED | POSSIBLE CAUSE | CORRECTIVE MEASURES |
| Burner could not light | Faulty regulator Obstructions in the burner Obstructions in gas orifice Electrode is damaged/faulty igniter Faulty igniter Empty LP gas cylinder | Have the regulator checked or replaced Clean burner Clean orifice Change electrode and wire Change battery or igniter Use a new LP gas cylinder |
| Low flame | Obstructions in the burner Obstructions in gas orifice | Clean burner Clean orifice |
ONE-YEAR-LIMITED WARRANTY
- The appliance has been manufactured under the highest standards of quality and workmanship. We warrant to the original consumer/purchaser that all aspects of this product will be free of defects in material and workmanship for one (1) year from the date of purchase. A replacement for any defective part will be supplied free of charge for installation by the consumer. Defects or damage caused by the use of other than genuine parts are not covered by this warranty. This warranty shall be effective from the date of purchase as shown in the purchaser’s receipt.
- This warranty is valid for the original consumer/purchaser only and excludes industrial, commercial or business use of the product, product damage due to shipment or failure which results from alteration, product abuse, or product misuse, whether performed by a contractor, service company, or consumer. We will not be responsible for labor charges and/or damage incurred in installation, repair or replacement, nor for incidental or consequential damage. This warranty gives you specific rights, and you may also have other rights that vary from state to state.

Need help?
call our toll free number at:
1-888-909-3888 or email us
at: [email protected]































