Hestan AGPO33 OUTDOOR COOKING Campania Pizza Oven

WARNING
IF THE INFORMATION IN THIS MANUAL IS NOT FOLLOWED EXACTLY, A FIRE OR EXPLOSION MAY RESULT CAUSING PROPERTY DAMAGE, PERSONAL INJURY, OR DEATH.
Do not store or use gasoline or other flammable vapors and liquids in the vicinity of this or any other appliance.
Installation and service must be performed by a qualified installer or service agency.
DO NOT REPAIR, REPLACE OR REMOVE ANY PART OF THE APPLIANCE UNLESS SPECIFICALLY RECOMMENDED IN THE MANUAL. IMPROPER INSTALLATION, SERVICE OR MAINTENANCE CAN CAUSE INJURY OR PROPERTY DAMAGE. REFER TO THIS MANUAL FOR GUIDANCE. ALL OTHER SERVICING SHOULD BE DONE BY A QUALIFIED TECHNICIAN.
DANGER
If you smell gas:
- Shut off gas to the appliance.
- Extinguish any open flame.
- Open lid.
- If odor continues, keep away from the appliance and immediately call your gas supplier or your fire department.
DANGER
- Do not store or use gasoline or other flammable liquids or vapors in the vicinity of this or any other appliance.
- An LP cylinder not connected for use shall not be stored in the vicinity of this or any other appliance.
WARNING
- Do not try lighting this appliance without reading the LIGHTING INSTRUCTIONS section of this manual.
- For outdoor use ONLY. This cooking appliance is not intended to be installed in or on recreational vehicles, and/or boats.
- Flammable Gas – disconnect all propane or natural gas supplies to this unit before servicing.
- Electrical Parts & Components – disconnect all power supplies and batteries before servicing.
READ THESE INSTRUCTIONS CAREFULLREAD THESE INSTRUCTIONS CAREFULLY AND COMPLETELY AND COMPLETELY BEFOREY BEFORE INSTINSTALLING OR USING YALLING OR USING YOUR APPLIANCE TO REDUCE THE RISK OF FIRE,OUR APPLIANCE TO REDUCE THE RISK OF FIRE, BURN HAZARDBURN HAZARD, OR OTHER INJURY, OR OTHER INJURY..
INSTALLER: LEAVE THIS MANUAL WITH THE OWNER OF THE APPLIANCE.
HOMEOWNER: RETAIN THIS MANUAL FOR FUTURE REFERENCE.
Message from Hestan:
Outdoor cooking is a perfectionist’s pursuit, and with your new investment, you’ve now taken the ultimate step forward. We sincerely welcome you to the Hestan Family. We’ve engineered and built our products so that your guests will rave about your meal, but deep down, our customers know it
could’ve been just a little more tender, juicier – a pinch more salt in the rub or a few seconds less on the flame. Yes, we’ve taken the time to know our Hestan customer and we’re excited to be on this journey with you. Hestan Outdoor was born from this same perfectionist passion. Our engineers
experimented, innovated, tweaked and tinkered until they created the most powerful, versatile and reliable outdoor products available.
We pride ourselves on restless innovation, superior engineering and
purpose-built designs, but also our in-depth understanding of our target
consumer and the interests and needs of the ultimate end-users we serve and covet. For many consumers, cooking outdoors is much more than an act of food preparation. It’s a lifestyle activity that encompasses culinary, leisure and social pursuits among others.
We are thankful and proud that you have chosen Hestan, and we yearn to have you as a customer for life. We take your decision to choose Hestan most seriously, and we promise to deliver the very best to you.
Welcome to Hestan Outdoor
MODEL NUMBERS

| Model No. | Description |
| AGPO33-NG / -LP | 33” CAMPANIATM PIZZA OVEN |
RATING LABEL
The rating label contains important information about your Hestan appliance such as the model and serial number, gas type and manifold pressure, the BTU rating for the burner, and the minimum installation clearances.
The rating label is located at the rear of the appliance.
SAFETY DEFINITIONS
WARNING
THIS INDICATES THAT DEATH OR SERIOUS INJURY MAY OCCUR AS A RESULT OF NOT OBSERVING THIS WARNING.
CAUTION
THIS INDICATES THAT MINOR OR MODERATE INJURY MAY OCCUR AS A RESULT OF NOT OBSERVING THIS WARNING.
NOTICE
THIS INDICATES THAT DAMAGE TO THE APPLIANCE OR PROPERTY MAY OCCUR AS A RESULT OF NOT OBSERVING THIS WARNING.
PRECAUTIONS – BEFORE YOU USE YOUR PIZZA OVEN
When properly cared for, your Hestan Pizza Oven will provide safe, reliable service for many years. Extreme care must be used as the Pizza Oven produces intense heat, which can cause serious injury or even death if the instructions are not followed carefully. When using this appliance, basic safety practices must be followed as outlined below.
- NEVER LEAVE THE PIZZA OVEN UNATTENDED WHILE COOKING.
- Children should not be left alone or unattended in an area where the Pizza Oven is being used. Never allow them to sit, stand, or play on or around the Pizza Oven. Do not store items of interest to children around or below the Pizza Oven. Never allow children to crawl underneath, or inside a built-in structure.
- Never operate the Pizza Oven while under the influence of alcohol or drugs.
- Never use the Pizza Oven in windy conditions. If located in a consistently windy area, oceanfront, mountaintop, etc., it may be necessary to use some kind of a windbreak to prevent winds from blowing out the pilot and main burner. DO NOT place the front cover on the oven while in operation. Always adhere to the specified clearances as described in the INSTALLATION section of this manual.
- The Pizza Oven shall be used only outdoors and shall not be used in buildings, garages, sheds, breezeways, or any enclosed areas. Do not operate the Pizza Oven under unprotected, combustible construction. Use only in well-ventilated areas. See the INSTALLATION section of this manual.
- Do not use the Pizza Oven unless a leak check has been performed on all gas connections. See the GAS CONNECTIONS section of this manual.
- If the Pizza Oven is installed by a professional installer or technician, be sure that they show you where your gas supply shut-off is located. All gas lines must have a shut-off that is easily accessible without tools. If you smell gas, check for leaks immediately. Check only with a soap and water solution. Never check gas leaks with an open flame. See the GAS CONNECTIONS section of this manual.
- Check the regulator, hoses, burner ports, and venturi / valve section carefully. Always turn off gas at the source (tank or supply line) prior to inspecting parts.
- When lighting the burner, always pay close attention to what you are doing. If any burner does not light, or goes out during operation, turn off the gas control knobs, and wait five (5) minutes before attempting to re-light. See the LIGHTING INSTRUCTIONS section of this manual.
- Spiders and insects like to nest in the burners, venturis, and orifices of the Pizza Oven, disrupting the gas flow in the burner. This very dangerous condition can cause an abnormal burner function, damaging the Pizza Oven and risking personal injury. If your Pizza Oven has been unused for a long time, inspect and clean the burners, venturis, and orifices. It is recommended you inspect your Pizza Oven at least twice a year. See BURNER ADJUSTMENT section of this manual for details.
- Keep the areas surrounding the Pizza Oven free from combustible materials, trash, or combustible fluids and vapors such as gasoline or charcoal lighter fluid. Do not obstruct the flow of combustion gases (chimney) and ventilation airways (front door) during operation.
- When in use, portions of the Pizza Oven are hot enough to cause severe burns.
- Always have an “ABC” type fire extinguisher accessible – never attempt to extinguish a grease fire with water or other liquids. Never spray water or other liquids on the ceramic deck inside the oven. The deck could crack.
- Avoid wearing loose-fitting garments or long sleeves while cooking with the Pizza Oven. They could ignite. For personal safety, wear proper apparel while cooking. Some synthetic fabrics are highly flammable and should not be worn while cooking.
- Never let pot holders, covers, or other flammable materials come in contact with or too close to any burner or hot surface until it has cooled down sufficiently. Fabrics may ignite and result in personal injury. Use only dry potholders. Moist or damp potholders on hot surfaces may cause burns from steam. Do not use a towel or bulky cloth in place of potholders. Do not let potholders touch hot portions of the pizza oven, like the ceramic deck.
- Never touch the ceramic deck or immediate surrounding metal surfaces, the oven cavity opening, outer frame, etc. while cooking with the Pizza Oven. These areas become extremely hot and could cause severe burns. Use only the handles and knobs provided for operation of the Pizza Oven.
- Protect your hands with an insulated glove or mitt when operating the Pizza Oven. Always keep your face away to allow heat, steam and smoke to escape. Never put any part of your body into
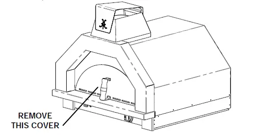
a hot Pizza Oven. Use the long-handle pizza peel provided to move items in and out of the Pizza Oven. - The Pizza Oven front cover MUST be removed while lighting AND during operation. Leaving the cover in place while lighting may result in an explosion and personal injury, or death. Never lean into the Pizza Oven opening or look directly into the burner when attempting to light. Keep your face as far away as possible. See the LIGHTING INSTRUCTIONS section of this manual.
- Do not heat unopened food containers (cans) as pressure build-up will cause the container to explode.
- Do not use aluminum foil to line the ceramic deck or any other part of the oven. This may alter the airflow to the burner or trap excessive heat elsewhere, causing damage to wiring or igniters, and increase the risk of personal injury. Such damage is specifically excluded from our warranty.
- Grease is extremely flammable. If you do cook a greasy food item in the oven, such as finishing a roast in an iron pan, keep it covered with an appropriate lid (not aluminum foil), and use caution when removing the pan from the oven. Let the hot grease cool before attempting to handle or dispose of it. Avoid grease deposits on the ceramic deck, as they are absorbed by the material and cause discoloration, and may result in bad odors and flavors that will transfer to your pizzas. Never clean while the Pizza Oven is on, or hot from recent use.
- Cooking excessively fatty meats and other products will cause flare-ups or grease fires. Damage caused by them or by the Pizza Oven being left unattended, are not covered under the terms and conditions of our warranty.
- Only certain types of glass, heatproof glass-ceramic, earthenware, or other glazed utensils are suitable for Pizza Oven use. However, these types of materials may break with sudden temperature changes. Use extreme caution with these utensils, and according to their manufacturers’ directions.
- Do not repair or replace any part of the Pizza Oven unless specifically recommended in this manual. All other warranty and non-warranty service should be referred to and performed by a qualified technician.
- For proper lighting and performance of the burners, keep the ports clean. It is necessary to clean them periodically for optimum performance.
- Clean the Pizza Oven with caution. Avoid steam burns – do not use a wet sponge or cloth to clean the Pizza Oven while it is hot. Some cleaners produce noxious fumes or can ignite when applied to a hot surface. Be sure the Pizza Oven controls are turned off and the appliance is cool before using any type of aerosol cleaner on or around the appliance. The chemical that produces the spraying action could, in the presence of heat, ignite or cause metal parts to corrode. The ceramic deck
has special cleaning instructions. Do not use these chemical cleaners on the ceramic deck. Clean and perform general maintenance on the Pizza Oven twice a year. Watch for corrosion, cracks, or insect activity. See the CLEANING AND MAINTENANCE section of this manual.
REGULATORY / CODE REQUIREMENTS
Installation of this cooking appliance must be made in accordance with local codes. In the absence of local codes, this unit should be installed in accordance with the National Fuel Gas Code ANSI Z223.1/NFPA 54, Natural Gas and Propane Installation code CSA B149.1, or Propane Storage and Handling Code B149.2.
COMMONWEALTH OF MASSACHUSETTS
The Commonwealth of Massachusetts requires all gas be installed by a licensed plumber or gas-fitter carrying the appropriate Massachusetts license. All permanently installed natural gas or propane installations require a “T”handle type manual gas valve be installed in the gas supply line to this appliance. This does not apply to portable propane installations using a 20 pound cylinder.
CALIFORNIA PROPOSITION 65 – WARNING
WARNING: This product can expose you to chemicals including carbon monoxide, which is known to the State of California to cause birth defects or other reproductive harm.
For more information, go to www.P65Warnings.ca.gov.
PORTABLE LP GAS CYLINDERS
Use only a standard 20 lb. [9.1 kg] liquid propane (LP) gas cylinder – 12.25” diam. X 18.25” H
[31 cm X 47 cm] which features an Overfill Protection Device. The cylinder must be installed in the upright position. Do not use a dented or rusty LP cylinder as it may be hazardous and should be checked by your LP supplier. Never use a cylinder with a damaged valve. Never move or alter the gas fittings. Check the expiration date on the cylinder collar as well. Do not refill an expired cylinder, it must be replaced. If you buy refilled (exchange) LP cylinders, check this date as well.
The LP gas cylinder must be:
- Constructed and marked in accordance with the specifications for LP gas cylinders of the U.S. Department of Transportation (DOT) or the Standard for Cylinders, Spheres and Tubes for Transportation of Dangerous Goods, CAN/CSA-B339, as applicable; and
- Provided with a listed Overfilling Prevention Device.
- Provided with a cylinder connection device compatible with the connection for outdoor cooking appliances. The cylinder must be provided with a shut off valve terminating in an LP gas supply cylinder valve outlet specified, as applicable, for connection type QCC1 in the standard for compressed gas cylinder valve outlet and inlet connections ANSI/CGA-V-I.
WARNING
Certain liquid propane dealers may fill LP cylinders for use in the grill beyond cylinder filling capacity. This “overfilling” may create a dangerous condition due to a build-up of excess pressure. As a safety device, there is a pressure relief valve which will vent propane gas vapor to relieve this excess pressure. This vapor is combustible and therefore can be ignited. To reduce this danger, you should take the following safety precautions:
- When you have your cylinder filled, be sure you tell the supplier to fill it to no more than 80% of its total capacity.
- If you own or use a spare cylinder, you should NEVER store it near or under the appliance unit or burner box, or near any other ignition or heat source (like a water heater or furnace).
IF THE INFORMATION IN 1 AND 2 ABOVE IS NOT FOLLOWED EXACTLY, A FIRE CAUSING DEATH OR SERIOUS INJURY MAY OCCUR. - The LP cylinder must be disconnected and stored OUTSIDE in a well-ventilated area, out of the reach of children.
- Do not store a full cylinder in direct sunlight.
LOCATING AND ASSEMBLING THE PIZZA OVEN
When determining a suitable location for your Pizza Oven, please consider things such as exposure to wind, rain, sprinklers, proximity to traffic paths, and keeping any gas supply lines as short as possible.
Locate the Pizza Oven only in a well-ventilated area. Never locate the Pizza Oven in a building, garage, breezeway, shed or other such enclosed areas without an approved ventilation system. Never locate the Pizza Oven over, under, or next to unprotected combustible construction. During heavy use, and depending on what you are cooking, the appliance can produce a lot of heat and smoke.
Using the Pizza Oven in windy areas can disrupt the pilot flame or the main burner, causing it to go out. Relocate to a less windy area. If the Pizza Oven is mounted in an enclosure, you may need to build a wind-break to avoid this issue in the future.
When installing a Pizza Oven or other gas appliance into/onto an enclosure, the enclosure must be constructed with ventilation openings to avoid accumulation of gas beneath should there be a leak. See the INSTALLATION section of this manual for details. Keep the area underneath the Pizza Oven free of debris.
Ensure all packaging, straps, etc. have been removed from the Pizza Oven.
FREE-STANDING INSTALLATION
WARNING
COUNTERTOPS
The Pizza Oven SHOULD NEVER be operated on top of combustible countertop materials. Certain stone-like composite materials such as Corian®, Formica®, quartz composite materials, etc. have combustible binders which may permanently discolor or even burn. Other composite materials such as wood, laminates, etc., and/or those materials with finishes such as oils, varnish, shellac, paints, epoxy or urethanes, are also combustible and could burn.
CLEARANCES
TO NON-COMBUSTIBLE CONSTRUCTION
As mentioned above, the countertop, and the construction beneath it should be made of non-combustible materials. Above the countertop, a minimum of 3” [7.6 cm] clearance from the sides and back of the Pizza Oven to non-combustible construction, such as adjacent walls, is required.
TO COMBUSTIBLE CONSTRUCTION
This appliance should NOT be installed on, over, or next to unprotected combustible construction. Do not use this appliance under unprotected overhead combustible surfaces.
The countertop, and everything BELOW the countertop must be made of non-combustible materials.
A minimum clearance to combustible materials, such as adjacent walls, is 3” [7.6 cm] on the sides and the rear of the appliance, ABOVE the countertop surface.
WARNING
The minimum clearance to combustible materials means that ALL combustible materials must
be outside this 3” [7.6 cm] zone. As an example, if you have an installation with a stucco or tiled surface and wood-frame construction beneath, or wood-frame walls adjacent or behind, the wood
is considered combustible, even though the Pizza Oven is touching the stucco or tile surface, which is non-combustible. In extreme circumstances, the wood could potentially get hot enough to burn. Therefore, ALL the construction must be non-combustible. Adjacent walls above the countertop should also be non-combustible. If those adjacent surfaces are made of combustible material, they must be outside this 3” [7.6 cm] zone. The Pizza Oven has a high output, and if installed in a confined area, the potential to heat up adjacent surfaces is dangerous and could result in property damage.
ISLAND VENTILATION OPENINGS
The enclosure (island) supporting your freestanding Pizza Oven will require a minimum of two ventilation openings to safely dissipate gas vapors if there is a leak inside your enclosure. Three openings are preferred at left and right sides, as well as the back. See the GAS CONNECTIONS section for further information on the gas supply beneath your appliance.
Upper and lower ventilation openings are required. The upper openings must total 20 in² [129 cm²] in open area and must be located within 5” [12.7 cm] of the countertop and unobstructed. The lower openings must total 10 in² [65 cm²] in open area and must be located 1” [2.5 cm] or less from the floor. The upper edge of this lower opening shall be no more than 5” [12.7 cm] above the floor. Louvered or meshed panels can be used on these openings to keep rodents and debris out of the island. The openings in these panels must be 1/8”[3.2 mm] diameter or greater.
COUNTERTOP HEIGHT
Your Hestan Pizza Oven comes ready to install onto your enclosure (island) countertop. The dimensions above show a typical installation height of 36” [91.4 cm]. This will place the oven deck 5.5” [14 cm] above the countertop. You may want to raise or lower the countertop, or ask your installer to build a raised non-combustible support to bring the oven deck to a height more comfortable for you to

place items inside the oven. In general, the distance from the floor to the oven deck should be roughly the distance from the floor to your elbow.
MOUNTING BRACKETS AND GAS LINE OPENING
In order to properly place the Pizza Oven on your countertop, and to prevent unintentional movement, mounting brackets have been provided with the unit. Attach the brackets at the rear face of the unit as shown below, and secure with the provided screws. Repeat for the other side. The brackets also provide the necessary 3” [7.6 cm] min. clearance behind the unit.
After you have placed the oven on the countertop and adjusted the unit with the leveling feet, drill and secure the bracket to your countertop with masonry or other appropriate fasteners (not included).
Your countertop will also need a 2” [5.1 cm] hole at the rear of the unit to connect the gas line beneath. See location dimensions on the previous page. It is recommended to use a raised bushing or similar item (not included) to protect the gas line from sharp edges, and to lessen water intrusion into your enclosure.
BUILT-IN INSTALLATION
CONSIDERATIONS FOR INSTALLATION
A non-combustible structure is required for a built-in installation. Ideal materials are masonry, or steel-frame construction with cement-board panels. Tile or stucco finishes over these materials are also acceptable. Wood-frame construction is not allowed. All construction methods must conform to local building codes. Keep in mind that some of these materials, especially above the oven door, can become hot and may be discolored by heat and smoke. Choose appropriate finish materials with this in mind.
The Pizza Oven must rest on two 3 – 4” [7.6 – 10.2 cm] wide ledges inside the structure left and right walls, made of non-combustible materials like the rest of the structure. Be sure these ledges are level and parallel to each other so the unit rests flat, and the back of the oven door surround rests flush against the structure face. It is acceptable to build out the front face of the structure with decorative tile/stone veneer around the door surround after the unit is in place. However, leave a small gap around the perimeter of the surround so the oven can be pulled out for service if needed. It is not recommended to fully ‘brick-in’ the oven door surround.
It is important to have access to the bottom rear of the unit to make the gas connection. An access door/cabinet beneath the oven is highly recommended for access to the gas supply, storage, and for service if needed. Ventilation openings on both sides and rear are also required to safely dissipate gas vapors if there is a leak in the structure. See page 8 for details.
The lintel above the pizza oven door surround must be less than 0.75” [1.9 cm] thick. This is necessary to have enough space between the inside face of the structure, and the required double-wall Factory Built** chimney tube. Local codes will dictate how high the flue cap must be above the entire structure.
CLEARANCES:
TO NON-COMBUSTIBLE CONSTRUCTION
As mentioned in the previous section, the entire structure must be made of non-combustible materials. A minimum of 3” [7.6 cm] clearance from the sides and back of the Pizza Oven to non-combustible construction, such as adjacent walls, is required. The top (roof) of the structure must be rain-proof with a minimum 12” [30.5 cm] space above the top of the oven body. Be sure to seal around the chimney tube to prevent water intrusion.
TO COMBUSTIBLE CONSTRUCTION
This appliance MUST NOT be installed in a combustible structure.
Dimensions shown below are for design and planning purposes only.
See notes and cutout dimensions on the next page.
** Factory Built chimney system (tube & cap) must conform to UL Standard 103HT.


DRAWING NOTES
(FROM PREVIOUS PAGE AND THIS PAGE)
- 36” [91.4 cm] dimension will place the oven deck 41.5” [105.4 cm] above the floor. You may want to raise or lower this height to bring the oven deck to a height more comfortable for you to place items inside the oven. In general, the distance from the floor to the oven deck should be roughly the distance from the floor to your elbow.
- 12” [30.5 cm] is min. distance from the “roof” of the structure to the top of the oven body.
- Overall height of the structure can vary depending on your design.
- Flue cap height above the structure may be dictated by local codes.
GAS AND ELECTRICAL CONNECTIONS
GAS SUPPLY
The local gas authority or supplier should be consulted at the installation planning stage in order to establish the availability of an adequate supply of gas (NG or LP). If it is a new installation, have the gas authorities or supplier check the meter size and piping to assure that the unit is supplied with the necessary amount of gas supply and pressure to operate the unit(s).
Gas connections should be made by a qualified plumber, or your professional outdoor appliance installer.
All fixed (non-mobile) appliances must be fitted with an accessible upstream gas shutoff valve as a means of isolating the appliance for emergency shut off and for servicing.
Make certain new piping and connections have been made in a clean manner and have been purged so that piping compound, chips, etc. will not clog regulators, valves, orifices, or burners. Use pipe joint compound/thread sealant approved for natural and LP gases.
NEVER CONNECT THE PIZZA OVEN TO AN UNREGULATED GAS SUPPLY. Before proceeding, ensure the appliance is fitted for Natural or Liquid Propane gas. Connecting to an improper gas type will result in poor performance and increased risk of damage or injury. Gas type and gas consumption (BTU per hour) for the burner is shown on the rating label affixed to the rear of the unit.
Installation of this cooking appliance must be made in accordance with local codes. In the absence of local codes, this unit should be installed in accordance with the National Fuel Gas Code No. Z223.1/ NFPA 54, Natural Gas and Propane Installation code CSA B149-1, or Propane Storage and Handling Code B149.2.
NOTE: See rating label for outlet pressure for the type of gas of your appliance.
- The regulator should be mounted beneath the appliance as shown in this diagram. The shut-off valve mentioned previously is shown as well. Use appropriate hard-piping and fittings, with a short flex hose for the final connection to the back of the appliance.
- Connect gas supply to appliance using a minimum 3/8” ID flexible (semi–rigid) stainless steel gas hose, no more than 48” [1.2m] in length with flare fittings. Be sure to use proper fittings and a flexible hose as short as possible to make the connection. The hose as well as the connectors must comply with the Standard for Connectors for Outdoor Gas Appliances and Manufactured Homes, ANSI Z21.75 • CSA 6.27, and suitable for outdoor installation. Use the appropriate thread sealant on all threaded connections (not flare fittings).
- Proceed to LEAK TESTING section.

GAS CONNECTION – LIQUID PROPANE (LP) PIPED SYSTEMS
An LP piped system is one with a large central LP tank that feeds an entire household. These systems are normally equipped with a high pressure regulator by the large LP tank, and may have low pressure regulators close to the home. The gas line connectors must comply with the Standard for Connectors for Outdoor Gas Appliances and Manufactured Homes, ANSI Z21.75 • CSA 6.27, and suitable for outdoor installation. The connection shall be 48 inches [1.2 m] or less.
NOTE: To ensure proper heating performance of this appliance, verify that the gas line supply pressure is adequate. Use ONLY the pressure regulator supplied with this appliance. The regulator must be set for a supply pressure of 11” WC [2.74 kPa] to maintain 10” WC [2.49 kPa] outlet (manifold) pressure. Use a minimum 3/8” ID flex hose to prevent gas starvation. Ensure that the service pipe supplying the Pizza Oven is fitted with a shut-off valve conveniently positioned and easily accessible as an emergency gas shut-off.
Your Hestan Pizza Oven for use with LP Gas Piped Systems is supplied with a special convertible regulator which MUST BE USED. If this regulator needs to be replaced, use only the type specified by Hestan for this appliance.
To connect the gas supply, follow the next steps:
- The regulator should be mounted beneath the appliance as shown in this diagram. The shut-off valve mentioned previously is shown as well. Use appropriate hard-piping and fittings, with a short flex hose for the final connection to the back of the appliance.
- Connect gas supply to appliance using a minimum 3/8” ID flexible
(semi–rigid) stainless steel gas hose, no more than 48” [1.2m] in length with flare fittings. Be sure to use proper fittings and a flexible hose as short as possible to make the connection. The hose as well as the connectors must comply with the Standard for Connectors for Outdoor Gas Appliances and Manufactured Homes, ANSI Z21.75- CSA 6.27, and suitable for outdoor installation. Use the appropriate thread sealant on all threaded connections (not flare fittings).
- Proceed to LEAK TESTING section.

GAS CONNECTION – LIQUID PROPANE (LP) CYLINDER
The Hestan Pizza Oven can be connected to a standard 20 lb. [9.1 kg] LP gas cylinder when used with a regulator/hose assembly and tank retention device available for purchase as kit AGCKLPT from Hestan. This regulator/hose assembly must be used WITHOUT alteration. If the hose or any part of the assembly is damaged, it should not be repaired – it needs to be replaced. Please contact your Hestan dealer for genuine replacement regulator P/N 014309. Please read and understand the instructions supplied with the kit, and perform the leak testing described below before using your appliance.

NOTE: NOTE: To ensure proper heating performance of this appliance, verify that the supply pressure is adequate to maintain 10.0” WC [2.49 kPa] outlet (manifold) pressure.
SAFE USE AND MAINTENANCE OF LP GAS CYLINDERS
WARNING
READ AND FOLLOWED AND FOLLOW ALL WW ALL WARNINGS PROARNINGS PROVIDED WITH THE LP GAS CYLINDER.VIDED WITH THE LP GAS CYLINDER.
When operating this appliance with a LP gas cylinder, these instructions and warnings MUST be observed. FAILURE TO DO SO MAY RESULT IN A SERIOUS FIRE OR EXPLOSION.
CYLINDER/CONNECTOR REQUIREMENTS
- LP gas cylinders, valves, and hoses must be maintained in good condition and must be replaced if there is visible damage to either the cylinder or valve. If the hose is cut or shows excessive abrasion or wear, it must be replaced before using the gas appliance (see 5). Contact your Hestan dealer for genuine replacement regulator P/N 014309.
- This unit, when used with a cylinder, should be connected to a standard 5-gallon (20 lb.) LP gas cylinder equipped with an OPD (Overfill Prevention Device). The OPD has been required on all cylinders sold since October 1, 1998, to prevent overfilling.
- Cylinder dimensions should be approximately 12.25” [31 cm] in diameter and 18.25” [47 cm] high. Cylinders must be constructed and marked in accordance with the Specifications for Propane Gas Cylinders of the U.S. Department of Transportation (D.O.T.) or the National Standard of Canada, CAN/CSA-B339, Cylinders, Spheres, and Tubes for Transportation of Dangerous Goods.
- The cylinder used must include a collar to protect the cylinder valve, and the cylinder supply system must be arranged for vapor withdrawal.
- The pressure regulator and hose assembly supplied with the outdoor cooking gas appliance must be used. Replacement pressure regulators and hose assemblies must be those specified by the outdoor cooking gas appliance manufacturer. The regulator and hose assembly (see below) supplied
with this outdoor gas appliance (LP models only) must be used without alteration. Original and replacement regulator and hose assemblies must be those specified by the manufacturer for connection with a cylinder connecting device identified as Type I by the ANSI Z21.58/CGA 1.6. Contact your Hestan dealer for genuine replacement regulator P/N 014309. - The LP gas cylinder valve must be equipped with a cylinder connection coupling device, described as Type I in the standard defined in paragraph 5 above. This device is commonly known as an ACME thread quick coupler.
- If the LP gas cylinder is provided with a dust cap, place dust cap on the cylinder valve outlet whenever the cylinder is not in use. Only install the type of dust cap on the cylinder valve outlet that is provided with the cylinder valve. Other types of caps or plugs may result in leakage of propane.

QUICK COUPLER OPERQUICK COUPLER OPERAATIONTION
To connect: Bring the hand nut on the regulator over the ACME thread fitting on the cylinder valve. Turn the hand nut clockwise to engage the threads and tighten until snug. The use of pliers or a wrench should not be necessary. Only cylinders marked “propane” or “LP Gas” may be used.
To disconnect: Turn the hand nut counter-clockwise until detached (see image above).
Important: Before using the unit, and after each time the cylinder is removed and reattached, check the hose for wear (see paragraph 1 above) and check all connections for leaks as detailed in the LEAK TESTING section of this manual. Repair any leaks before lighting the unit.
CAUTION
If the outdoor cooking gas appliance is not in use, the gas must be turned off at the supply cylinder. Storage of an outdoor cooking gas appliance indoors is permissible only if the cylinder is disconnected and removed from the outdoor cooking gas appliance. Cylinders must be stored outdoors out of the reach of children and must not be stored in a building, garage, or any other enclosed area. Do not store a full cylinder in direct sunlight.
Always turn the LP gas cylinder main valve off after each use, and before moving the unit and cylinder or disconnecting the coupling. This valve must remain closed and the cylinder disconnected while the appliance is not in use, even though the gas flow is stopped by a safety feature when the coupler is disconnected.
Carefully inspect the hose assembly each time before the gas is turned on. A cracked or frayed hose must be replaced immediately.
FOR YOUR SAFET SAFETY
- DO NOT store a spare LP gas cylinder under or near this appliance, or near any other ignition or heat source (like a water heater or furnace).
- NEVER fill the cylinder beyond 80% full.
- IF THE INFORMATION IN 1 AND 2 IS NOT FOLLOWED EXACTLY, A FIRE CAUSING DEATH OR SERIOUS INJURY MAY OCCUR.
LEAK TESTING
GENERAL
Although all gas connections on your Hestan Pizza Oven are leak tested at the factory prior to shipment, a complete gas tightness check must be performed at the installation site due to possible movement in shipment, or excessive pressure unknowingly being applied to parts of the unit. Periodically check the whole system for leaks, or immediately check if the smell of gas is detected.
NOTE: For installations with hard-piped gas supply (not portable LP gas cylinder):
- a) The outdoor cooking gas appliance and its individual shut-off valve must be disconnected from the gas supply piping system during any pressure testing of that system at test pressures in excess of 1/2 psi [3.5 kPa].
- b) The outdoor cooking gas appliance must be isolated from the gas supply piping system by closing its individual manual shut-off valve during any pressure testing of the gas supply piping system at test pressures equal to or less than 1/2 psi [3.5 kPa].
BEFORE TESTING
- Do not smoke while leak testing.
- Never leak test with an open flame.
- Make a soap solution of one part liquid detergent and one part water for leak testing purposes.
- Apply the solution to the gas fittings by using a spray bottle, a brush, or a sponge.
- For LP units, always check with a full LP cylinder.
TO TEST
- Make sure the control valve is in the “OFF” position.
- Apply the soap solution described above to all fittings, hoses, etc.
- Turn the gas supply on.
- Check all connections from the supply line, or LP cylinder up to and including the manifold pipe assembly and all connections to the burner.
- Soap bubbles will appear where a leak is present. If a leak is present, immediately turn off gas supply, tighten any leaking fittings, turn the gas supply back on, and recheck.
- If you cannot stop a gas leak, turn off the gas supply and call the dealer where you purchased your Pizza Oven.
- Do not use the Pizza Oven until all connections have been checked and do not leak.
IMPORTANT NOTE – ALWAYS CHECK FOR LEAKS AFTER EVERY LP CYLINDER CHANGE.
If a leak is present, or if there is evidence of excessive abrasion or wear, or the hose is cut, it must be replaced before using the appliance. The hose and LP regulator are supplied as a complete assembly and must be replaced together. Do not attempt to repair or replace the hose itself. Contact your Hestan dealer for genuine replacement regulator P/N 014309.
Check all gas supply fittings for leaks before each use. It is handy to keep a spray bottle of soapy water near the shut-off valve of the gas supply line. Spray all the fittings, hoses, etc. Bubbles indicate leaks.
ELECTRICAL SUPPLY
This appliance features a battery-powered ignition system. To replace the battery, simply unscrew the silver cap on the igniter button, remove the old battery, and replace with a fresh AAA battery. Note the NEGATIVE end of the battery goes in first.
BURNERS
The main burner assembly is a unique design with 3 vertical venturis and a round perforated flame spreader above. It does not have any adjustments.
Each Pizza Oven is tested at the factory prior to shipment. The proper orifices for the gas type
were installed at this time. However, variations in the local gas supply, the elevation where you live, converting from one gas type to another, and other factors might affect the burner flames.
Flames should be blue and stable with no yellow tips (LP units will have some yellow tipping). There should be no excessive noise or flame lifting. If any of these conditions exist, use a small mirror to check inside the venturis for dirt, debris, spider webs, etc., that may be blocking the venturi. See BURNER MAINTENANCE for details. The occasional orange flame that quickly goes away is usually a small amount of dust or water condensation which is burning off – this is normal.
The Pizza Oven uses a standing pilot flame to light the main burner. There is a spark electrode and flame sensor/thermocouple all in one assembly. This small pilot flame also has no adjustment. See LIGHTING INSTRUCTIONS for more information.

LIGHTING INSTRUCTIONS
The Pizza Oven features a battery powered spark-ignition system with a standing pilot to light the main burner. The Oven is equipped with a safety valve similar to the rotisserie burner on your grill. It will shut off the flow of gas if the pilot flame or main burner goes out.
The Pizza Oven can also be manually lit should that become necessary.
LIGHTING THE PIZZA OVEN

- Read this Use & Care Manual before lighting. REMOVE THE FRONT COVER DURING OPERATION. Remove any items from inside the oven.

- STAND AS FAR AWAY AS POSSIBLE WHEN LIGHTING – KEEP YOUR FACE AND BODY FAR AWAY!
- Push and turn the knob left to the “PILOT” position. Continue to push in the knob while pressing the spark igniter button. The pilot flame will light. Continue to push in the knob for at least 20-30 seconds after lighting. Release the knob, the pilot flame should stay on.
- Turn the knob left to the “ON” position, which will light the main burner.
- If burner does not stay lit, or goes out during operation, turn knob to “OFF” and wait 5 minutes before re-lighting.
- Repeat the steps above to re-light the pilot until it stays on after releasing the knob.
- If the igniter does not work, check the battery as described on the previous page, or see below for match lighting instructions.
NOTE: At the first start-up of the appliance, and after long periods of non-use, there may be a delay in gas flow to the burner as the system is purged of air in the gas lines.
MATCH LIGHTING INSTRUCTIONS
If a burner will not light with the spark igniter, it can be lit with a match. WHEN ATTEMPTING TO LIGHT A BURNER WITH A MATCH, KEEP YOUR FACE AS FAR AWAY AS POSSIBLE. Use a long fireplace match or a hand-held butane log-lighter to light the pilot flame. Hold the match close to the pilot and follow the same instructions above to light the pilot. Once the pilot stays lit, turn the knob to the full “ON” position to light the main burner.
If the pilot flame does not light in 5-8 seconds, turn the control knob to “OFF” and wait 5 minutes before trying again. If the pilot will not light after several attempts, see the TROUBLESHOOTING section of this manual.
USING YOUR PIZZA OVEN
WARNING
DO NOT LEAVE THE PIZZA OVE THE PIZZA OVEN UNATTENDED WHILE COOKING.
COOKING WITH THE PIZZA OVEN
After lighting, the oven will require a mininum of 30-40 minutes of pre-heat time to come up to cooking temperature. DO NOT run the unit with the door cover in place.
As with any new tool, it will take a little practice to get to know your new Pizza Oven, how hot it runs, the best locations on the deck for cooking the dough, and then where to move it to finish cooking the top. The included peel will help you safely move the pizza around the oven interior.
A simple oven thermometer such as the one pictured here, may be useful to help gauge the interior temperatures. This type of thermometer is very simple and inexpensive, and available at the grocery store, or most culinary supply stores.
CLEANING AND MAINTENANCE
STAINLESS STEEL CARE
Stainless Steel is widely used for catering and residential kitchen equipment because of its strength, its ability to resist corrosion, and its ease of cleaning. Unfortunately, the metal is often taken for granted and it is assumed that no problems will arise during its usage. However, some care is required to ensure a long service life of the Pizza Oven.
To maintain the original appearance of your Hestan Pizza Oven, a regular cleaning routine should be carried out using the following guidelines:
- After use, following the safety precautions detailed earlier in this manual, wipe the appliance with a soft, damp, soapy cloth and rinse with clean, warm water. This should remove most substances encountered during the cooking process.
- For stubborn stains, including burnt-on grease and food-borne deposits, use a multipurpose, non-abrasive, cream cleanser and apply with a soft damp cloth. Rinse with fresh water, as described above. On no account should steel wool pads be used unless they are made of stainless steel.
- Harsh abrasives and metallic scouring materials should not be used for cleaning stainless steel as they will leave scratch marks in the surface and damage the appearance of the appliance. Likewise, do not use wire brushes, scrapers or contaminated scouring pads.
- For those areas with a directional grain, any cleaning with abrasives should be carried out along this grain direction and not across it.
- After use, always remove wet cleaning aids (such as cloths, pads, containers) from the surface, to avoid formation of water marks or stains.
- If required, dry the appliance after use with a soft dry cloth or towel.
If the preceding guidelines are adhered to, your Hestan Pizza Oven should offer excellent life and should live up to its reputation of being “stainless”. Neglect of this practice, however, can lead to deterioration of the surface and, in some extreme cases, corrosion of the steel itself. The two most common types of corrosion that may be encountered, particularly on stainless steel, are rust marks and pitting of the surface.
RUST-BRORUST-BROWN
These rust marks are likely the result of small particles of “ordinary-steel” which have become attached to the surface and have subsequently rusted in the damp environment. The most common source of such particles is from steel wool scouring pads, but contamination may also occur from carbon steel utensils and old water supply pipes. These brown marks are only superficial stains, which will not harm the Pizza Oven. They should be removable using a soft damp cloth and a multi-purpose, non-abrasive, cream cleanser. Occasionally, it may be necessary to resort to a proprietary stainless steel cleanser
to return the surface of the Pizza Oven to its original condition. To avoid re-occurrence of any “rust-staining”, it is essential that the source of the contamination is eliminated. A Hestan Pizza Oven cover will go a long way toward preventing this kind of contamination.
PITTING
A more severe form of corrosion is pitting of the surface. The sources of this corrosive attack can usually be attributed to certain household products such as bleach, household cleaners containing bleach (sodium hypochlorite), and pool chlorine. If you see pitting of the stainless steel surface, you can attempt to buff it out using stainless steel abrasive pads, but in most cases, pitting of the surface cannot be removed.
FOODSTUFFS
In general, stainless steel is fully resistant to all foodstuffs in common use. Only in isolated cases, such as when concentrated salt and vinegar mixtures are allowed to remain in contact with the steel for a prolonged period, can any surface marking result. Clean the surface as per instructions above.
CARE OF PAINTED SURFACES (IF APPLICABLE)
Hestan Pizza Ovens are available in standard stainless steel, or 11 Hestan signature color finish options. The tough powder-coating on these panels are commonly used on automotive parts, and commercial and residential appliances because of their excellent chip resistance, and resistance to a variety of chemicals. The finish should hold up well outdoors in most conditions. However, like any painted surface, special care must be taken when cleaning this finish.
To clean your powder-coated surface:
- Carefully remove any loose deposits with a wet sponge.
- Use a soft brush (non-abrasive) or cloth, and a mild household detergent solution to remove dust, salt and other deposits. Never use any solvent-based cleaners, stainless steel cleaners, heavy degreasers, oven cleaners, etc. on the painted surfaces. They can permanently damage the paint.
- Rinse off with clean fresh water and dry thoroughly.
CERAMIC OVEN DECK
The Pizza Oven deck is made of a refractive ceramic material widely used in pizza ovens, furnaces, etc. It is highly resistant to thermal shock, and should last for the lifetime of the appliance. However, it is a ceramic material and can be cracked if a heavy object is dropped on it, such as a heavy pan. Use caution when placing heavy objects inside the oven.
It is recommended to use the appliance for pizza, and other non-oily products. The deck is unglazed and porous, which can absorb cooking oils and greases. If using the appliance for cooking other items, such as finishing a roast in an iron pan, keep it covered with an appropriate lid (not aluminum foil). Avoid grease deposits on the ceramic deck, as they are absorbed by the material and cause discoloration, and may result in bad odors and flavors that will transfer to your pizzas. Never clean while the Pizza Oven is on, or hot from recent use.
CLEANING
If the appliance is used primarily for pizzas, the ceramic surface should stay relatively clean, unless cheese, sauces, oils, etc. are spilled on the surface; or a spillover or spatter from a fatty food item gets on the surface. Most of this food debris will burn off, but some will be absorbed by the ceramic surface. Therefore, if you wish to clean the ceramic deck, follow these steps:
DO NOT CLEAN A HOT OVEN. Allow to completely cool down.
- WARNING DO NOT CLEAN A HOT OVEN. Allow to completely cool down.
- NOTICE DO NOT CLEAN WITH A WATER HOSE OR LARGE AMOUNTS OF WATER.
The water will soak into the insulation materials in the walls and supports beneath the deck. This can permanently damage the insulation resulting in dangerous hot surfaces afterward. This type of damage is excluded from warranty coverage. - Scrape off any baked-on food with a plastic scraper. You may also scour the surface with baking soda, using a plastic scouring pad or a stiff bristled brush (non-metallic). Wipe the surface with a sponge and clear water. Detergent or soapy water is not recommended. Allow to air dry.
- DO NOT attempt to remove the ceramic deck or clean in a dishwasher.
BURNER MAINTENANCE
If the burner area needs attention, follow these steps please. The Pizza Oven must be completely cool.
- Reach inside and remove the burner shield at the back of the oven cavity. The shield is held in place by the ceramic oven deck and should lift straight up.

- Use a 5/8” wrench to loosen and remove the orifice nut. This will allow the burner to be removed for cleaning if necessary. Use a toothbrush or a damp cloth to remove any carbon buildup. Use a sewing needle to clear any debris from the orifice. Be extremely careful not to enlarge the hole or break off the needle. Dry everything and reinstall the burner and nut. Repeat this process for each burner.

- The pilot burner assembly may need occasional cleaning. Use a toothbrush to gently remove any carbon buildup from the flame hood and the spark igniter tip. Use caution, these parts are fragile and may crack.

- When done cleaning, return the burner shield to the back of the oven cavity.
ADDITIONAL CONSIDERATIONS
Always keep the area around the Pizza Oven free of obstructions and debris. Maintain at least 3” [7.5 cm] of space around the Pizza Oven to ensure proper airflow, and keep all ventilation openings in your enclosure (island) clear and free of debris. Clean the appliance after each use, and check for blockages, especially at the burner orifices, after periods of prolonged non-use. To maintain the appearance of your Hestan Pizza Oven for many years, keep it covered when not in use. Backyard environments are harsh on your appliance’s finish. Long exposure to sun, water, yard chemicals and the elements could diminish the appearance of the stainless steel. This is very evident in ocean-front locations.
Our appliance materials have been tested in saline solutions with higher salinity than seawater. They have also been tested by exposure to highly acidic foods. During and after these tests, we found these materials were able to withstand exposure over prolonged periods of time. However, the above-mentioned corrosive substances, along with neglect, can lead to a situation whereby conditions might combine to cause some damage to occur. Therefore, we suggest that you always keep your Pizza Oven clean, dry and covered when not in use. This is even more important when long term storage is required. Always store the Pizza Oven clean, dry and covered with your Hestan Pizza Oven cover. A dirty Pizza Oven will attract insects and rodents which is highly unsanitary. In addition, rodents are known to chew on the insulation of wiring which will cause permanent damage to the wiring and possibly electrical components.
For those in desert communities, wind-driven sand is highly abrasive and constant exposure will eventually pit and scratch the surface. Another reason to keep your Pizza Oven covered when not in use.
TROUBLESHOOTING GUIDE
| Symptom | Check |
| Burner will not light | Gas supply not on / shutoff valve closed LP gas cylinder empty Low gas pressure to unit Defective or clogged burner valve Incorrect orifice or clogged orifice Igniter defective or cracked (not sparking) Igniter battery is dead Defective regulator or regulator installed improperly |
| Burner will not stay lit | Burner ports obstructed or dirty Vent plugged on regulator or regulator installed improperly Windy conditions Low gas pressure |
| Slow to heat up | Low inlet gas pressure or low LP gas cylinder Burner ports are obstructed or dirty Defective or clogged burner valve Incorrect orifice or clogged orifice |
| Gas Odor | Burner went out or did not light Loose or broken gas line Ruptured pressure regulator Poor combustion, air-fuel mixture not adjusted properly Obstructed/dirty burner ports |
| Burner not working well / lazy or yellow flame | Burner ports are obstructed or dirty, check for spider webs Poor combustion, air-fuel mixture not adjusted properly Gas pressure incorrect / incorrect regulator Orifice sized incorrectly for gas type |
SYSTEM DIAGRAM

PARTS LIST
Please visit the Hestan website to access the parts list for your Hestan Outdoor product: www.hestanhome.com
SERVICE
All warranty and non-warranty repairs should be performed by qualified service personnel. To locate an authorized service agent in your area, contact your Hestan dealer, local representative, or the manufacturer. Before you call, please have the model number and serial number information ready. This information is shown on the rating sticker affixed to the rear of the appliance.
Hestan Commercial Corporation
3375 E. La Palma Avenue
Anaheim, CA 92806
(888) 905-7463
LIMITED WARRANTY
WHAT THIS LIMITED WARRANTY COVERS
Hestan Commercial Corporation (“HCC”) warrants to the original consumer purchaser of a Hestan outdoor gas product (the “Product”) from an HCC authorized dealer that the Product is free from defective materials or workmanship for a period of one (1) year from the date of original retail purchase or closing date for new construction, whichever period is longer (“Limited Warranty Period”). HCC agrees to repair or replace, at HCC’s sole option, any part or component of the Product that fails due to defective materials or workmanship during the Limited Warranty Period. This Limited Warranty is not transferable and does not extend to anyone beyond the original consumer purchaser (“Purchaser”). This Limited Warranty is valid only on Products purchased and received from an HCC authorized dealer in the fifty United States, the District of Columbia and Canada. This Limited Warranty applies only to Products in non-commercial use and does not extend to Products used in commercial applications.
HOW TO OBTAIN WARRANTY SERVICE
If the Product fails during the Limited Warranty Period for reasons covered by this Limited Warranty, the Purchaser must immediately contact the dealer from whom the Product was purchased or HCC at 888.905.7463.
Purchaser is responsible for making the Product reasonably accessible for service or for paying the cost to make the Product reasonably accessible for service. Service is to be provided during normal business hours of the authorized Hestan Commercial Service Provider. To the extent Purchaser requests service outside of the normal business hours of the authorized Hestan Commercial Service Provider, Purchaser will pay the difference between regular rates and overtime or premium rates. Purchaser is required to pay all travel costs for travel beyond 50 miles (one way) from the nearest authorized Hestan Commercial Service Provider.
EXTENSIONS TO ONE YEAR LIMITED WARRANTY PERIOD:
In addition to the One-Year Limited Warranty, the following components have extended warranty coverage as specifically set forth below:
- The Product’s stainless steel grill body, DiamondCut cooking grates and warming rack, stainless Trellis grill burners, Sear burners and rotisserie infrared burner, and pizza oven burner (where applicable) are warranted to be free from defects in material and workmanship under normal non-commercial use and service for the lifetime of the original Purchaser. This excludes surface corrosion, scratches, and discoloration which may occur during normal use and is limited to replacement of the defective part(s), with the Purchaser paying all other costs, including labor, shipping and handling, as applicable.
- The Product’s spit rod, briquette trays, manifolds, gas valves and sealed burner assemblies
(where applicable) are warranted to be free from defects in material and workmanship, under normal non-commercial use and service, for a period of five (5) years from the original date of purchase;. This is limited to replacement of the defective parts, with the Purchaser paying all other costs, including labor, shipping, and handling, as applicable.
WHAT THIS LIMITED WARRANTY DOES NOT COVER:
This Limited Warranty does not cover and HCC will not be responsible for and will not pay for: damage to or defects in any Product not purchased from an HCC authorized dealer; color variations in color finishes or other cosmetic damage; failure or damage from abuse, misuse, accident, fire, natural disaster, commercial use of the Product, or loss of electrical power or gas supply to the Product; damage from alteration, improper installation, or improper operation of the Product; damage from improper or unauthorized repair or replacement of any part or component of the Product; damage from service by someone other than an authorized agent or representative of the Hestan Commercial Service Network; normal wear and tear; damage from exposure of the Product to a corrosive atmosphere containing chlorine, fluorine, or any other damaging chemicals; damage resulting from the failure to provide normal care and maintenance to the Product; damage HCC was not notified of within the Limited Warranty Period; and incidental and consequential damages caused by any defective material or workmanship.
ARBITRATON:
This Limited Warranty is governed by the Federal Arbitration Act. Any dispute between Purchaser nd HCC regarding or related to the Product or to this Limited Warranty shall be resolved by binding rbitration only on an individual basis with Purchaser. Arbitration will be conducted by the American Arbitration Association (AAA) in accordance with its Consumer Arbitration Rules or by JAMS. The arbitration hearing shall be before one arbitrator appointed by the AAA or JAMS. The arbitrator shall not conduct class arbitration and Purchaser shall not bring any claims against HCC in a representative capacity on behalf of others.
LIMITATION OF LIABILTY:
This Limited Warranty is the final, complete and exclusive agreement between HCC and Purchaser regarding the Product.
THERE ARE NO EXPRESS WARRANTIES OTHER THAN THOSE LISTED AND DESCRIBED ABOVE. NO WARRANTIES WHETHER EXPRESS OR IMPLIED, INCLUDING, BUT NOT LIMITED TO, ANY IMPLIED WARRANTIES OF MERCHANTABILITY OR FITNESS FOR A PARTICULAR PURPOSE SHALL APPLY AFTER THE LIMITED WARRANTY PERIOD STATED ABOVE. NO OTHER EXPRESS WARRANTY OR GUARANTY GIVEN BY ANY PERSON, FIRM OR CORPORATION WITH RESPECT TO THIS PRODUCT SHALL BE BINDING ON HCC. HCC ASSUMES NO RESPONSIBILITY THAT THE PRODUCT WILL BE FIT FOR ANY PARTIcULAR PURPOSE, EXCEPT AS OTHERWISE PROVIDED BY APPLICABLE LAW. HCC SHALL NOT BE LIABLE FOR LOSS OF REVENUE OR PROFITS, FAILURE TO REALIZE SAVINGS OR OTHER BENEFITS, OR ANY OTHER SPECIAL, INCIDENTAL OR CONSEQUENTIAL DAMAGES CAUSED BY THE USE, MISUSE OR INABILITY TO USE THE PRODUCT, REGARDLESS OF THE LECAL THEORY ON WHICH THE CLAIM IS BASED, AND EVEN IF HCC HAS BEEN ADVISED OF THE POSSIBILITY OF SUCH DAMAGES. NO RECOVERY OF ANY KIND AGAINST HCC SHALL BE GREATER IN AMOUNT THAN THE PURCHASE PRICE OF THE PRODUCT. WITHOUT LIMITING THE FOREGOING, YOU ASSUME ALL RISK AND LIABILITY FOR HEI ODAVAGE AND YANTTHESANDHR CAUSED DIRECTLY BY THE NEGLIGENCE OFHC THIS LIMITED WARRANTY STATES YOUR BY THE NEGLIGENCE OF HCC. THIS LIMITED WARRANTY STATES YOUR EXCLUSIVE REMEDY.
No oral or written representation or commitment given by anyone, including but not limited to, an employee, representative or agent of HCC will create a warranty or in any way increase the scope of this express Limited One Year Warranty. lf there is any inconsistency between this Limited Warranty nd any other agreement or statement included with or relating to the Product, this Limited Warranty shall govern f any provision of this Limited Warranty is found invalid or unenforceable, it shall be deemed modified to the minimum extent necessary to make it enforceable and the remainder of the Limited Warranty shall remain valid and enforceable according to its terms.
INTERACTION OF LAWS WITH THIS LIMITED WARRANTY:
Some states, provinces or territories may not allow limitations on how long an implied warranty lasts or the exclusion or limitation of incidental or consequential damages, so the above limitations or exclusions may not apply to you. Some states, provinces or territories may provide for additional warranty rights and remedies, and the provisions contained in this Limited Warranty are not intended to limit, modity, take away from, disclaim or exclude any mandatory warranty requirements provided by states, provinces or territories, including certain implied warranties. This warranty gives you specific legal rights, and you may also have other rights which vary depending on location.
Any questions about this Limited Warranty may be directed to
Hestan Commercial Corporation at (888) 905-7463
























