NEOMITIS ER1C1 Myneo Stat 1 Channel Radio Receiver

OVERVIEW
We thank you for deciding to use one of our innovative products. This wall-mounted receiver has been specially designed to be associated with your in- telligent and connected products and to remotely control products such as your boiler, radiators, underfloor heating… In heating or cooling mode. Directly connectable to your smart and connected thermostat, without any other accessory.
DIAGRAM

PACK CONTAINS
INSTALLATION
RECEIVER WIRING
Important: All electrical installation work should be carried out by a suitably qualified Electrician or another competent person. If you are not sure how to install this receiver consult either with a qualified electrician or heating Engineer. Do not remove or refit the appliance onto the backplate without the mains supply to the system being isolated. All wiring must be in accordance with regulations.
Housing opening
- Unscrew the screw located under the front housing.
- Separate the wall base from the front housing.

The capacity of all terminals: 1 mm* to 1.5 mm. Use preferably 1.5 mm conductors (depending on the application, see below).
Cable stripping

Interior wiring view
Exterior wiring view

Proceed to the wiring in the following order:
Main power supply

Boiler or other heat generator controlled by the power supply
Electric underfloor heating controlled by the power supply
Important: The cable cross-section must comply with the current regulation for the installed device. The maximum load switched directly by the receiver is 10(1)A according to the receiver specification.
Exterior wiring view

RECEIVER INSTALLATION
2 types of installation are possible, depend- ing on the location and the type of installaition:
- Semi-recessed mounting: on an IP20 re cessed box with a standard diameter of 60 mm (not supplied) on the side of the device which it must control.
- Wall mounting (exposed): on its wall base (supplied) to the left or right of the device it must control. A trunking (not supplied) can be used with the product to guide, protect and hide the wiring. If not in use, a basic closure piece is provided.
Important: The receiver must be installed at least 30 cm from any obstacle: metallic object, wall boxes, boiler… DO NOT SET UP THE RECEIVER ON A HOT SURFACE.
Semi-flush mounting

2 possible cable outputs: It is possible to extend the connection cable to the device controlled by the front panel, or to the rear part, in the junction box.
- Outside cable output
- Under the housing
- Cable output into the wall
- On the back of the case in a recessed box (not supplied).

- On the back of the case in a recessed box (not supplied).
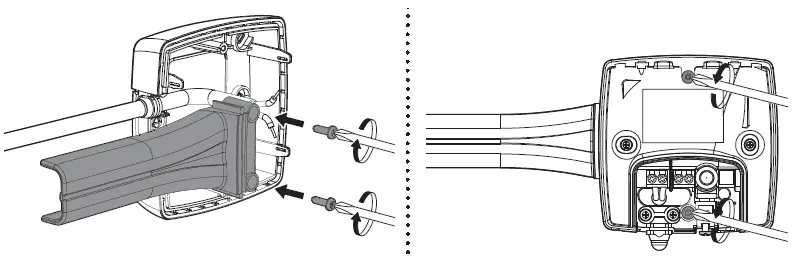
Cable output under housing
- Remove the cable clamp present on the receiver.
- Cut the sealing cap with a cutter and pass through the cable of the device to be connected.

- Make the electrical connection to the device.
- Put the sealing cap in the dedicated area.

- Replace and tighten the cable clamp.
- Using the 2 mounting screws provided, mount the receiver on the recessed box.

Cable output at the back
- Make the electrical connection (see page 1).

- Put the cables to be connected in t area provided for this purpose
- Using the 2 mounting screws provided, mount the receiver on the recessed box.

Surface mounting
Be sure to maintain the connection cables in accord- ance with the applicable installation standard.
3 possible cable output:
The connection cable can be routed to the controlled device from the front, back, wall or side, using the cable guide (not supplied).
- External cable output
- Under the housing
- Cable output in the wall
- On the back of the case in a junction box (not supplied)
- Cable output from the side
- On the side of the housing with the cable guide (not supplied), to the right or left of the device to be controlled

- On the side of the housing with the cable guide (not supplied), to the right or left of the device to be controlled
Cable output at the back
- Pre-drill the holes used for mounting the wall base to the wall.
- In the case of a cable output in the wall, cut the breakable area at the back of the wall base.

- Secure the wall base with the two screws and plugs provided.
- Using the 2 mounting screws provided, mount the receiver on the recessed box.

Using the cable guide (not supplied - Cut the sealing cap with a cutter and pass it through the cable of the device to be connected.
- Put the sealing cap in the dedicated area.

- Position the cable guide.
- Using the 2 mounting screws provided, mount the receiver on the recessed box.

Closing the housing
- Replace the product cover.

- Lock the cover by tightening the screw below.

OPERATING
RF PAIRING BETWEEN THE THERMOSTAT AND THE RECEIVER
The receiver and the thermostat are not linked at the factory. For the transmission to work, the receiver must learn the transmitter (thermostat) code. Take the installation manual of the thermostat to be linked with you to carry out the learning stage. This operation is reserved for a qualified professional installer.
Connection to the thermostat
This wall-mounted receiver has been specially designed to be connected directly to your smart thermostat. To connect the receiver to your thermostat, proceed in the following order:
- On the wall-mounted receiver, press and hold the left button until its green light flashes. If you have made a mistake, press the button again for about 5 seconds to stop the process.

- Put your thermostat in connection mode. Please refer to the instructions in your thermostat’s user manual and let the you guide through the process until your receiver is fully connected.
- When the left light is green fixed, the receiver is connected to the intelligent thermostat.
Pairing cancellation
Via the thermostat
Please refer to the instructions in your thermostat 10 sec. manual
Via the receiver
Keep button 1 pressed for at least 10 seconds without releasing it
- After 5 seconds, the light on button 1 starts to flash green, the associated with the thermostat b ins.
- After 10 seconds, the receiver erases the radio association code with the thermostat, when the light on button 1 is steady red, your receiver is no longer associated with the thermostat. You can release button 1.
Remove the receiver from the thermostat to complete the pairing cancellation (please refer to the instructions in your thermostat manual).
MANUAL TEST OF THE RECEIVER OUTPUT
You can manually test the receiver and temporarily force the receiver to turn on with a quick press on button 2: The second light indicator will be turned on. Then with the successive presses, the light 2 indicator will switch successively from turned on (relay on) to turn off (relay off). This manual command will be canceled at the next order received by the receiver. Forced mode duration is 1hr maximum.
TROUBLESHOOTING
IN CASE OF POWER FAILURE
The device will start up again without any outside input being required – you do not have to do anything. When the main power supply returns, your device will again oper ate in the mode which was active before the power cut.
DIAGNOSIS SUPPORT
Receive
The receiver is not working:
- No power supply to the receiver: check the circuit breaker or the fuse in the power supply circuit.
- Another emitter may be causing inference which is preventing, the link be- tween the thermostat and the receiver from working properly.
The 2 receiver lights are blinking orange.
- Contact your installer.
The 2 receiver lights are blinking red.
- Contact your installer.
- Thermostat/receiver RF transmission
The radio transmission does not work properly:
Beforehand:
- Check the level of radio transmission please refer to the instructions in your paired product). If the level is low, make sure that the radio transmission has not been interrupted, move the thermostat closer to the receiver.
- Check that the receiver is not influenced by an external heat source.
- The receiver does not receive orders sent by the thermostat. Cancel the radio association on the ther mostat then repeat the radio association procedure (see on the left).
- The receiver does not recognize the ra- dio message from the thermostat. Renew the association procedure (see on the left).
- The receiver or the thermostat is disturbed by interference:
- Move the thermostat out of the disturbed area.
- Move the parasitic transmitter.
- Loss of radio link between the device and the thermostat:
- Repeat the radio association procedure (see on the left). If the problem persists, then contact your re-seller/installer.
TECHNICAL SPECIFICATIONS
- Mains supply: 230V AC + 10/-15%, 50 Hz. Potentialiste relay output 10A between terminals 1 and 2 (on resistive load) 230V.
- Power in standby mode: <0.5W.
- Automatic action: 100 000 cycles.
- Micro disconnection: Type 1B.
- Safety: Class Il/ IP44 wall mounted and IPX3 semi-flush mounted.
- Pollution degree: 2.
- Rated impulse voltage: 4000V. Lora RF port (connection with thermostat):
- Radiofrequency: 869.85Mhz +/- 62.5KHz.
- Radio power: <15dbm.
- Receiver category: 3
Dimensions:
- Case (mounting on recessed box): 90 x 89.5 x 19mm.
Environment:
- Operation: 0°C to +40°C.
- Storage: -20°C to + 60°C.
- Humidity: 80% at 25°C (non-condens- ing).
Manufactured by: IMHOTEP creation ([email protected])
- Imported by: Neomitis Ltd ([email protected]) Both IMHOTEP creation & Neomitis Ltd are part of Axenco Group.
Simplified UKCA Declaration of conformity: Hereby, NEOMITIS Limited declares that the radio equipment type ER1C1 is in compliance with Radio Equipment Regulations 2017 (2017 No. 1206) and RoHS Regulations 2012 (2012 No.3032). The full text of the UKCA declaration of conformity is available at the following internet address: www.neomitis.com.Simplified EU Declaration of conformity: Hereby, IMHOTEP création, declares that the radio equipment type, ER1C1, is in compliance with directive 2014/53/EU and 2011/65/EU. The full text of the EU declaration of conformity is available at the following internet address: www.imhotepcreation.com. The products described in these instructions are manufactured using processes that are certified ISO 9001 V2015.
The symbol, affixed on the product indicates that you must dispose of it at the end of its useful life at a special recycling point, in accordance with European Direc tive WEEE 2012/19/EU. If you are replacing it, you can also return it to the retailer from which you buy the replacement equipment. Thus, it is not ordinary household waste. Recycling products enables us to protect the environment and to use less natural re- Sources.
PRODUCT CODE
The product described in this instruction manual are related to the below product code and reference:
- ER1C1
- Mineo stat 1 channel radio receiver for connected thermostat
LIMITED – 16 Great Queen Street, Covent Garden, London, Wc2B SAH UNITED KINGDOM Registered in England and Wales No: 9543404 Tel: +44 (0) 2071 250 236- Fax: +44 (0) 2071 250 267-E-mail: [email protected]
































