DEFA APDF711310 E-Connect EV Charging Cable User Manual
Safety information
Warning! Read this document before using the charging cable. Failure to follow any of the instructions or warnings can result in material damage or personal injury!
WARNINGS
- The charging cable is designed only for Mode 3 EV charging. Do not use it for any other purpose.
- Do not use extension cord or adapter.
- Do not use the charging cable if it is defective or appears cracked, frayed, broken
or otherwise damaged. - Do not plug the charging cable into a damaged, loose or worn power outlet.
- Do not allow water to enter the electrical outlet or vehicle charging port while charging.
- Do not insert the plug if the electrical outlet is wet or covered in snow.
HANDLING
Handle the charging cable with care and do not subject it to strong force or impact. Do not pull, twist, tangle, drag or step on the charging cable.



The docking unit is an accessory, see Accessories and spare parts for information
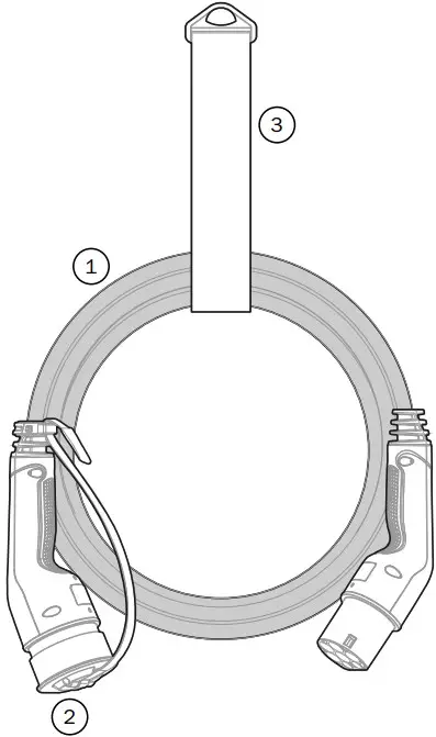
Components
- Charging cable
- Plug cap
- Storage strap
- Vehicle plug
- Charging station plug


How to charge
Please read your vehicle’s charging instructions before using the charging cable.
PLUG IN
Check the outlet on charging station and the inlet on vehicle before inserting the plugs.
- Insert the vehicle plug into the vehicle inlet
- Insert the charging station plug into the charging station
Make sure both plugs are properly connected and charging starts.
Do not disconnect the charging cable from the charging station while the vehicle is charging.
UNPLUG
After charging is completed or terminated:
- Unplug the charging cable from the vehicle
- Unplug the charging cable from the charging station
PROPER CONNECTION
The plug must be fully inserted into the outlet of the charging station. Failure to do so will prevent the charging station from locking the plug in place and start charging.

PLUG CAP
The plug strap can adjust the cap’s position. This prevents the cap from collecting water and dirt, and keeps the cap clear of the vehicle during charging.

Maintenance, cleaning and storage
MAINTENANCE
Keep the plugs dry and check them regularly for dust, dirt, pebbles, etc. Remove the plug from the charging station occasionally, do not leave it in the outlet.
CLEANING
When cleaning the charging cable, make sure it is disconnected. Avoid using water or harsh chemicals when cleaning the cable, a damp cloth is suffcient.
STORAGE
Attach the plug cap to protect the plug when storing the cable. Use the storage strap to coil the charging cable for storage or transportaion.
Accessories and spare parts
For information regarding accessories and spare parts, please visit defa.com/ev-charging.
Contact information
Visit defa.com to fnd your country’s contact information.
Technical specifcations
| IP rating, connected | IP44 |
| Operating temperature [°C] | -40 to +55 |
| Storage temperature [°C] | -50 to +85 |
| Charging cable type | Mode 3 |
| Connection to vehicle/charging station | Type 2 / Type 2 |
| Certifcation | IEC 62196-1, IEC 62196-2 |
| Recycling | EE-waste |
Products, product specifcations and data are subject to change without prior notice. See defa.com for the latest revision of this user manual.




















