
Refrigerator
User Manual

RCHE390K30XPN
![]()
Please read this user manual first!
Dear Customer,
We hope that your product, which has been produced in modern plants and checked under the most meticulous quality control procedures, will provide you with an effective service.
Therefore, read this entire user manual carefully before using the product and keep it as a reference. If you hand over the product to someone else, give the user manual as well.
The user manual will help you use the product in a fast and safe way.
- Read the manual before installing and operating the product.
- Make sure you read the safety instructions.
- Keep the manual in an easily accessible place as you may need it later.
- Read the other documents given with the product.
Remember that this user manual is also applicable for several other models.
Differences between models will be identified in the manual.
Explanation of symbols
Throughout this user manual the following symbols are used:
Important information or useful tips.
Warning against dangerous conditions for life and property.
Warning against electric voltage.
INFORMATION



The model information is stored in the product database and can be reached by entering the following website and searching for your model identifier (*) found on the energy label.
https://eprel.ec.europa.eu/
Your refrigerator

| 1. Adjustable door shelves 2. Egg section 3. Bottle shelf 4. Adjustable Front Feet 5. Freezing and Storage (store fresh food to be frozen lower down) | 6. Freezer compartment 7. The dairy (cold storage) bin 8. Adjustable shelves 9. Wine rack 10. Thermostat knob |
Figures that take place in this instruction manual are schematic and may not correspond exactly with your product. If the subject parts are not included in the product you have purchased, then it is valid for other models.
Important Safety Warnings
Please review the following information. Failure to observe this information may cause injuries or material damage. Otherwise, all warranty and reliability commitments will become invalid.
Original spare parts will be provided for 10 years, following the product purchasing date.
Intended use
| WARNING: Keep ventilation openings, in the appliance enclosure or in the built-in structure, clear of obstruction. | |
| WARNING: Do not use mechanical devices or other means to accelerate the defrosting process, other than those recommended by the manufacturer. | |
| WARNING: Do not damage the refrigerant circuit. | |
| WARNING: Do not use electrical appliances inside the food storage compartments of the appliance, unless they are of the type recommended by the manufacturer. | |
| WARNING: Do not store explosive substances such as aerosol cans with a flammable propellant in this appliance. |
This appliance is intended to be used in household and similar applications such as
– staff kitchen areas in shops, offices, and other working environments;
– farmhouses and by clients in hotels, motels, and other residential type environments;
– bed and breakfast type environments;
– catering and similar non-retail applications.
General safety
- When you want to dispose of/ scrap the product, we recommend you to consult the authorized service in order to learn the required information and authorized bodies.
- Consult your authorized service for all your questions and problems related to the refrigerator. Do not intervene or let someone intervene to the refrigerator without notifying the authorized services.
- For products with a freezer compartment; Do not eat cone ice cream and ice cubes immediately after you take them out of the freezer compartment! (This may cause frostbite in your mouth.)
- For products with a freezer compartment; Do not put bottled and canned liquid beverages in the freezer compartment. Otherwise, these may burst.
- Do not touch frozen food by hand; it may stick to your hand.
- Unplug your refrigerator before cleaning or defrosting.
- Vapor and vaporized cleaning materials should never be used in the cleaning and defrosting processes of your refrigerator. In such cases, the vapor may get in contact with the electrical parts and cause a short circuit or electric shock.
- Never use the parts on your refrigerator such as the door as a means of support or step.
- Do not use electrical devices inside the refrigerator.
- Do not damage the parts, where the refrigerant is circulating, with drilling or cutting tools. The refrigerant that might blow out when the gas channels of the evaporator, pipe extensions, or surface coatings are punctured causes skin irritations and eye injuries.
- Do not cover or block the ventilation holes on your refrigerator with any material.
- Electrical devices must be repaired by only authorized persons. Repairs performed by incompetent persons create a risk for the user.
- In case of any failure or during maintenance or repair work, disconnect your refrigerator’s mains supply by either turning off the relevant fuse or unplugging your appliance.
- Do not pull by the cable when pulling off the plug.
- Ensure highly alcoholic beverages are stored securely with the lid fastened and placed upright.
- Never store spray cans containing flammable and explosive substances in the refrigerator.
- Do not use mechanical devices or other means to accelerate the defrosting process, other than those recommended by the manufacturer.
- This product is not intended to be used by persons with physical, sensory, or mental disorders or unlearned or inexperienced people (including children) unless they are attended by a person who will be responsible for their safety or who will instruct them accordingly for use of the product
- Do not operate a damaged refrigerator. Consult with the service agent if you have any concerns.
- The electrical safety of your refrigerator shall be guaranteed only if the earth system in your house complies with standards.
- Exposing the product to rain, snow, sun, and wind is dangerous with respect to electrical safety.
- Contact authorized service when there is power cable damage to avoid danger.
- Never plug the refrigerator into the wall outlet during installation. Otherwise, the risk of death or serious injury may arise.
- This refrigerator is intended for only storing food items. It must not be used for any other purpose.
- The label of technical specifications is located on the left wall inside the refrigerator.
- Never connect your refrigerator to electricity-saving systems; they may damage the refrigerator.
- If there is a blue light on the refrigerator, do not look at the blue light with optical tools.
- For manually controlled refrigerators, wait for at least 5 minutes to start the refrigerator after power failure.
- This operation manual should be handed to the new owner of the product when it is given to others.
- Avoid causing damage to the power cable when transporting the refrigerator.
Bending cable may cause a fire.
Never place heavy objects on the power cable. Do not touch the plug with wet hands when plugging the product
- Do not plug the refrigerator if the wall outlet is loose.
- Water should not be sprayed on the inner or outer parts of the product for safety purposes.
- Do not spray substances containing inflammable gases such as propane gas near the refrigerator to avoid fire and explosion risks.
- Never place containers filled with water on top of the refrigerator; in the event of spillages, this may cause electric shock or fire.
- Do not overload the refrigerator with food. If overloaded, the food items may fall down and hurt you and damage the refrigerator when you open the door.
- Never place objects on top of the refrigerator; otherwise, these objects may fall down when you open or close the refrigerator’s door.
- As they require a precise temperature, vaccines, heat-sensitive medicine and scientific materials and etc. should not be kept in the refrigerator.
- If not to be used for a long time, the refrigerator should be unplugged. A possible problem in the power cable may cause a fire.
- The refrigerator may move if adjustable legs are not properly secured on the floor. Properly securing adjustable legs on the floor can prevent the refrigerator to move.
- When carrying the refrigerator, do not hold it from the door handle. Otherwise, it may be snapped.
- When you have to place your product next to another refrigerator or freezer, the distance between devices should be at least 8cm. Otherwise, adjacent sidewalls may be humidified.
- The product shall never be used while the compartment which is located at the top or back of your product and in which electronic boards are available (electronic board box cover) (1) is open.

For products with a water dispenser;
- Pressure for cold water inlet shall be maximum of 90 psi (6.2 bar). If your water pressure exceeds 80 psi (5.5 bar), use a pressure limiting valve in your mains system. If you do not know how to check your water pressure, ask for the help of a professional plumber.
- If there is a risk of water hammer effect in your installation, always use water hammer prevention equipment in your installation. Consult Professional plumbers if you are not sure that there is no water hammer effect in your installation.
- Do not install it on the hot water inlet. Take precautions against the risk of freezing the hoses. The water temperature operating interval shall be 33°F (0.6°C) minimum and 100°F (38°C) maximum.
- Use only potable water.
Child safety
- If the door has a lock, the key should be kept away from the reach of children.
- Children must be supervised to prevent them from tampering with the product.
Compliance with the WEEE Directive and Disposing of the Waste Product:
This product complies with EU WEEE Directive (2012/19/ EU). This product bears a classification symbol for waste electrical and electronic equipment (WEEE).
This product has been manufactured with high-quality parts and materials which can be reused and are suitable for recycling. Therefore, do not dispose of the product with normal domestic waste at the end of its service life. Take it to a collection point for the recycling of electrical and electronic equipment. Please consult your local authorities to learn the nearest collection point. Help protect the environment and natural resources by recycling used products. For children’s safety, cut the power cable and break the locking mechanism of the door, if any, so that it will be non-functional before disposing of the product.
Package information
Packaging materials of the product are manufactured from recyclable materials in accordance with our National Environment Regulations. Do not dispose of the packaging materials together with the domestic or other wastes. Take them to the packaging material collection points designated by the local authorities.
Do not forget…
Any recycled substance is an indispensable matter for nature and our national asset wealth. If you want to contribute to the re-evaluation of the packaging materials, you can consult your environmentalist organizations or the municipalities where you are located.
HC warning
If your product’s cooling system contains R600a: This gas is flammable. Therefore, pay attention to not damaging the cooling system and piping during usage and transportation. In the event of damage, keep your product away from potential fire sources that can cause the product to catch a fire and ventilate the room in which the unit is placed.
Ignore this warning if your product’s cooling system contains R134a.
The type of gas used in the product is stated on the type label which is on the left wall inside the refrigerator. Never throw the product on the fire for disposal.
Things to be done for energy saving
- Do not leave the doors of your refrigerator open for a long time.
- Do not put hot food or drinks in your refrigerator.
- Do not overload your refrigerator so that the air circulation inside of it is not prevented.
- Do not install your refrigerator under direct sunlight or near heat-emitting appliances such as ovens, dishwashers, or radiators. Keep your refrigerator at least 30cm away from heat emitting sources and at least 5cm from electrical ovens.
- Pay attention to keeping your food in closed containers.
- For products with a freezer compartment; You can store the maximum amount of food items in the freezer when you remove the shelf or drawer of the freezer. The energy consumption value stated for your refrigerator has been determined by removing the freezer shelf or drawer and under maximum load. There is no harm to use a shelf or drawer according to the shapes and size of the food to be frozen.
- Thawing frozen food in the fridge compartment will both provide energy savings and preserve the food quality.
Installation
In case the information which is given in the user manual is not taken into account, the manufacturer will not assume any liability for this.
Points to be paid attention to when the relocation of the refrigerator
- Your refrigerator should be unplugged. Before transportation of your refrigerator, it should be emptied and cleaned.
- Before it is re-packaged, shelves, accessories, crisper, etc. inside your refrigerator should be fixed with adhesive tape and secured against impacts. The package should be bound with thick tape or sound ropes and the transportation rules on the package should be strictly observed.
- Original packaging and foam materials should be kept for future transportation or moving. Before you start the refrigerator,
Check the following before you start to use your refrigerator:
- Attach 2 plastic wedges as illustrated below. Plastic wedges are intended to keep the distance which will ensure the air circulation between your refrigerator and the wall. (The picture is drawn up as a representation and it is not identical to your product.)
- Clean the interior of the refrigerator as recommended in the “Maintenance and cleaning” section.
- Connect the plug of the refrigerator to the wall socket. When the fridge door is opened, the fridge’s internal lamp will turn on.

- When the compressor starts to operate, a sound will be heard. The liquid and gases sealed within the refrigeration system may also give rise to noise, even if the compressor is not running and this is quite normal.
- The front edges of the refrigerator may feel warm. This is normal. These areas are designed to be warm to avoid condensation.
Electrical connection
Connect your product to a grounded socket that is being protected by a fuse with the appropriate capacity.
Important:
The connection must be in compliance with national regulations.
- The power plug must be easily accessible after installation.
- The electrical safety of your refrigerator shall be guaranteed only if the earth system in your house complies with standards.
- The voltage stated on the label located on the left inner side of your product should be equal to your network voltage.
- Extension cables and multi-plugs must not be used for the connection.
A damaged power cable must be replaced by a qualified electrician.
The product must not be operated before it is repaired! There is the risk of electric shock!
Disposing of the packaging
The packing materials may be dangerous for children. Keep the packing materials out of the reach of children or dispose of them by classifying them in accordance with the waste instructions stated by your local authorities. Do not throw away with regular house waste, throw away at packaging pick-up spots designated by the local authorities.
The packing of your refrigerator is produced from recyclable materials.
Disposing of your old refrigerator
Dispose of your old refrigerator without giving any harm to the environment.
- You may consult your authorized dealer or waste collection center of your municipality about the disposal of your refrigerator.
Before disposing of your refrigerator, cut out the electric plug and, if there are any locks on the door, make them inoperable in order to protect children against any danger.
Placing and Installation
If the entrance door of the room where the refrigerator will be installed is not wide enough for the refrigerator to pass through, then call the authorized service to have them remove the doors of your refrigerator and pass it sideways through the door.
- Install your refrigerator to a place that allows ease of use.
- Keep your refrigerator away from heat sources, humid places, and direct sunlight.
- There must be appropriate air ventilation around your refrigerator in order to achieve an efficient operation. If the refrigerator is to be placed in a recess in the wall, there must be at least 5 cm distance from the ceiling and at least 5 cm from the wall. Do not place your product on the materials such as rugs or carpets.
- Place your refrigerator on an even floor surface to prevent jolts.
Adjusting the legs
If your refrigerator is unbalanced; You can balance your refrigerator by turning its front legs as illustrated in the figure. The corner where the leg exists is lowered when you turn in the direction of the black arrow and raised when you turn in the opposite direction. Taking help from someone to slightly lift the refrigerator will facilitate this process.

Changing the illumination lamp
To change the Bulb/LED used for the illumination of your refrigerator, call your authorized service.
The lamp(s) used in this appliance is not suitable for household room illumination. The intended purpose of this lamp is to assist the user to place foodstuffs in the refrigerator/ freezer in a safe and comfortable way. The lamps used in this appliance have to withstand extreme physical conditions such as temperatures below -20 °C.
(only chest and upright freezer)
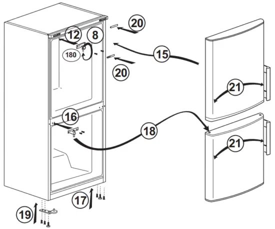
Reversing the doors
Proceed in numerical order.
![]() | ![]() |
Preparation
- For a freestanding appliance; ‘this refrigerating appliance is not intended to be used as a built-in appliance’;.
- Your refrigerator should be installed at least 30 cm away from heat sources such as hobs, ovens, central heaters,s, and stoves and at least 5 cm away from electrical ovens and should not be located under direct sunlight.
- The ambient temperature of the room where you install your refrigerator should at least be -15°C. Operating your refrigerator under colder conditions than this is not recommended.
- Please make sure that the interior of your refrigerator is cleaned thoroughly.
- If two refrigerators are to be installed side by side, there should be at least a 2 cm distance between them.
- When you operate your refrigerator for the first time, please observe the following instructions during the initial six hours.
- The door should not be opened frequently.
- It must be operated empty without any food in it.
- Do not unplug your refrigerator. If a power failure occurs out of your control, please see the warnings in the “Recommended solutions for the problems” section.
- Original packaging and foam materials should be kept for future transportation or moving.
- The baskets/drawers that are provided with the chill compartment must always be in use for low energy consumption and for better storage conditions.
- Food contact with the temperature sensor in the freezer compartment may increase the energy consumption of the appliance. Thus any contact with the sensor(s) must be avoided.
- In some models, the instrument panel automatically turns off 5 minutes after the door has closed. It will be reactivated when the door has opened or pressed any key.
- Due to temperature change as a result of opening/closing the product door during operation, condensation on the door/body shelves and the glass containers is normal.
- Since hot and humid air will not directly penetrate into your product when the doors are not opened, your product will optimize itself in conditions sufficient to protect your food. Functions and components such as compressor, fan, heater, defrost, lighting, display, and so on will operate according to the needs to consume minimum energy under these circumstances.
The interior temperature of your refrigerator changes for the following reasons;
- Seasonal temperatures,
- Frequent opening of the door and leaving the door open for long periods,
- Food is put into the refrigerator without cooling down to the room temperature,
- The location of the refrigerator in the room (e.g. exposure to sunlight).
- You may adjust the varying interior temperature due to such reasons by using the thermostat. Numbers around the thermostat button indicate the cooling degrees.
- If the ambient temperature is higher than 25°C, turn the thermostat button to the maximum position.
- If the ambient temperature is lower than 25°C, turn the thermostat button to the minimum position.
- Check the flow of the thawed water from time to time. It may become blocked occasionally. Clean it with a pipe-cleaner or similar implement as shown below.

Using your refrigerator
Temperature Control And Adjustment

The operating temperature is regulated by temperature control.

1=Lowest cooling setting (Warmest setting).
5=Highest cooling setting (Coldest setting).
The average temperature inside the fridge should be around +5°C.
Please choose the setting according to the desired temperature.
Please note that there will be different temperatures in the cooling area.
The coldest region is immediately above the vegetable compartment.
The interior temperature also depends on ambient temperature, the frequency with which the door is opened, and the number of foods kept inside.
Frequently opening the door causes the interior temperature to rise.
For this reason, it is recommended to close the door again as soon as possible after use.
Chiller Compartment
With the help of the 0 °C compartments, you can keep your meat, fish, and wrapped food 2-3 times longer than a standard fridge compartment.
The air inside this compartment is drier than in other zones.
The average temperature inside this compartment is around 0 °C.
Do not store fruits and vegetables in this compartment.
Freezing fresh food
- It must be preferred to wrap or cover the food before placing them in the refrigerator.
- Hot food must cool down to room temperature before putting them in the refrigerator.
- The foodstuff that you want to freeze must be fresh and of good quality.
- Foodstuff must be divided into portions according to the family’s daily or meal-based consumption needs.
- The foodstuff must be packaged in an airtight manner to prevent them from drying even if they are going to be kept for a short time.
- Materials to be used for packaging must be tear-proof and resistant to cold, humidity, odor, oils, and acids and they must also be airtight. Moreover, they must be well closed and they must be made from easy-to-use materials that are suitable for deep-freeze usage.
- Frozen food must be used immediately after they are thawed and it should never be re-frozen.
- Please observe the following instructions to obtain the best results.
- Do not freeze too large quantities of food at one time. The quality of the food is best preserved when it is frozen right through to the core as quickly as possible.
- Placing warm food into the freezer compartment causes the cooling system to operate continuously until the food is frozen solid.
- Take special care not to mix already frozen food and fresh food.
Recommendations for the preservation of frozen food
- Prepacked commercially frozen food should be stored in accordance with the frozen food manufacturer’s instructions for a
( 4 star) frozen food storage compartment. - To ensure that the high quality achieved by the frozen food manufacturer and the food retailer is maintained, the following should be remembered:
1. Put packages in the freezer as quickly as possible after purchase.
2. Ensure that contents are labeled and dated.
3. Do not exceed the “Use By”, and “Best Before” dates on the packaging.
Defrosting
The freezer compartment defrosts automatically.
Placing the food
| Freezer compartment shelves | Various frozen food such as meat, fish, ice cream, vegetables and etc. |
| Egg tray | Egg |
| Fridge compartment shelves | Food in pans, covered plates, and closed containers |
| Fridge compartment door shelves | Small and packaged food or drinks (such as milk, fruit juice, and beer) |
| Crisper | Vegetables and fruits |
| Freshzone compartment | Delicatessen products (cheese, butter, salami and etc.) |
Deep-freeze information
Food must be frozen as rapidly as possible when they are put in a refrigerator in order to keep them of good quality.
It is possible to keep the food for a long time only at -18°C or lower temperatures.
You can keep the freshness of food for many months (at -18°C or lower temperatures in the deep freeze).
WARNING! ![]()
- Foodstuff must be divided into portions according to the family’s daily or meal-based consumption needs.
- Foodstuff must be packaged in an airtight manner to prevent them from drying even if they are going to be kept for a short time.
- Materials necessary for packaging:
- Cold-resistant adhesive tape
- Self-adhesive label
- Rubber rings
- Pen
Materials to be used for packaging the foodstuff must be tear-proof and resistant to cold, humidity, odor, oils, and acids.
Foodstuff to be frozen should not be allowed to come in contact with the previously frozen items to prevent their partial thawing.
Frozen food must be used immediately after they are thawed and it should never be re-frozen.
Recommendations for fresh food compartment
* OPTIONAL
- In case of multiple options are present glass shelves must be placed so that the air outlets at the back wall are not blocked, preferably air outlets are remaining below the glass shelf.
- This combination may help improving air distribution and energy efficiency.

The dairy (cold storage) bin
Provides a lower temperature within the refrigerator compartment. Use this bin to store delicatessen (salami, sausages, dairy products and etc. ) that requires lower storage temperature or meat, chicken, or fish products for immediate consumption. Do not store fruits and vegetables inside this bin.
Maintenance and cleaning
Never use gasoline, benzene, or similar substances for cleaning purposes.
We recommend that you unplug the appliance before cleaning.
Never use any sharp abrasive instrument, soap, household cleaner, detergent, and wax polish for cleaning.
In producten die geen No Frost hebben ontstaan er op de achterwand van het koelvak waterdruppels en een vingerdikke ijslaag. Maak het niet schoon; doe er nooit olie op soortgelijke middelen op.
Gebruik uitsluitend licht vochtige microvezeldoeken om de buitenkant van het product schoon te maken. Sponzen en andere soorten schoonmaakdoeken kunnen het oppervlak krassen.
For non-No Frost products, water drops, and frosting up to a fingerbreadth occur on the rear wall of the Fridge compartment. Do not clean it; never apply oil or similar agents to it.
Only use slightly damp microfiber cloths to clean the outer surface of the product. Sponges and other types of cleaning cloths may scratch the surface.
Use lukewarm water to clean the cabinet of your refrigerator and wipe it dry.
Use a damp cloth wrung out in a solution of one teaspoon of bicarbonate of soda to one pint of water to clean the interior and wipe it dry.
Make sure that no water enters the lamp housing and other electrical items.
If your refrigerator is not going to be used for a long period of time, unplug the power cable, remove all food, clean it and leave the door ajar.
Check door seals regularly to ensure they are clean and free from food particles.
To remove, the door racks, remove all the contents and then simply push the door rack upwards from the base.
Never use cleaning agents or water that contains chlorine to clean the outer surfaces and chromium-coated parts of the product. Chlorine causes corrosion on such metal surfaces.
Do not use sharp, abrasive tools, soap, household cleaning agents, detergents, kerosene, fuel oil, varnish, etc. to prevent removal and deformation of the prints on the plastic part. Use lukewarm water and a soft cloth for cleaning and then wipe it dry.
Protection of plastic surfaces
Do not put the liquid oils or oil-cooked meals in your refrigerator in unsealed containers as they damage the plastic surfaces of your refrigerator. In case of spilling or smearing oil on the plastic surfaces, clean and rinse the relevant part of the surface at once with warm water.
Troubleshooting
Please review this list before calling the service. It will save your time and money. This list includes frequent complaints that are not arising from defective workmanship or material usage. Some of the features described here may not exist in your product.
The refrigerator does not operate.
- The plug is not inserted into the socket correctly. >>>Insert the plug into the socket securely.
- The fuse of the socket to which your refrigerator is connected or the main fuse has blown out. >>>Check the fuse.
Condensation on the sidewall of the fridge compartment (MULTIZONE, COOL CONTROL, and FLEXI ZONE).
- The door has been opened frequently. >>>Do not open and close the door of the refrigerator frequently.
- The ambient is very humid. >>>Do not install your refrigerator in highly humid places.
- Food containing liquid is stored in open containers. >>>Do not store food with liquid content in open containers.
- The door of the refrigerator is left ajar. >>>Close the door of the refrigerator.
- Thermostat is set to a very cold level. >>>Set the thermostat to a suitable level.
- The compressor is not running
- The Protective thermic of the compressor will blow out during sudden power failures or plug-out plug-ins as the refrigerant pressure in the cooling system of the refrigerator has not been balanced yet. The refrigerator will start running approximately after 6 minutes. Please call the service if the refrigerator does not startup at the end of this period.
- The fridge is in defrost cycle. >>>This is normal for a full-automatically defrosting refrigerator. Defrosting cycle occurs periodically.
- The refrigerator is not plugged into the socket. >>>Make sure that the plug is fitted into the socket.
- Temperature settings are not made correctly. >>>Select the suitable temperature value.
- There is a power outage. >>>Refrigerator returns to normal operation when the power restores.
The operation noise increases when the refrigerator is running.
- The operating performance of the refrigerator may change due to the changes in the ambient temperature. It is normal and not a fault.
The refrigerator is running frequently or for a long time.
- The new product may be wider than the previous one. Larger refrigerators operate for a longer period of time.
- The room temperature may be high. >>>It is normal that the product operates for longer periods in hot ambient.
- The refrigerator might be plugged in recently or might be loaded with food. >>>When the refrigerator is plugged in or loaded with food recently, it will take longer for it to attain the set temperature. This is normal.
- Large amounts of hot food might be put in the refrigerator recently. >>>Do not put hot food into the refrigerator.
- Doors might be opened frequently or left ajar for a long time. >>>The warm air that has entered the refrigerator causes the refrigerator to run for longer periods. Do not open the doors frequently.
- The freezer or fridge compartment door might be left ajar. >>>Check if the doors are closed completely.
- The refrigerator is adjusted to a very low temperature. >>>Adjust the refrigerator temperature to a warmer degree and wait until the temperature is
achieved. - The door seal of the fridge or freezer may be soiled, worn out, broken, or not properly seated. >>>Clean or replace the seal. A damaged/broken seal causes the refrigerator to run for a longer period of time in order to maintain the current temperature.
The freezer temperature is very low while the fridge temperature is sufficient.
- The freezer temperature is adjusted to a very low value. >>>Adjust the freezer temperature to a warmer degree and check.
The fridge temperature is very low while the freezer temperature is sufficient.
- The fridge temperature is adjusted to a very low value. >>>Adjust the fridge temperature to a warmer degree and check.
Food kept in the fridge compartment drawers is frozen.
- The fridge temperature is adjusted to a very high value. >>>Adjust the fridge temperature to a lower value and check.
The temperature in the fridge or freezer is very high.
- The fridge temperature is adjusted to a very high value. >>>Fridge compartment temperature setting has an effect on the temperature of the freezer. Change the temperatures of the fridge or freezer and wait until the relevant compartments attain a sufficient temperature.
- Doors are opened frequently or left ajar for a long time. >>>Do not open the doors frequently.
- The door is ajar. >>>Close the door completely.
- The refrigerator is plugged in or loaded with food recently. >>>This is normal.
When the refrigerator is plugged in or loaded with food recently, it will take longer for it to attain the set temperature.
- Large amounts of hot food might be put in the refrigerator recently. >>>Do not put hot food into the refrigerator.
- Vibrations or noise.
- The floor is not level or stable. >>> If the refrigerator rocks when moved slowly, balance it by adjusting its feet. Also, make sure that the floor is strong enough to carry the refrigerator and level.
- The items put in the refrigerator may cause noise. >>>Remove the items on top of the refrigerator.
There are noises coming from the refrigerator like liquid flowing, spraying, etc.
- Liquid and gas flows occur in accordance with the operating principles of your refrigerator. It is normal and not a fault.
The whistle comes from the refrigerator.
- Fans are used in order to cool the refrigerator. It is normal and not a fault.
Condensation on the inner walls of the refrigerator.
- Hot and humid weather increases icing and condensation. It is normal and not a fault.
- Doors are opened frequently or left ajar for a long time. >>>Do not open the doors frequently. Close them if they are open.
- The door is ajar. >>>Close the door completely.
Humidity occurs on the outside of the refrigerator or between the doors.
- There might be humidity in the air; this is quite normal in humid weather.
- When the humidity is less, condensation will disappear.
Bad odor inside the refrigerator.
- No regular cleaning is performed. >>>Clean the inside of the refrigerator regularly with a sponge, lukewarm water, or carbonate dissolved in water.
- Some containers or package materials may cause the smell. >>>Use a different container or different brand packaging material.
- Food is put into the refrigerator in uncovered containers. >>>Keep the food in closed containers. Microorganisms spreading out from uncovered containers can cause unpleasant odors.
- Remove the foods that have expired best before dates and spoiled from the refrigerator.
The door is not closing.
- Food packages are preventing the door from closing. >>>Replace the packages that are obstructing the door.
- The refrigerator is not completely even on the floor. >>>Adjust the feet to balance the refrigerator.
- The floor is not level or strong. >>>Make sure that the floor is level and capable to carry the refrigerator.
Crispers are stuck.
- The food is touching the ceiling of the drawer. >>>Rearrange food in the drawer.
If The Surface Of The Product Is Hot.
- High temperatures may be observed between the two doors, on the side panels, and at the rear grill while the product is operating. This is normal and does not require service maintenance!
DISCLAIMER/WARNING
Some (simple) failures can be adequately handled by the end-user without any safety issue or unsafe use arising, provided that they are carried out within the limits and in accordance with the following instructions (see the “SelfRepair” section).
Therefore, unless otherwise authorized in the “Self-Repair” section below, repairs shall be addressed to registered professional repairers in order to avoid safety issues. A registered professional repairer is a professional repairer that has been granted access to the instructions and spare parts list of this product by the manufacturer according to the methods described in legislative acts pursuant to Directive 2009/125/EC.
However, only the service agent (i.e. authorized professional repairers) that you can reach through the phone number given in the user manual/ warranty card or through your authorized dealer may provide service under the guarantee terms. Therefore, please be advised that repairs by professional repairers (who are not authorized by Beko) shall void the guarantee.
Self-Repair
Self-repair can be done by the end-user with regard to the following spare parts: door handles, door hinges, trays, baskets, and door gaskets (an updated list is also available on support.beko.com as of 1st March 2021). Moreover, to ensure product safety and to prevent the risk of serious injury, the mentioned self-repair shall be done following the instructions in the user manual for self-repair or which are available in support. beko.com. For your safety, unplug the product before attempting any self-repair. Repair and repair attempts by end-users for parts not included in such list and/ or not following the instructions in the user manuals for self-repair or which are available in support.beko.com, might give raise safety issues not attributable to Beko, and will void the warranty of the product.
Therefore, it is highly recommended that end-users refrain from the attempt to carry out repairs falling outside the mentioned list of spare parts, contacting in such cases authorized professional repairers or registered professional repairers. On the contrary, such attempts by end-users may cause safety issues and damage the product and subsequently cause fire, flood, electrocution, and serious personal injury to occur.
By way of example, but not limited to, the following repairs must be addressed to authorized professional repairers or registered professional repairers: compressor, cooling circuit, mainboard, inverter board, display board, etc.
The manufacturer/seller cannot be held liable in any case where end-users do not comply with the above.
The spare part availability of the refrigerator that you purchased is 10 years.
During this period, original spare parts will be available to operate the refrigerator properly
The minimum duration of the guarantee of the refrigerator that you purchased is 24 months.
This product is equipped with a lighting source of the “G” energy class.
The lighting source in this product shall only be replaced by professional repairers.




















