SWIT FLOW10K Rx Wireless SDI HDMI Kit

Preface
- All internal technologies of this product are protected, Including device, software and trademark. Reproduction in whole or in part without written permission is prohibited.
- ALL brands and trademarks of SWIT Electronics Co., Ltd. Are protected and other relative trademarks in this user manual are the property of their respective owners.
- Due to constant effort of product development, SWIT reserves the right to make changes and improvements to the product described in this manual without prior notice.
- The warranty period of this product is one years, and does not cover the following:
- Physical damage to the products
- Any damage or breakdown caused by use, maintenance, or storage not according to the user manual’s introductions.
- The attenuation of signal quality resulting from being used in any special environments.
- Any damage caused by not powering the product by package supplied power adaptor.
- Any damage or breakdown not caused by the product’s design, workmanship, manufacturing, quality, or unauthorized repairs or parts replacement or other operations.
For any suggestions and requirements on this product, please contact us, please contact us through phone, fax, Email, etc.
SWIT Electronics Co., Ltd.
- Address: 10 Hengtong Road, Nanjing Economic and Technological Development Zone,
- Nanjing 210038, P.R.China
- Phone: +86-25-85805753
- Fax: +86-25-85805296
- Email: [email protected]
- http://www.swit.cc
Safety Precautions
Please follow the safety precautions before using. The following conditions are not covered by warranty.
- Unauthorized repairs or other Unauthorized operations.
- Inappropriate placement including but not limited to lighting, fire, exposure to rain, water or gas.
- Using the wrong power supply.
- Warning
- Do not get any liquid inside the products
- Do not block the ventilation openings or put substances inside, in order to avoid short circuit, fire or electric shock.
- Do not place the product in the rain or moisture to avoid electric shock or fire.
- Danger
- Switch the power off before connecting other devices.
- Power socket: Make sure the power socket under the voltage range of the product to avoid short circuit, electric shock and fire.
- Power cable: Make sure the power cable is not pressed or tightened by any items or weights.
- Power Load: Do not exceed the load on the wall outlet, extension cable or other porous receptacle to avoid fire or electric shock.
- Lightning: Disconnect the power cable if it is lightning or not using in a long period of time.
- Working environment
- Please don’t lay the product on any unstable place to avoid fallen damage.
- Please don’t use the product in a place overheating, undercooling or with lots of moisture, or near by strong magnetic devices.
- Please don’t lay the product on metal shelf, in order to ensure the effective wireless transmission.
- Warning
Packing list
| No. | Packing details | Quantity |
| 1 | Transmitter | xl |
| 2 | Receiver | xl |
| 3 | Antenna | x2 |
| 4 | D-tap to lockable pole cable (0.6m) | xl |
| 5 | Power adaptor | xl |
| 6 | User manual | xl |
| 7 | Warranty card | xl |
| 8 | Articulating arm trestle | xl |
Product Introduction
FLOWI0K includes transmitter and receive, adopts the latest encrypted transmission technology, Wireless transmission of HD-SDI and HDMI audio and video signals, dual SDI/HDMI digital audio transmission, Automatic pairing connection, auto and manual frequency choose, equipped with DC power connector.Supports HDMl&SDI signal wirelessly transmitted in 3000 meters scale{Line-of-sight), stable signal quality, Can be used in broadcast live program production, film and television crew director monitoring and other professional video field.
Features
- 3G/HD/SD-SDI & HDMI wireless transmission
Support up to I080PS0/60Hz HD-SDI/HDMI Audio and video wireless transmission. - 3000 meters transmission distance
In open outdoor area, the effective transmission distance is approx. 3000 meters (line of sight). - Wireless frequency
The system adopts SI80~5220MHz and 5760~5820MHz Wireless frequency band (FLOWI0K Tx).Frequency Band and Frequency point CHOO 5180MHz CH04 5780MHz CH0l 5200MHz CH0S 5800MHz CH02 5220MHz CH06 5820MHz CH03 5760MHz I I The system adopts SI82.5~5282.5MHz and 5762.5~5822.SMHz Wireless frequency band (FLOWI0K Rx).
Frequency Band and Frequency point CHOO 5182.5MHz CH04 5782.5MHz CH0l 5202.5MHz CH0S 5802.5MHz CH02 5222.5MHz CH06 5822.5MHz CH03 5762.5MHz I I - Connection mode
Support auto pairing connection & manual switching of frequency points & Multicast – I transmitter to unlimited receivers. - OLED information display
Display current transmission signal format, wireless channel, signal strength and other working status and working parameters. - High quality & Wall through mode
Support I transmitter to unlimited receivers and High quality & Wall through mode choose. - Encryption
Support AES I28-bit encryption to protect the transmission. - All-Metal Shell
Both the transmitter and receiver adopt metal shell which is durable and solid. - All hardware design
The wireless system is hardware and plug-and-play designed, without installing software, easy to set up. - Multiple battery plates change
Transmitter can choose different battery plate according to demand.
Remark:
- The transmission distance may be different, and depending on surroundings, radio wave conditions, buildings, etc., the 3000 meters transmission distance may be not guaranteed in a complex environment.
- The wireless transmission might be interrupted if there’ re other devices of SGhz wireless bandwidth used in the same location.
- Signal reception may be affected by the position, height and angle of devices. If reception video is not stable, please physically adjust placement for the optimized signal.
- Set the antennas straight up and set receiver higher to enhance the transmission efficiency.
Appearance Instruction
Transmitter FLOWl0K

- Antenna
- Product label
- Link: Wireless status indicator.
- Video: Video signal indicator.
- Power: Power status indicator.
- OLED display screen: 0.96 inches OLEO.
- Joystick: Five-direction adjust button. (up, down, left, right, vertical five direction for menu adjusting and confirm.)
- Installation thread: 1/4″ -20 thread. Use the package supplied articulating arm trestle to install the device to the camera.
- USB: Micro USB, firmware upgrade interface.
- HDMI in: HDMI signal input, standard HDMI-A interface.
- Battery plate: Power supply via D & F & U model battery plate. Model D battery we recommend SWIT battery: S-8D98, S-8D58 , S-8D62 which is compatible with Panasonic CGA series: CGA-D54S/D28S, VBD series SVW-VBD58; Model F battery we recommend SWIT battery: S-8972, S-8970,S-8770,S-8975, which is compatible with SONY L series NP-F770/970; Model U battery we recommend SWIT battery LB-SU98, which is compatible with PXW-FX series BP-U60/U30/U90.
- SDI LOOP: SDI signal loop out, standard BNC interface.
- SDI in: SDI signal input, standard BNC interface.
- ON/OFF: Power switch.
- DC in: Support 7,……, 34v wide voltage in put. DC power input interface, 5.5mm (Outer diameter) /2.lmm(lnner diameter), The polarity is inner positive and outer negative.
State indicator light
| Device | Indicator | Status | Description |
|
FLOWl0K Transmitter | Power | Constant On | Power connected and switched on |
| Off | Power disconnected and switched off | ||
| Video | Constant On | There is recognizable video signal input | |
| Flash | There is no recognizable video signal input | ||
| Link | Constant On | The wireless network connection is normal | |
| Flash | The wireless network connection is abnormal |
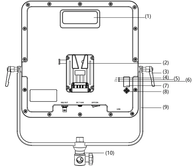
Receiver FLOWl0K

- Handle
- Battery plate: Power supply via V-mount battery. V-mount battery we recommend SWIT battery:: PB-M98S, PB-S98S, PB-S220S.
- Adjustable tightening handle
- Link: Wireless status indicator.
- Video: Video signal indicator.
- Power: Power status indicator.
- OLED display screen: 0.96 inches OLEO.
- Joystick: Five-direction adjust button. (up, down, left, right, vertical five direction for manu adjusting and confirm.)
- Frame
- Bottom bracket

- SDI OUT: SDI signal output, standard BNC interface.
- DC in: Support 7′”-J34V wide voltage input.
DC power input interface, 5.5mm (Outer diameter) /2.lmm(lnner diameter), The polarity is inner positive and outer negative. - OFF/ON: Power switch.
- USB: Micro USB, firmware upgrade interface.
State indicator light
| Device | Indicator | Status | Description |
|
FLOWl0K Receiver | Power | Constant On | Power connected and switched on |
| Off | Power disconnected and switched off | ||
| Video | Constant On | There is recognizable video signal input | |
| Flash | There is no recognizable video signal input | ||
| Link | Constant On | The wireless network connection is normal | |
| Flash | The wireless network connection is abnormal |
- Initial interface (One-to-one mode)
When no signal input, the transmitter is consistent with the receiver display content. See Fig. 1
- Initial interface (One-to-one mode)
When Transmitter and receiver video signal connection normal, the transmitter is consistent with the receiver display content. See Fig 2
- Initial interface (One-to-multi mode)
When the transmitter has no signal input, see Fig. 3
- Initial interface (One-to-multi mode)
When the transmitter video signal is connected normally, as shown in Fig. 4
- Initial interface (One-to-multi mode)
When the receiver has no signal input, see Fig. 5
- Initial interface (One-to-multi mode)
When the receiver video signal is connected normally, as shown in Fig. 6
Tips:- Using joystick(up and down) to change frequency channel, 7 channel in total.
- After changing to One-to-multi mode, There will be a “M” show on the bottom
- Interface changing
- Changing interface in transmitter via using joystick(left and right),see fig .7,8,9.
- Changing interface in receiver via using joystick(left and right),see fig .7, 9.

Tips:- The menu content of transmitter and receiver is different: Quality mode and wall through mode can only be selected in transmitter, see fig.8
- The”MULTI CAST” should change to “ON” in both transmitter and receiver to open one-to-multi mode.(Both transmitter and receiver need to choose “MULTI CAST ON”)
- Support firmware upgrading via USB interface.
- Both transmitter and receiver support manually switch frequency channel.
- Factory setting is “MULTI CAST OFF”.
- Choose “MULTI CAST ON” (The transmitter need to pair with every receiver before using one-to-multimode)
Pairing
- Switch on both FLOWl0K transmitter and receiver; The “POWER” indicator light in every receiver should light up when there are multiple receiver, Waiting for jumping to main interface.
- Right pushing the joystick to “PAIR” interface and choose “YES” in both transmitter and receiver, the”LINK”indicator flashing quickly during pairing(Every receiver should pair with the transmitter separately when using one-to-multi mode) .
- “LINK” indicator will stop flashing after pairing successful. Device in encrypted transmission state.
Tips:- Transmitter and receiver should pair in the same time. Every receiver should pair with the transmitter separately when using one-to-multi mode.
- Make sure every receiver have already paired successful before using one-to-multi mode.
- The paired receiver and transmitter, automatically connected after boot, no need to pair again.
- Keep 1-2 m distance between transmitter and receiver when pairing to avoid pairing failure.
- Do not using more than 4 group wireless transmission device to avoid disturbing.

Connection
- Connecting SDI IN/HDMI IN interface of FLOWl0K transmitter with SDI OUT/HDMI OUT interface of camera or video output device. Connecting SDI loop out interface of FLOWl0K transmitter with SDI IN interface of monitor or switcher.
- Connecting SDI OUT interface of FLOWl0K receiver with SDI IN interface of monitor or switcher. When using one-to-multi mode, every SDI OUT interface of receiver should be connected with SDI IN interface of monitor or switcher;
- Switch on both FLOWl0K transmitter and receiver, “Power”indicator light up, OLEO screen show “WAIT … “then jump to initial interface, see fig.I or fig.3;Wait until “Link” and ”Video” indicator light up, the transmitter and receiver have identifiable signal inputs and connected successfully. If the transmit ter and receiver have identifiable signal inputs but fail to establish a connection, the “link” indicator will flash.
Tips:- After powering the FLOWl0K transmitter and receiver, dial the power switch on the product to “on”
- FLOWl0K transmitter support SDI video signal input and HDMI video signal input, The system automatically identify input video interfaces. System will choose SDI video signal when both HDMI and SDI interface is connected.
- When multiple receivers are used simultaneously in the same environment, ensure that multiple wireless devices have identifiable signal input.
High quality mode & Wall through mode
- Connecting SDI IN/HDMI IN interface of FLOWl0K with SDI OUT/HDMI OUT interface of camera or video output device.
Connecting SDI loop out interface of FLOWl0K transmitter with SDI IN interface of monitor or switcher. - When using one-to-multi mode, every SDI OUT interface of receiver should be connected with SDI IN interface of monitor or switcher;
- Switch on both FLOWl0K transmitter and receiver, every receiver should be switch on when using one-to-multi mode.
“Power” indicator light up, OLEO screen show”WAIT … “then jump to initial interface, see fig.I or fig.3;Wait until “Link” and “Video” indicator light up, the transmitter and receiver have identifiable signal inputs and connected successfully, right push the joystick to “PREF” interface, see fig.11. - It is recommended to choose high quality mode for wireless devices under normal operating conditions, such as better environment, stronger signal, or more than one set of wireless devices under the same scene.a
- Wall through mode is recommended for wireless devices under complex operating conditions, such as poor on-site environments, high distance barriers and only 1-2 sets of wireless devices in the same scene. (If more than one set is used in the same scene, it is recommended to use a high quality mode to reduce interaction)
Tips:- When wireless devices under normal operating condition, choose High quality mode can get a better video quality, but transmission distance will be cut.
- When wireless devices under complex operating condition, choose Wall through mode can get a long transmission distance, but the video quality will be cut.

The way to get the best effective of Wireless Transmission
- Set the antenna on both transmitter and receiver vertically straight up.(See Fig.12), Set the receiver faces the transmitter to extend the transmission distance and stabilize the transmission quality.

- Put the receiver as high as possible to reduce the disturbance.

- Avoid walls, trees and water to reduce signal attenuation.

Trouble shooting
If the receiver failed to output video correctly, the possible causes are as below; please find the solution from following chart:
| The receiving video | Possible causes | Solution |
|
No display | The transmitter or the receiver Is not powered on | Check power connection and switch on the transmitter and receiver |
| The antennas are not installed properly and screwed tightly | Install the antennas properly and screw tightly of both transmitter and receiver | |
| Bad connection of video cable | Check video cable connection of both transmitter and receiver | |
| Video format is not supported | Change the output video format of the camera | |
|
Poor Video quality | Bad connection with video cable | Reconnect reliably |
| The wireless transmission is disturbed by environment | Wait for 1 minute or reboot the transmitter and receiver | |
| The transmission distance is out of effective | Put the transmitter closer to the receiver |
Specification
| Model | FLOWl0K Transmitter | FLOWl0K Receiver |
| Input | SDIXl,HDMIXl | I |
| Output | SDIXl | SDIXl |
| Video format | 10801 (60/59.94/50) /1080PsF (24/23.98) /720P (60/59.94/50)/1080P (60/59.94/50/30/29.97/25/24/23.98) | |
| Wireless frequency | 5180~5220MHz and 5760~5820MHz | |
| modulation mode | OFDM Support 16QAM, 64QAM, QPSK, BPSK modulation mode | |
| transmission distance | 3000m (Line of sight) | |
| Power consumption | 9W | 9W |
| operation | 0.96 inches OLED display screen, five-direction adjust button | |
| Input voltage | DC/ Battery:7″-’34V | DC/ Battery :7″-’34V |
| Working environment | Temperature :0°C~+40°C | |
| Dimension(withoutantenna and plate) | 66 X 106.5 X 24.7 (mm) | 304.7X304.7X42.5 (mm) |
| Net weight (Withantennaandrack) | 286g | 2300g |































