tala Lochan Wall Light Installation Guide
INSTALLATION GUIDE
Lochan Wall Light
Thoughtful lighting, responsibly designed in London. Thank you for making the switch to Tala. Discover the full Tala family at us.tala.co.uk
BEFORE STARTING
- Please read instructions thoroughly before installation and keep them for future reference. Please take extreme care when dealing with electrical equipment.
- Improper assembly can undermine the safety and longevity of the product.
- IMPORTANT
- This light fitting must be connected to the supply earth. If your lighting circuit does not have an earth, ask a qualified electrician to provide an earth facility. This fitting operates on 120V mains
- voltage. Please visit our website to see our recommended dimmers.
- This product is suitable from use in bathrooms and outdoor locations*.
- WARNING
- Always switch off electricity supply at the mains during installation and maintenance. We recommend that the fuse is withdrawn or the circuit breaker is switched off whilst work is in progress. Do
- not just turn off at the wall switch. All fittings must be installed in accordance with current NFPA 70, National Electrical Code (NEC).
RECOMMENDED EQUIPMENT
- Small flat head screwdriver
- Wire strippers
- Insulation tape
- Further equipment may be required for fixing to your wall or ceiling.
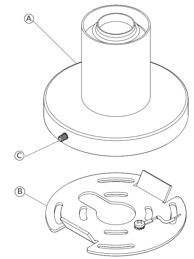
LOCHAN WALL LIGHT – PROVIDED COMPONENTS

- x1 Wall light
- x1 Wall bracket
- x2 Grub screws
- x1 Junction box
- Screws and rawl plugs
(Always use screws and plugs that are appropriate to the wall/ceiling)
STEP 1
Attach B to your wall or ceiling using screws and plugs. Ensure the central keyhole aligns with your wall cavity. Always use screws and plugs that are appropriate to the ceiling/wall type.
STEP 2
First identify your household wiring using current Building Regulations and IEE Wiring Regulations. Attach the wall light wiring to your household supply as shown. Use an appropriate junction box.
STEP 3
Align part onto part . Ensure the Grub Screws are loosened to allow part to press flush on the wall. Tighten the Grub Screws to secure in place.

STEP 4
Insert your bulb into the wall light and rotate clockwise until tight.
CARE AND CLEANING
We recommend cleaning with a soft dry cloth.
Do not use abrasive materials as these will damage the finish of the product. Do not use alcohol or other solvents.
WARRANTY AND AFTER-CARE
This product has a two-year warranty. If there appears to be a functional defect with the product during this time, please contact our team at [email protected].
REGISTER YOUR PRODUCT
Extend your warranty on this product to up to five years – free of charge.
Scan the QR code below to register:
IP44 rated – providing protection against solid objects that are over 1mm and against water splashing from any angle.
Join the Community
[email protected] | Instagram: @tala | Facebook: talaHQ | Pinterest: TalaLED | Tag: lighttoliveby
Tala North America, Inc. P.O. Box 89, 1051 Port Washington Blvd. Port Washington, NY 11050





















