LJD-F12201-11i 1-Light Matte Black Porch Outdoor Wall Sconce Cylinder
Installation Guide
ASSEMBLY INSTRUCTIONS
CAUTION
- Inspect the wire insulation for any cuts, abrasions, or exposed copper that may have resulted during shipping. If there is a defect in the wire, do not attempt installation.
- Before starting installation of this fixture or removal of a previous fixture, disconnect the power by turning off the circuit breaker or by removing the fuse at the fuse box.
TOOLS REQUIRED

HARDWARE INCLUDED

*PARTS SHOWN MAY DIFFER SLIGHTLY PER LIGHT FIXTURE
EXPLODED PARTS

INSTALLATION
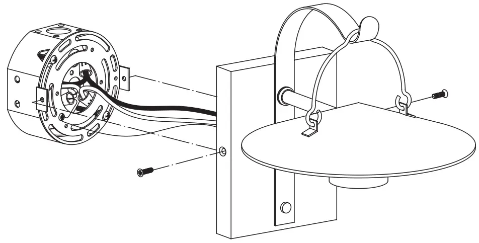
STEP 1
Unscrew the rubber rings and screws from the mounting unit. Use the mounting screws to attach the mounting unit to the junction box.

STEP 2
Make the electrical connection from the junction box to the fixture. Connect the ground wire to the mounting unit using the preinstalled green ground screw. Then, connect the positive, negative and ground wires with the supplied wire nuts. Secure with electrical tape.

STEP 3
Attach the fixture to mounting unit through screw holes as shown, and secure it with rubber rings and screws.
NOTICE: Please use caulk in the back plate and wall mounting surface to prevent water from entering.

STEP 4
Remove the cap and socket ring from the socket.
Attach the glass shade onto fixture using cap and socket ring.

STEP 5
Install bulbs (not included).















