Flo
User Manual
Front I/O Panel Cable Connection
Front Panel Connector
(Please refer to the motherboard’s manual for further instructions).
Note Specifications may vary depending on your region.
Contact your local retailer for more information.
Accessory Bag Contents

How to install Guide
Install Motherboard
Install PSU
Install add-on-Card
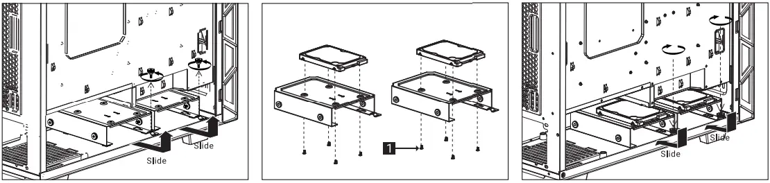
Install 3.5” HDDx2
5a Install 2.5” SSDx2

5b Install 2.5” SSDx2

Install Front Radiator
Install Front Fans
Install Fan
Note: Specifications may vary depending on your region.
Contact your local retailer for more information.


























