GIRA 2346 02 Dual Q Smoke Alarm Device Instruction Manual
For your safety
Electrical devices may only be installed and connected by a qualified electrician!
Serious injury e.g. caused by an electric shock, fire, or material damage are possible in case of improper assembly. Read and observe these instructions completely.
Configuration and installation may only be performed by an expert.
As per DIN 14676, configuration, installation and maintenance of the smoke alarm device may only be performed by a qualified expert. For this purpose, Gira offers the “Certified expert for smoke alarm devices in accordance with DIN EN 14676” online course, complete with certificate. More detailed information can be found under “akademie.gira.de”.
Product features
The smoke alarm device Dual Q is a battery-operated combination of smoke and heat alarm device for private residential units or similarly inhabited areas as per DIN 14676. The smoke alarm device Dual Q detects the development of smoke in a timely manner and warns occupants before the smoke gas concentration becomes dangerous. The warning comes in the form of acoustic (tone) and optical (LED) signals.
- Loud, pulsating alarm signal (at least 85 dB (A)).
- Fire and heat alarms alerted differently.
- Muffled alarm signal (approx. 75 dB (A)) during function test.
- Smoke detection by photoelectric scattering principle.
- Heat detection via maximum and differential function.
- Integrated function button for alarm acknowledgement, function test and muting, for example.
- Smoke detection can be switched off. Automatic smoke evaluation self-test with tracking of soiling.
- “Fouling/malfunction” indication.
- Signaling of technical faults can be delayed up to 12 h in darkness.
- Up to 40 smoke alarm devices can be networked on each wire.
- One module interface for three optional modules with simultaneous use of the networking terminal
- Meets requirements of the new Q Label quality seal.
Q Label means
- Tested longevity of the smoke alarm device (up to 10 years after activation)
- Fewer false alarms
- Increased stability, e.g. against external factors
- Permanently installed, non-removable battery.
Scope of delivery
- 1x smoke alarm device Dual Q
- 1x set of mounting hardware
- 1x assembly and operating instructions.
Accessories
The following optional accessories can be used:
- Relay module for smoke alarm device Dual (item no. 2340 00)
- Radio module for smoke alarm device Dual (item no. 2347 00)
- KNX Module for smoke alarm device Dual (item no. 2343 00)
- Spacer sleeves (item no. 2342 00
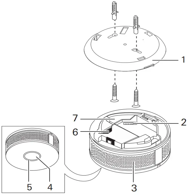
Device description
- Mounting plate
- Module interface
- Smoke penetration openings
- Function button
- Ring indicator
- Battery
- 230 V connection for power supply via 230 V base

Selecting the installation location
When selecting the installation location for the smoke alarm device, the specifications of DIN 14676 apply. The most important specifications are as follows:
- Attach as close as possible to the center of the ceiling (min. distance of 50 cm from walls, lights and other obstructions)
- One smoke alarm device per room (max. 60 m2 area)
- Do not mount it in the direct proximity of heat sources.
System description of smoke alarm devices
More detailed information with regard to installation as per DIN 14676 can be found in the “System description of smoke alarm devices”, which is available in the Gira download area (www.gira/download).
Inadmissible installation locations
The Dual Q smoke alarm device is not suitable for installation in caravans, campers,
cabin boats etc.
Minimum protection/optimum protection
The following applies to flats and houses:
Minimum protection
- One smoke alarm device in every bedroom, every child’s room and in the hallway/staircase (escape route).
- In the case of open connections across two levels, a smoke alarm device is to be mounted at the highest level.
- In the case of buildings spanning several floors, a smoke alarm device must be mounted on each floor.
Optimum protection
- One smoke alarm device per room and floor
- In the case of larger buildings, use networked smoke alarm devices
- Use specialized alarm devices (e.g. heat detectors) in sensitive areas such as kitchens, garages etc.
Deceptive alarms
Some sites are unsuitable for the installation of a smoke alarm device as deceptive alarms are repeatedly triggered due to local conditions (e.g. welding/ soldering work, very heavy water/cooking vapor and similar fumes).
More detailed information with regard to unsuitable installation sites can be found in the “System description of smoke alarm devices”.
Wiring smoke alarm devices
devices can be networked together using a two-core cable (e.g. telephone cable JY(St)Y 2 x 2 x 0.6 mm). This enables an alarm to be triggered over all the smoke alarm devices in a residential unit at the same time.
The maximum cable length varies depending on the cable type and cross-section used (for 1.5 mm2 = maximum 400 m).
Network the smoke alarm devices with one another as follows:
- Remove the pre-perforated cut-out for the cable inlet from the mounting plate with a suitable tool.
- Wire the two-lead cable to the 3-pole terminal block.
- Push the terminal block onto the guide rail of the bracket (will audibly engage).

Networking terminal
An external button (e.g. emergency switch) can also be connected in parallel via the networking terminal.
Deactivating smoke detection
Termination of CE conformity
The CE conformity of the smoke alarm device as per EN 14604 is terminated if the DIP switch cover plate is broken out.
Optionally, smoke detection of the smoke alarm device can be deactivated. This enables the smoke alarm device to also be used in rooms which are unsuitable for conventional smoke alarm devices. In this case, the smoke alarm device only operates as a heat detector and triggers an alarm.
- As soon as the speed at which the ambient air is heating up lies outside normal parameters.
- If the ambient temperature is over +54 °C.
Smoke detection can be deactivated as follows:
- Break out the DIP switch cover plate with a suitable tool.

- . Set the DIP switches to the “ON” position. Smoke detection is now deactivated, and only heat detection is active.
Installing the smoke alarm device
- Install the mounting plate. For “surface mounted installation” of the networking cable, use the spacer sleeves.
Optional: Before installation, you can activate theft protection of the smoke alarm device to impede unauthorized removal of or tampering with the smoke alarm device.
For this purpose, cut out the pre-perforated cut-out on the housing of the smoke alarm device with a suitable tool. The lock can only be opened with a tool when in the locked state. - Lock the smoke alarm device on the mounting plate (set in place and turn clockwise). Removal is carried out in the reverse order (turn anti-clockwise and pull off).

- Wait for the initialization phase (approx. 30 s) and then carry out the function test
(see “Function test”)
Maintenance book for smoke alarm devices
Gira offers the “Maintenance book for smoke alarm devices” in the download area.
All the important data of the initial installation of the smoke alarm device should be entered here.
Activation/deactivation
The smoke alarm device features an internal activation button (grey).
When locking the smoke alarm device into the mounting plate/230 V base, the smoke alarm device is activated automatically. Alternatively, the activation button for the function test can also be held manually (the power supply of the smoke alarm device is activated automatically. Initialization phase 30 s).
The smoke alarm device is deactivated automatically when the lock is disengaged.
Information and recommendations for the expert
Declaration of performance
The Declaration of performance according to Directive (EC) No. 765/2008, Directive
(EU) No. 305/2011 (Construction Products’ Regulations – CPR) and the Construction
Product Act CPA can be found either in the download area (gira.de/Conformities) or
directly via the online catalogue at the product (katalog.gira.de).
Briefing and transfer
Briefing and transfer of the Instructions
Explain all the functions of the product to the end user or their representative.
These instructions are part of the product and must be transferred to the end user or their representative for safekeeping.
Technical data
Type of alarm: Optical smoke alarm and heat detector
Area of application: Inside (ceiling)
Installation in recreational vehicles, motor homes, etc: Not suitable!
Power
Supply: via the smoke alarm device battery (encapsulated, not replaceable)
In addition, AC 230 V when using item no. 2331 02
Battery life: up to 10 years (after activation)
Acoustic signal: Alarm: at least 85 dB (A)
Test: approx. 75 dB (A)
Optical indication: Ring indicator (red LED) indicates status and faults
Networking: Wired, with modules
Integrated interface: For KNX module, wireless module and relay module
Function key for: Function test Muting Alarm acknowledgement Delaying “fault” display
Ambient
temperature: -5 °C to +55 °C
Storage: -20 °C to +65 °C
temperature: -20 °C to +65 °C
Transport
Installation height: Max. 6 m
Protection type: IP 42
Housing dimensions: 125 x 48 mm (dia. x h)
Weight: approx. 250 g
Standards: DIN EN 14604
RoHS/WEEE compliant: Yes Environmentally
compliant disposal: Governed by EAR
The smoke alarm device Dual Q features an easy-access main function button.
The following actions can be initiated using the function button (grey) in normal operation:
- Alarm acknowledgement
- Function test
- Muting
- Delaying fault/soiling display
Function test
The function test should be conducted:
- After the initial installation
- After every alarm, maintenance session and fault message.
Perform the function test
Carry out the function test as follows:
- Press and hold the function button for approx. 4 s. Initially, a brief acknowledgement tone can be heard. A muffled signal tone is then emitted, and the ring indicator flashes.
- Release the function button.
- If the function test was successful: Press and hold the function button until the signal tone is muted and the ring indicator goes out.
Muffled signal tone
The signal tone of the function test is muffled (approx. 75 dB (A)). This is intended to prevent hearing loss (e.g. tinnitus).
Function test failure
Replace the smoke alarm device immediately if it fails the function test two times in a row. Non-operational smoke alarm devices may not be installed.
Function test for wire-networked smoke alarm devices
When a function test is carried out on wire networked smoke alarm devices, all the connected smoke alarm devices emit only an acoustic alarm. If this is not the case, check the connections and networking lines.
Smoke alarm devices save lives
Observe the following when using smoke alarm devices:
- Use only smoke alarm devices which are compliant with DIN 14604
- Never cover smoke alarm devices continuously or block them with objects
- Never install smoke alarm devices if they are defective or not fully operational.
Operating and alarm signals
Local smoke alarm device
| Signal tone | Ring indicator | Meaning |
– | – | Operating mode |
| Loud interval tone | flashes quickly | Local smoke alarm |
| Loud pulsating signal tone | flashes quickly | Local heat alarm |
| 8 brief signal tones in 60 s cycle | Flashes 8 times in 8 s cycle | Fault |
| 2 brief signal tones in 60 s cycle | Flashes once in 5 s cycle | Weak battery* |
| 1 s-long signal tone in 2 s cycle | Lights up continuously y | Function test (alarm device has triggered alarm) |
| 1 s-long signal tone in 2 s cycle | flashes quickly | Function test (alarm device has not triggered alarm) |
– | Flashes in 2 s cycle | Muting |
| Brief signal tone in 1 s cycle | Flashes in 1 s cycle | EMC fault |
| Brief signal tone in 250 ms cycle | Flashes for 5 min in 250 ms cycle | Identification of alarm device |
Replace alarm device within 30 days.
Networked smoke alarm device
In the case of wired networking, signaling occurs at the triggering smoke alarm device as described above. The networked smoke alarm devices signal as follows:
| Signal tone | Ring indicator | Meaning |
| Loud interval tone | – | Smoke or heat alarm message |
| s-long signal tone in 2 s cycle | – | Function test (remote starting) |
| 2 brief signal tones in 60 s cycle | – | Weak battery |
Replace alarm device within 30 days.
Signaling when using the 230 V base
When using the 230 V socket, the signaling differs. Please observe the installation and operating instructions for the 230 V base for Dual Q smoke alarm devices.
Acknowledging alarm/deceptive alarm
If the smoke alarm device has triggered an alarm and a deceptive alarm has been identified as the culprit, you can acknowledge the alarm message by pressing the function button. Then ensure that the cause of the deceptive alarm has been eliminated. Should this be temporarily impossible, activate muting if necessary.
Activating muting
The smoke alarm device features so-called “muting”. It deactivates smoke alarm device operation for a maximum of 15 min. This makes sense.
- As a measure to prevent deceptive alarms, e.g. while engaged in activities which create a large amount of dust (sweeping a dusty room, sweeping the chimney etc.) or
- to stop an alarm triggered by the detection of harmless smoke (e.g. when searing meat)
Activate muting as follows:
- Press the function button for 1 s until the acknowledgement tone is heard.
- Release the function button: The ring indicator flashes in a 2 s cycle, and muting is activated.
After 15 minutes, muting is automatically deactivated and the smoke alarm device is back in the normal operating mode.
Delay fault/soiling indication
The photocell integrated in the smoke alarm device delays the “Smoke alarm device soiled” warning up to 12 hours in darkness. This does not affect the functionality of the smoke alarm device!
The message can be delayed by 8 hours at a time for a maximum of 7 days if the initial signaling occurs at an unfavorable point in time. For this purpose, push the function button until the first signal tone to sound is muted. The “Fault/soiling” message is now signaled after a delay.
Care and maintenance
Clean and maintain the smoke alarm device on a regular basis to ensure full operability
Care
Wipe the smoke alarm device with a moist (not wet!) cloth on a regular basis.
The smoke alarm device can also be cleaned of dust carefully with a vacuum cleaner (lowest setting).
Maintenance
Maintenance and duty to maintain
As per DIN 14676, you are required to have smoke alarm devices maintained annually by a qualified expert. The results of maintenance should be entered in the maintenance book for smoke alarm devices. Observe the following: If this required maintenance is not carried out, insurance coverage may be nullified in case of fire.
Renovation work
Renovation work
If possible, do not install the smoke alarm device until all renovation work has been completed. Should this not be possible, cover the smoke alarm device with the included covering cap (remove it again once the work is complete!). Alternatively, you can remove the smoke alarm device for the duration of the work. Once the work is complete, the original functional readiness of the installed smoke alarm device must be restored and tested (function test).
Disposal
Dispose of the smoke alarm device by the date indicated on the device’s label or when
the battery is flat.
Danger
There is a risk of explosion if the battery is removed by force!
The battery of the smoke alarm device cannot be replaced.
If the battery is forcibly removed from the device, it may explode if damaged.
The smoke alarm device must always be disposed of completely
Battery life
The battery life (approx. 10 years after activation) can be reduced by the following factors:
- The additional use of modules.
- Networking of the smoke alarm devices via networking terminal.
- More test alarms than prescribed.
The Gira smoke alarm device is an electric and electronic device in the sense of EU guideline 2002/96/EC.
The device was developed and manufactured using high-quality materials and components. These materials and components can be reused and recycled.
Please consult the regulations governing the separate collection of electric/electronic waste applicable for your country.
These devices may not be disposed of with household waste.
The correct disposal of waste equipment can prevent possible negative effects upon humans and the environment. .
Troubleshooting
| Problem | Solution |
| No signal can be heard during the function test | Check locking of the smoke alarm device |
| Frequent deceptive alarms | Check installation site for interference sources |
| Cleaning smoke alarm device |
Warranty
The warranty is provided in accordance with the statutory requirements via the retailer.
Please hand over or send faulty devices postage paid and with a description of the problem to your sales representative (retailer / installation company / electronics retailer),
They will forward the devices to the Gera Service Centre.
Q label and warranty
The Q label has no effect on the legal warranty.
Information and recommendations for occupants
Warning function of the smoke alarm device
The sole purpose of the warning function of a smoke alarm device is to warn the people present in a unit (e.g. flat) or building in a timely manner. The people present organize their rescue themselves and are responsible for notifying the station providing assistance (e.g. fire brigade).
Smoke alarm devices do not extinguish fires!
Response in case of fire
To facilitate a proper response by the persons concerned in case of fire, DIN 14676 recommends putting up information in every unit on how to respond in case of fire. This information should be provided in the languages which are commonly used, You may also need to take the end users of a residential unit into consideration (e.g. non-German speakers). The standard also strongly recommends calling in a responsible fire prevention authority in advance. This authority can define divergent or different recommendations or assessments. More detailed information on this can be found in the “System description of smoke alarm devices” or in DIN EN 14676.
The following always applies:
- Always protect yourself first!
- Warn other occupants.
- Leave the room/building immediately.
- Help people in need while escaping.
- In case of thick smoke, keep low to the ground.
- Check whether all persons have left the room/building.
- Should you not be able to leave the room/ building, close all doors and seal all gaps and other narrow openings, e.g. with wet towels. Alert people to your presence from the window.
- Do not call the fire brigade until you are safe.
- Only fight the fire yourself if you will not be putting yourself in danger.
Gira
Giersiepen GmbH & Co KG Elektro-Installations-Systeme
P.O. Box 1220
42461 Radevormwald, Germany
Phone: +49 2195 602 – 0
Fax: +49 2195 602 – 191
[email protected]
www.gira.de




















