GIRA 2347 00 Radio Module for Smoke Alarm Device Dual
For your safety
Improper electrical installations can result in serious material damage or injuries, e.g. due to fire or an electric shock. Safe electrical installation can only be guaranteed when performed by individuals who can verify their basic knowledge in the following areas:
- Connecting to installation networks
- Connecting more than one electrical device
- Laying electrical cable
In general, only qualified professionals in the field of electrical installation technology possess this knowledge and experience. If these minimum requirements are not fulfilled or disregarded, there is a risk of personal liability for material damage and injury.
Configuration and installation may only be performed by an expert As per DIN EN 14676, configuration, installa-tion and maintenance of the smoke alarm device may only be performed by a qualified expert.
For this purpose, Gira offers the “Certified expert for smoke alarm devices in accord-ance with DIN EN 14676” online course, complete with certificate.
More detailed information can be found under “akademie.gira.de”.
These instructions are part of the product and must remain with the end customer.
Product features
The radio module for smoke alarm device Dual (hereinafter referred to as the “radio module”) enables the wireless networking of smoke alarm devices Dual Q in the Gira radio bus system.
- The networking terminals of the smoke alarm device Dual can still be used when the radio module is attached. This allows combined wired-radio networking to be established.
- In case of alarm: It is possible to mute a local smoke detection alarm using a radio remote control or radio wall transmitter.
- The radio range can be extended with repeater mode in the radio module.
- Up to 40 smoke alarm devices can be networked.
- The radio module is downward compatible, which means it can also be used for the smoke alarm device Dual/VdS.
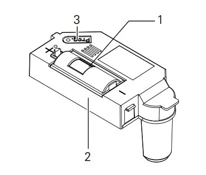
Device description
- Battery compartment with battery
- Radio module
- Programming button with LED
Inserting the radio module
Smoke alarm device Dual Q
Please see the installation and operating instructions of the smoke alarm device Dual Q for all the information on the smoke alarm device Dual Q (e.g. installation, signals, etc.). The radio module is inserted as follows
Insert the radio module with the connection pins into the module interface (1) of the smoke alarm device until the module engages.
Assigning the radio module
Radio modules have to be assigned in order to communicate with one another (as transmitter or receiver).
The following assignments are possible:
- Setting up a radio-networked group (initial setup)
- Assigning the radio module to a radio-networked group of smoke alarm devices Dual Q (expansion)
- Assigning the radio module to a radio-networked group of smoke alarm devices Dual/VdS (replacing obsolete systems)
- Deleting all assignments
Activating and exiting the programming mode
The following describes how to activate and exit programming mode on the radio module.
Activating programming mode
Press the Prog. button (for approx. 4 s) until the programming LED flashes. Programming mode is activated for approx. 1 min.
Exiting programming mode
Programming mode ends automatically when 1 min. has elapsed. Alternatively, you can briefly press the Prog. button.
Radio-networked group
Radio modules can only communicate with each other within a group. A radio-networked group must be set up for this purpose.
Radio-networked group
The following smoke alarm devices can be set up as radio-networked groups:
- Dual Q <-> Dual Q
- Dual Q <-> Dual/VdS
Observe the maximum distance in programming mode
Radio transmitters and receivers must be positioned at a maximum distance of 5 m to each other in programming mode.
Setting up a radio-networked group (initial setup)
- Insert the radio modules in all smoke alarm devices Dual Q that should belong to a group.
- Activate programming mode on all radio modules.
- Repress the Prog. button (approx. 4 s) on any smoke alarm device Dual Q in the group until a signal tone is emitted.
- All LEDs light up continuously: the group has been set up.
- Exit programming mode.
As soon as one smoke alarm device in the group detects smoke or increased temperature and triggers an alarm, all other smoke alarm devices in the group are also triggered.
Assigning the radio module to a radio-networked group of smoke alarm devices Dual Q (expansion)
A radio-networked group of smoke alarm devices Dual Q can be expanded until reaching the maximum number (40 units).
- Lay out a smoke alarm device Dual Q (#1) which has already been assigned.
- Insert the radio module in the smoke alarm device Dual Q (#2) which has not yet been assigned.
- Activate programming mode on the two radio modules.
- Repress the Prog. button (approx. 4 s) of the radio module on smoke alarm device #1 until a signal tone is emitted. The LEDs of both radio modules light up continuously, and an additional radio module has been added to the group.
- Exit programming mode.
Assigning the radio module to a radio-networked group of smoke alarm devices Dual/VdS (replacing obsolete systems)
You can assign a smoke alarm device Dual Q with radio module to an existing group of smoke alarm devices Dual/VdS with radio modules (e.g. replacing an obsolete device).
- Activate programming mode on the radio module of any smoke alarm device Dual/VdS.
- Activate programming mode on the radio module of the smoke alarm device Dual Q.
- Press the function button of the smoke alarm device Dual/VdS.
- All LEDs light up and the new radio module is assigned to the existing group of smoke alarm devices Dual/VdS.
- Exit programming mode.
Radio module in repeater mode
In the state of delivery, repeater mode is deactivated in the radio module.
Repeater mode is activated whenever one or more smoke alarm devices no longer receive signals via radio (or reception is poor).
Radio module as a repeater
Only one radio module may be activated as a repeater per group.
All networked smoke alarm devices must be reachable via the radio range. As a repeater, the radio module also receives weaker radiotelegrams and forwards them with maximum output.
Activating repeater mode
- Select one of the group’s centrally installed smoke alarm devices.
- Press the Prog. button of the radio module on the selected smoke alarm device for 10 s.
After approx. 4 s the LED flashes. After approx. 10 s the LED flashes faster. Repeater mode is now activated. - Exit programming mode.
Deactivating repeater mode
Activated repeater mode can be deactivated at any time.
- Select the smoke alarm device with activated repeater mode.
- Press the Prog. button of the radiomodule for 10 s.
After approx. 4 s the LED flashes.After approx. 10 s the LED flashes more slowly. Repeater mode is deactivated. - Exit programming mode.
Deleting all assignments
To reset radio modules to factory settings, all assignments (to groups, as repeaters, etc.) must be deleted.
- Activate programming mode.
- Release the Prog. button.
- Repress the Prog. button of the radio module (approx. 10 s). A brief signal tone is emitted after approx. 4 s. After approx. 10 s, a longer signal tone is emitted and the programming LED lights up continuously. All assignments have been deleted.
- Exit programming mode.
Checking the networking of the smoke alarm device
The radio networking of the smoke alarm device can be checked prior to installation.
- Manually activate the smoke alarm:
- Press and hold the internal activation button (initialisation phase approx. 30 s). Do not release the activation button during the test!
The signal transmitter of the smoke alarm device muted in test mode - When the test function is active, the signal transmitter of the smoke alarm device is muted.
- Press and hold the internal activation button (initialisation phase approx. 30 s). Do not release the activation button during the test!
- Trigger the test alarm on the smoke alarm device.
- When the alarm message is received, the programming LED of the radio module continuously lights up. The radio module is correctly assigned.
- Briefly press the Prog. button: test modeis exited.
Performing function test
The function test is a manual test of the smoke alarm device.
Function test of the smoke alarm device Observe all notes for performing a function test of the smoke alarm device Dual Q in the installation and operating instructions of the smoke alarm device Dual Q.
Delayed signalling of the radio module
The radio module checks the reception of alarm messages every 60 s. Therefore, it may take up to 60 s until the radio module acknowledges reception.
Initiate the function test on the smoke alarm device. After 5 s the signal tone is emitted and the ring indicator flashes. All other radio-networked smoke alarm devices only emit an acoustic alarm (after 60 s at the most).
Radio transmission
Radio transmission occurs on a non-exclusive transmission path so that interference cannot be excluded. Radio transmission is not suitable for security purposes (e.g. emergency-stop, emergency call). The range of the radio system depends on transmitter power, the reception characteristic of the receiver, humidity, installation height and the building itself. Examples for material penetration:
| Dry material | Penetration |
| Wood, plaster, sheetrock | approx. 90% |
| Brick, pressboard | approx. 70% |
| Reinforced concrete | approx. 30% |
| Metal, metal grids, aluminium cladding | approx. 10% |
| Rain, snow | approx. 0-40% |
Replacing the battery
The “low battery” signal is indicated by three bleeps every 30 s.
- Remove the smoke alarm device from the mounting plate or 230 V base.
- Open the battery cover of the radio module and remove the battery.
- Replace the empty battery with a new one of the same time (see technical data) and close the battery cover again.
- Remount the smoke alarm device.
Wait for the initialisation phase (approx. 30 s) to finish. The wireless module continues to signal “low battery”. - Perform a test alarm on the Dual Q smoke alarm device.
After completion of the test alarm, the wireless module transmits “Battery OK” status for 30 s. The networked smoke alarms receive the new signal and adopt it.
For “weak battery”, the signalling (without alarm) behaves as follows:
- 3 short bleeps every 30 s from the smoke alarm triggering the “weak battery” and
- 2 short bleeps every 10 mins from the networked smoke alarm.
Wirelessly networked smoke alarm signals incorrectly
Under certain conditions (e. g. bad wireless signal) a wirelessly networked Dual Q smoke alarm may continue to signal “Low battery” even after the battery in the wireless module of the triggering Dual Q smoke alarm has been replaced and the status was changed. Activate the mute function of the incorrectly signalling Dual Q smoke alarm. After unmuting (manually or automatically after 15 min), the previous “Low battery” signal has been reset and the Dual Q smoke alarm no longer signals “Low battery”. Remove empty batteries immediately and dispose of them in an environmentally-friendly way. Do not dispose of batteries with household waste. Local authorities provide information about environmentally-sound disposal. The end consumer is legally required to return used batteries in accordance with legislative requirements.
Technical data
- Power supply: from a battery of the radio module
- Battery
- Type: 2/3 AA lithium
- Capacity: 3 V
- Transmission frequency: 433.42 MHz, ASK
- Transmission range: 100 m (free field)
- Ambient temperature: -5 °C to +50 °C
- Protection class: IP 20
Warranty
The warranty is provided in accordance with statutory requirements via the specialist trade. Please submit or send faulty devices postage paid together with an error description to your responsible salesperson (specialist trade/installation company/ specialist electrical trade). The salesperson will forward the devices to the Gira Service Center


The signal transmitter of the smoke alarm device muted in test mode
















