Grounded Outdoor Countdown Outlet Timer
INSTRUCTION MANUAL
CATALOG NUMBERS
BDXPA0031

Thank you for choosing BLACK+DECKER!
PLEASE READ BEFORE RETURNING THIS PRODUCT FOR ANY REASON.
If you have a question or experience a problem with your BLACK+DECKER purchase, go to http://www.blackanddeckerelectrical.com
If you can’t find the answer or do not have access to the Internet, call 1-844-746-6688 from 9 a.m. to 5 p.m. EST Mon.-Fri. to speak with an agent.
Please have the catalog number available when you call.
SAVE THI MANUAL FOR FUTURE REFERENCE.
Important Safety Guidelines
SAVE THESE INSTRUCTIONS FOR FUTURE REFERENCE.
Definitions: Safety Alert Symbols and Words
This instruction manual uses the following safety alert symbols and words to alert you to hazardous situations and your risk of personal injury or property damage.
DANGER: Indicates an imminently hazardous situation that, if not avoided, will result in death or serious injury.
WARNING: Indicates a potentially hazardous situation that, if not avoided, could result in death or serious injury.
CAUTION: Indicates a potentially hazardous situation that, if not avoided, may result in minor or moderate injury.
(Used without a word) Indicates a safety-related message.
NOTICE: Indicates a practice not related to personal injury that, if not avoided, may result in property damage.
WARNING: PLEASE READ THIS INSTRUCTION MANUAL THOROUGHLY AND COMPLETELY BEFORE INSTALLATION & USE.
FAILURE TO DO SO COULD CAUSE DAMAGE TO PROPERTY, SERIOUS INJURY OR DEATH, AND VOID YOUR WARRANTY.
WARNING: CancerandReproductiveHarm – www.P65Warnings.ca.gov.
For California residents.
Grounded Outdoor Countdown Outlet Timer
Safety Information
NOTE: This product is suitable for use with outdoor appliances. This is a grounded device.
It has a grounded plug and three grounded outlets.
Store indoors when not in use.
WARNING: RISK OF ELECTRIC SHOCK:
- Do not use an extension cord.
- Plug directly into a GFCI electrical outlet.
- Fully insert the plug.
- Unplug the timer before cleaning, and use a dry brush or duster to clean.
- Keep away from children.
WARNING: RISK OF FIRE:
- Do not use to control appliances that contain heating elements such as cooking appliances, heaters, irons, etc.
- Do not exceed electrical ratings.
WARNING: Suitable for outdoor location. Not for water immersion or for use where directly exposed to water. When used for controlling the pool pump, the receptacle must not be less than 10 ft. from the inside walls of a pool.
CAUTION:
When using in outdoors, plug only into a GFCI-protected receptacle. Ensure the receptacle is mounted in an approved “weatherproof” type outside the box.
Ratings
125 VAC, 60 Hz
15A General purpose
1875W General purpose
1000W Tungsten
1/3 HP
Installation
- Mounting the timer
Mount the timer onto a wall near a GFCI receptacle with the timer’s light sensor (B) facing outward.
Install a nail or screw head (not included) into a wall.
The nail or screw must extend at least 7/8 in. out from the wall and allow the timer to be 3 ft. (0.9 m) above ground level.
NOTE:
To ensure proper operation of the automatic function, ensure the light sensor is shielded from all nighttime sources of light, such as floodlights. - Installing the timer
Hang the timer from the eyelet on the top right of the unit with the receptacle (D) facing downward so that moisture does not accumulate in the outlet.
Plug the grounded power cord (A) into a GFCI outlet.
Plug the device you wish to be on a timer into the receptacle (D).
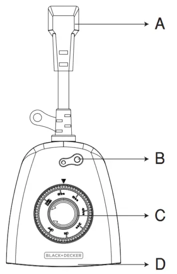
Product Description

A. Power Cord/Plug: Plug this into a GFCI outlet to power the timer.
B. Light Sensor: The timer must be mounted in a location that allows for direct sunlight to ensure proper functionality for the dusk-to-dawn feature.
C. Timer Dial: Rotate to one of the following settings:
• OFF: Turns the timer off.
• ON: Turns the timer on.
2Hr, 4Hr, 6Hr, or 8Hr: The timer turns on at dusk and off after the selected time 2, 4, 6, or 8 hours later.
• Dusk-Dawn: The timer turns on at dusk and off at dawn.
D. Receptacle: Plug in the device you wish to be on a timer.
Troubleshooting
| Problem | Possible Cause | Corrective Action |
| The lights do not turn on at dusk. | The timer is not in a good area for the light sensor to function as there is too much ambient light to detect darkness. | Move the timer to another location where there is no ambient light. |
| The lights do not turn on, even when the timer is in the ON position. | The lights are not in the ON position, the lights are not functioning, or the timer is not receiving power. | Ensure that lights are functional by plugging them directly into the outlet. Ensure that lights are in the ON position if they have their own switch. Ensure that the timer is receiving power – the LED should light up when plugged into an outlet and put in the ON position. |
| The lights on the timer are flashing (turning on and off). | The timer is in Dusk-to-Dawn mode and the light from the plugged-in lights is affecting the light sensor. | Move the lights away from the timer, or reposition the timer so that it does not face the lights. |
Instructions:
- Lift the protective cover to access the timer dial.
- To set the current time: rotate the dial clockwise until the time lines up with the TIME NOW arrow.
- To program the timer: begin with all segment pins pulled up. Push the segment pins down for the periods of time you want the timer to be ON. Each segment pin represents 30 minutes: 2 segment pins = 1 hour. Repeats daily.
- To connect the timer: slide the switch down to the TIMER ON position. Plug device into the timer and turn the device on. Plug the timer into a wall outlet.
- To override the timer: slide the switch down to set timing periods. When in the l position, it means OUTLET ON, the plugged-in device is switched on permanently.
- In case of power failure: reset the timer as explained in step 2.
- To mount timer to a vertical surface (wall), attach using mounting hole located on the back of the timer.
Grounding Instructions
In the event of malfunction or breakdown, grounding provides a path of least resistance for electric current to reduce the risk of electric shock. The timer must be connected to a cord having an equipment-grounding conductor and a grounding plug. The plug must be plugged into an appropriate outlet that is properly installed and grounded in accordance with all local codes and ordinances.
DANGER:
Improper connection of the equipment-grounding conductor can result in a risk of electric shock. The conductor with insulation has an outer surface that is green with or without yellow stripes is the equipment grounding conductor. If repair or replacement of the cord or plug is necessary, do not connect the equipment-grounding conductor to a live terminal. Check with a qualified electrician or service person if the grounding instructions are not completely understood, or if in doubt as to whether the timer is properly grounded. Do not modify the plug connected to the timer – if it will not fit the outlet, have a proper outlet installed by a qualified electrician.
FOR GROUNDED, CORD-CONNECTED TIMER RATED LESS THAN 15A AND INTENDED FOR USE ON A NOMINAL 125V SUPPLY CIRCUIT
The timer is for use on a nominal 125V circuit and should be connected to a grounding outlet that looks like that illustrated in sketch a. A temporary adaptor, which looks like the adaptor illustrated in sketch b, may be used to connect this plug to a 2-pole receptacle as shown in sketch b if a properly grounded outlet is not available. The temporary adaptor should be used only until a properly grounded outlet can be installed by a qualified electrician. The green-colored rigid ear, lug, and the like, extending from the adaptor must be connected to a permanent ground such as a properly grounded outlet box cover. Whenever the adaptor is used, it must be held in place by a metal screw.

NOTE: IN CANADA, THE USE OF A TEMPORARY ADAPTOR IS NOT PERMITTED BY THE CANADIAN ELECTRICAL CODE. Ensure that the timer is connected to an outlet having the same configuration as the plug.
1 YEAR LIMITED WARRANTY
IMPORTANT: Proof of Purchase is required to obtain warranty service.
Paragon Group USA Inc. warrants to the original owner that our products will be free from defects in workmanship and material for a period of ONE YEAR from the date of purchase.
Should any unit(s) prove to be defective during this period, Paragon Group USA Inc. will be responsible for the replacement of the defective unit(s) only. Paragon Group USA Inc. is not responsible for labor charges or any incidental or consequential expenses.
Not Covered – Batteries are not covered by this warranty. Repair service, adjustment, and calibration due to misuse, abuse, or negligence are not covered by this warranty. Unauthorized service or modification to this product or of any furnished components will void this warranty in its entirety.
This warranty does not include reimbursement for inconvenience, installation, set-up time, loss of use, postage, unauthorized service, or other products used in conjunction with
BLACK+DECKER products.
Copyright 2021 Black&Decker
BLACK+DECKER and the BLACK+DECKER logo are trademarks of Stanley Black Decker, Inc. or an affiliate thereof and are used under license.
Ph: 1-844-746-6688
www.blackanddeckerelectrical.com
E-mail: [email protected]
Imported by:
Paragon Group USA,
Englewood, NJ, 07631
USA














