
zigbee 3.0
DM2550ZB-C4
Installation Guide
Smart Adaptive Phase Dimmer
DM2550ZB-C4 Smart Adaptive Phase Dimmer
Warnings
The installation of this dimmer must be performed by a certified electrician and comply with the national and local electrical codes and regulations.
YOUR SMART DIMMER DM2550ZB-C4
CAUTION!
To reduce the risk of overheating and possible damage to another device, do not install to control an outlet, a motor or a transformer.
Light turned ON = Blue
Light turned OFF = Amber
The indicator intensity can be changed from your Control4 controller.
This dimmer requires a neutral wire. If your electrical box does not have a neutral wire, you can either add one or install the dimmer at a different location.
SINGLE POLE WIRING DIAGRAM
3-WAY WIRING DIAGRAM
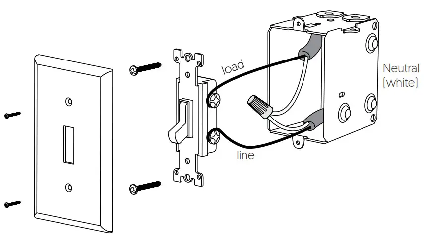
INSTALL YOUR DIMMER
- Make sure that the breaker for your switch is OFF at the main electrical panel then remove the old switch.

- Use the provided connectors to connect the wires as follows:
Red→Load
Black→Line
White→Neutral
Blue→None*
*Note: For a single pole installation, do not remove the label on the blue wire. For a 3-way installation, see the 3-way wiring diagram section above.
- Use the provided screws to secure the dimmer to the electrical box. Then, place the wall plate.

- Power up the dimmer.

Make sure to firmly tighten the wire connectors for a secure connection. A loose connection can be a fire hazard. Special CO/ALR solderless connectors must be used when connecting with aluminum conductors.
CONNECT YOUR DIMMER TO A CONTROL4 HOME AUTOMATION SYSTEM
- lnitiate the Control4 controller connectivity session by referring to it’s user guide.

- Connect your dimmer to the network by pressing the top button 4 times. The indicator flashes blue = Connecting

The indicator turns green = Connected If the connectivity fails, the indicator will turn red. Refer to our Website to troubleshoot the unit.
After a few seconds, the indicator changes color depending on the dimmer status. (Turned ON = blue, Turned OFF = amber) - Connect all your dimmers the same wayby going to the next closest dimmer.

- When all the dimmers are connected, close the connectivity session of your Control4 controller

DISCONNECT YOUR DIMMER FROM A CONTROL4 HOME AUTOMATION SYSTEM
To disconnect your dimmer from a Control4 controller, press the 2 buttons of the dimmer simultaneously for 10 seconds.
This action will also restore the factory settings of your dimmer. All your settings will be deleted.
CALIBRATION ACCORDING TO LOAD
The DM2550ZB-C4 dimmer has a special calibration function accessible on the device.
- First, ensure the load is OFF, and then press and hold the bottom button for 9-10 seconds until the load turns ON.
- Release the bottom button and let the dimmer perform its calibration routine. This will determine the optimum parameters for the connected load type.
- Perform this operation each time the load is changed. If you perform a calibration, there is no need to modify the “One percent ON Adjustment” property.

TECHNICAL SPECIFICATIONS:
Operating voltage: 120 Vac, 60 Hz
Operation temp.: 0 °C to 40 °C (32 °F to 104 °F)
Storage: -20 °C to 50 °C (-4 °F to 122 °F)
UL standard: Conforms to ANSI/UL Std. 1472
CSA standard: Certified to CAN/CSA Std. C22.2#184.1
PROVIDED CONNECTORS SPECIFICATIONS:
Stripping length: 16 mm
Wires: 22-10 AWG, Cu
Combinations: Max. 2 #12 & 2 #14, Min. 3 #20 Sol.
MAXIMUM LOAD PER DIMMER FOR A SINGLE OR A MULTI-GANG INSTALLATION:
| Incandescent Lamp | Halogen Lamp | Dimmable LED / CFL | |
| Single installation | 600 W | 600 W | 150 W |
| Multi-gang (2 units) | 500 W | 500 W | 150 W |
| Multi-gang (3 units) | 400 W | 400 W | 150 W |
Protocol: Zigbee 3.0
Frequency: 2.4 GHz
Transmission power: +20 dBm
Receiver sensitivity: -108 dBm
Transmitter Module IC: 22394-ZBM1501 / FCC ID:2AK2T-ZBM1501 This device complies with Industry Canada license exempt RSS standard(s).
Operation is subject to the following two conditions:
(1) this device does not cause interference, and (2) this device must accept any interference, including interference that may cause undesired operation of the device.
This equipment has been tested and found to comply with the limits for a Class B digital device, pursuant to part 15 of the FCC Rules. These limits are designed to provide reasonable protection against harmful interference in a residential installation. This equipment generates, uses and can radiate radio frequency energy, and if not installed and used in accordance with the instructions, may cause harmful interference to radio communications. However, there is no guarantee that interference will not occur in a particular installation. If this equipment does cause harmful interference to radio or television reception, which can be determined by turning the equipment OFF and ON, the user is encouraged to try to correct the interference by one or more of the following measures:
Reorient or relocate the receiving antenna.
Increase the separation between the equipment and receiver.
Connect the equipment into an outlet on a circuit different from that to which the receiver is connected.
Consult the dealer or an experienced radio/TV technician for help.
3-year limited warranty
SINOPE TECHNOLOGIES INC. warrants the components of their products against defects in material and workmanship for a 3-year period from the date of purchase,
under normal use and service, when proof of purchase of such is provided to the manufacturer. This warranty does not cover any transportation costs that may be
incurred by the consumer. Nor does it cover a product that has been improperly installed, misused or accidentally damaged.
The obligation of SINOPÉ TECHNOLOGIES INC., under the terms of this warranty, will be to supply a new unit and this releases the manufacturer from paying the
installation costs or other secondary charges linked to replacing the unit or the components.
![]()
For more information, visit our Website: www.sinopetech.com
660-2132-0004-A


























