
www.ledvanceUS.com
SYLVANIA Luminaires
Installation Guide Extruded Vapor Tight

PLEASE READ ALL INSTRUCTIONS BEFORE ATTEMPTING INSTALLATION
4067861 Extruded Vapor Tight
CAUTION – RISK OF FIRE
THIS PRODUCT MUST BE INSTALLED IN ACCORDANCE WITH THE APPLICABLE INSTALLATION CODES BYA PERSON FAMILIAR WITH THE CONSTRUCTION AND OPERATION OF THE PRODUCT AND THE HAZARDS INVOLVED. THIS PRODUCT MUST BE WIRED IN ACCORDANCE WITH THE NATIONAL ELECTRIC CODE AND ALL APPLICABLE LOCAL CODES.
- TO PREVENT PERSONAL INJURY OR PRODUCT DAMAGE ONLY LICENSED ELECTRICIANS SHOULD PROVIDE ALL INSTALLATION SERVICES.
- TO AVOID ELECTRIC SHOCK OR COMPONENT DAMAGE DISCONNECT POWER BEFORE ATTEMPTING INSTALLATION OR SERVICING.
- USE CAUTION WHEN HANDLING THIS PRODUCT DURING OR AFTER OPERATION AS IT MAY BECOME HOTAND CAUSE BURNS. DISCONNECT PRODUCT AND ALLOW COOLING PRIOR TO SERVICING.
- ANY ALTERATION OR MODIFICATION OF THIS PRODUCT IS EXPRESSLY FORBIDDEN AS IT MAY CAUSE SERIOUS PERSONAL INJURY, DEATH, PROPERTY DAMAGE AND/OR PRODUCT MALFUNCTION.
- TO PREVENT PRODUCT MALFUNCTION AND / OR ELECTRICAL SHOCK THIS PRODUCT MUST BE PROPERLY GROUNDED USING THE GREEN GROUND WIRE.
• ALL WIRING CONNECTIONS SHOULD BE CAPPED WITH UL APPROVED WIRE CONNECTORS. - THIS LUMINAIRE IS DESIGNED TO OPERATE IN AMBIENT TEMPERATURES RANGING FROM -4°F TO +104° F(-20°C TO +40°C).
- THIS LUMINAIRE IS DESIGNED TO OPERATE IN DRY, DAMP, OR WET LOCATIONS.
- MIN 90°C SUPPLY CONDUCTORS.
- TO PREVENT WIRING DAMAGE OR ABRASION, DO NOT EXPOSE WIRING TO EDGES OF SHEET METAL OROTHER SHARP OBJECTS.
- This fixture is designed for permanent installation in ordinary (Non-Hazardous) locations in accordance with the National Electrical Code and all applicable local codes. Do not use in areas of limited ventilation or in high ambient enclosures.
NOTE!
This device complies with Part 15 of the FCC rules. Operation is subject to the following two conditions:(1) this device may not cause harmful interference, and (2) this device must accept any interference received, including interference that may cause undesired operation.
Please visit www.ledvanceUS.com/fccpart15b
CAN ICES-005(B) \ NMB-005(B)
SAFETY PRECAUTIONS:
IMPORTANT: READ CAREFULLY BEFORE INSTALLING THE FIXTURE. RETAIN FOR FUTURE REFERENCE.
GENERAL: Upon receipt of the fixture, thoroughly inspect for any freight damage which should be brought to the attention of the delivery carrier.
TO AVOID ELECTRIC SHOCK OR COMPONENT DAMAGE DISCONNECT POWER BEFORE ATTEMPTING INSTALLATION OR SERVICING
INSTALLATION:
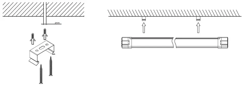
Fixture Mounting
WIRING NOTES:
A. All fixtures require an individual connection to the AC supply. No through-wiring is possible.
B. Wiring can only be run through the end cap of the fixture labeled “INPUT WIRING” – there are no knockouts for input wiring at any other location on the fixture.
- SURFACE MOUNTING: Secure the supplied stainless-steel mounting brackets to the mounting surface in the desired location. The brackets will snap onto the back of the fixture at any location inside the end caps.
Snap the fixture into the mounting brackets.
- CHAIN MOUNTING (Mounting chains are not included): Secure the mounting chains to the mounting surface at the desired location and height. Slide the stainless-steel V-hooks up through the center holes in the supplied stainless-steel mounting brackets as shown in the photo. Hook the S-Hooks at the end of the chains over the center of the V-Hooks and crimp the S-Hooks securely in place. Snap the brackets onto the back of the fixture at any location inside the end caps.

- CABLE MOUNTING (Cable Mounts are not included): Secure the mounting cables to the mounting surface at the desired location and height. Attach the mounting cables to the
stainless-steel mounting brackets and snap the mounting brackets onto the back of the fixture. The brackets will snap onto the back of the fixture at any location inside the end caps.
WIRING
WIRING NOTES:
A. All fixtures require an individual connection to the AC supply. No through-wiring is possible.
B. Wiring can only be run through the end cap of the fixture labeled “INPUT WIRING” – there are no knockouts for input wiring at any other location on the fixture.
- Remove the end cap on the end of the fixture that has the knockout already removed by opening the latches on both sides of the cap (there is a label on the bottom of the luminaire marked “Input Wiring”).
- Slide the cap straight out.
- Feed the AC supply wiring (including the 0-10V dimming wiring if required) through the supplied connector and secure the connector in the end cap.
TO AVOID ELECTRIC SHOCK OR COMPONENT DAMAGE DISCONNECT POWER BEFORE ATTEMPTING INSTALLATION OR SERVICING - Wiring installation should be conducted by a qualified electrician.
Complete the wiring of the fixture according to the National Electric Code and all applicable State and Local codes. Warning: The fixture must be properly grounded. - Carefully feed the connected supply wiring into the end of the fixture and slide the end cap straight onto the fixture.
- Snap the latches closed to secure the end cap.

CCT and Wattage Selection
- Remove the end cap on the end of the fixture labeled “Wattage & CCT Setting” on the bottom of the luminaire by opening the latches on both sides of the cap.
- Slide the cap straight out.


- Set the CCT Selector switch to the desired setting (3500K, 4000K or 5000K).
- Set the Wattage Selector switch to the desired setting. Note: The wattage selector switch tray will slide out a small amount for easier access to the switch.
- Slide the end cap back onto the fixture and snap the latches closed to secure the end cap.
WIRING DIAGRAM
This fixture is compatible with 0-10V output dimming controls. Using the 0-10V dimming the light output will range from 10% – 100%. To get to 0% light output (OFF) it is necessary to switch the input power to the LED drivers.
Connect dimmer or wall switch to dimming inputs on driver. (See Wiring Diagram below)
![]()

CLEANING AND MAINTENANCE
- To maintain the fixture efficacy occasional cleaning of the outer lens surface may be needed.
- Use a mild soap or detergent, which is essentially neutral pH (pH approximately 6 to 8), nonabrasive, and which contains no chlorinated or aromatic hydrocarbons.
- Wash thoroughly, using a soft cloth.
- Rinse with clean, cold water and wipe dry.
![]()
TROUBLE SHOOTING CHECKLIST: If luminaire does not work
- Check your power source.
- Check electrical connections.
SYLVANIA is a registered trademark.
LEDVANCE LLC
200 Ballardvale Street
Wilmington, MA 01887
1-800-LIGHTBULB (1-800-544-4828)















