FABAS LUCE 3711-41-102 TIRRENO Pendant LED Chandelier with Wire

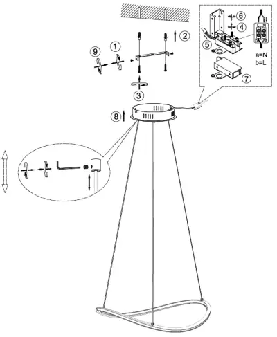
Light source: Two persons are required for assembly
INSTALLATION

- ACCESO/SPENTO
- LUCE NOTTURNA
- LUMINOSITÀ LUCE +
- LUMINOSITÀ DELLA LUCE –
- CAMBIO COLORE LUCE (BIANCO CALDO /
BIANCO NATURALE / BIANCO FREDDO / NOTTURNA) - LUCE SPENTA DOPO 60 SEC.
- COLORE DELLA LUCE +
- COLORE DELLA LUCE –

Explanation of symbols
Read these assembly instructions before use of the appliance and conserve them. Turn power off before carrying out any operation. To clean the lamp, never use abrasive detergents. Each model is supplied with labels in which is stated Symbols which state the correct use of the appliance All FABAS LUCE products fall within the range of application of the European electromagnetic compatibility E.M.C.directive 2014/30/UE and subsequent amendment and/or the European low voltage directive B.T. 2014/35/UE and subsequent , meet the required specifications and bear “CE” labelling The symbol indicates that the fixture has to be disposed in separate collection
![]()
- Prepare the supply line with devices able to avoid overvoltage (surge protection)
- Class II certified equipment, with double insulated wiring. During installation, cut earth wire
- LED light source replaceable only by professional personnel
- Power supply replaceable only by professional personnel
- This product contains a light source of energy efficiency class E
- Remote control batteries (2xAAA) not supplied
WAIGHT

LA MIA LUCE by FABAS LUCE S.p.A.
- ADDRESS: Via Talamoni, 75 – Brugherio (MB) – ITALY
- www.fabasluce.it
- [email protected]
Made in China – Fabriquè en Chine
Hecho en China – Feito na Chin













