John Lewis Shelf with 8 Hooks

Pre-assembly preparation

Phillips head screwdriver and spirit level required
Thank you for purchasing this product. Please read the instructions and check pack contents carefully before starting assembly of this product. A full checklist of components is given in this leaflet. If any co1mponents are missing please contact John Lewis and partners customer services.
This product w ill take 1 person approximately 30 minutes to assemble.
The fitting pack contains small items which could present a choking hazard and should be KEPT A WAY FROM YOUNG CHILDREN.
Read this leaflet in full before commencing assembly.
Fittings and parts checklist
No. | Picture | Name | Qty |
![]() | Hook Rack | 1 | |
![]() | Template | 1 | |
![]() | Wall Plug | 3 | |
![]() | Screw | 3 |
Helpful advice before you begin
- We suggest you spend a short time reading through this leaflet and then follow the simple step by step instructions.
- Do not discard any of the packaging until you have checked that you have all the parts and the pack of fittings.
- Assemble this product on a soft surface.
- To ensure an easier assembly, we strongly advise that all fittings are only finger tightened during initial assembly. Only upon completion of the assembly should all fixing points be fully tightened.
- We recommend a periodic check on all fixing points to make sure they remain fully t ightened.
- Keep out of reach of small children. It contains small parts which might present a choking hazard.
- Do not use any other tools other than those recommended to build this product.
GUIDE TO WALL MOUNTING & FIXINGS
KEY INFORMATION
Warning: Although we have provided fixings, different wall materials require different types of screws I fixings. Please ensure you use the correct screws I fixings for your type of walls and seek professional advice if you are not sure. Failure of the product due to incorrect fixings is the responsibility of the installer.
Important – When drilling into the walls always check that there are no hidden wires or pipes etc.
Take care when drilling on glazed t ile surfaces in case the drill slips.
FIXINGS
You can use one of the following types of wall plug if your walls are made of brick, breezeblock, concrete, stone or wood.
![]() | General Purpose wall plug Generally aerated blocks should not be used to support heavy loads, use a specialist fitting in this case. For light loads, general – purpose wall plugs can be used. |
![]() | Plasterboard wall plug For use when attaching light loads on to plasterboard part itions. |
![]() | Cavity Fixing wall plug For use with plasterboard partitions or hollow wooden doors. |
![]() | Cavity Fixing – Heavy Duty wall plug For use when fitting or supporting heavy loads such as shelving, wall cabinets and coat racks. |
![]() | Hammer Fixing wall plug For use with walls stuck with plasterboard. The hammer fixing allows it to be fixed to the wall rather than the plasterboard. Always check the fixing is secure to the retaining wall. |
![]() | Shield Anchor wall plug – Heavy loads For use with heavier loads such as TV and Hi-Fi speakers and satellite dishes etc. |
Assembly instructions
Step 1
Place template (B) on the wall.
Please use a spirit level to ensure that the template is straight Drill the required holes in the wall using the template and follow the guidance on the ‘Wall Fixings’ section.
Step 2
Insert the wall plugs (C).
Step 3
Screw in the screws (D).
Step 4
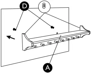
Hang the hook rack (A) and mark the hole for the metal plate.
Drill the hole as marked.
Step 5
Insert the wall plug (C). Hang the hook rack (A) and screw the screw (D) through the metal plate.
Care instructions
- Wipe clean with a soft cloth.
- Maximum load of 8kg.
Warnings!
The fittings pack contains small items which should be kept away from young children.
John Lewis Partnership
171 Victoria Street London SW1E SNN
www.johnlewis.com
Made in China



























