Metal and Rubberwood 5 Hook Coat Rack
57040108

USER GUIDE
Pre-assembly preparation

Phillips head screwdriver and spirit level required
Thank you for purchasing this product. Please read the instructions and check pack contents carefully before starting assembly of this product. A full checklist of components is given in this leaflet. If any components are missing please contact John Lewis and partners customer services.
This product will take 1 person approximately 20 minutes to assemble.
The fitting pack contains small items which could present a choking hazard and should be KEPT AWAY FROM YOUNG CHILDREN.
Read this leaflet in full before commencing assembly.
Fittings and parts checklist

Helpful advice before you begin
- We suggest you spend a short time reading through this leaflet and then follow the simple step by step instructions.
- Do not discard any of the packaging until you have checked that you have all the
- Assemble this product on a soft surface.
- To ensure an easier assembly, we strongly aadvise that all fittings are only finger tightened during initial assembly. Only upon completion of the assembly should all
- We recommended a periodic check on all fixing points to make sure they remain fully tightened.
- Keep out of reach of small children. It contains small parts which might present a choking hazard.
- Do not use any other tools other than those recommended to build this product.
GUIDE TO WALL MOUNTING & FIXINGS
KEY INFORMATION
Warning: Although we have provided fixings, different wall materials requiredifferent types of screws / fixings. Please ensure you use the correct screws / fixings for your type of walls and seek professional advice if you are not sure.
Failure of the product due to incorrect fixings is the responsibility of the installer.
Important : When drilling into the walls always check that there are no hidden wires or pipes etc. Take care when drilling on glazed tile surfaces in case the drill slips.
FIXINGS
You can use one of the following types of wall plug if your walls are made of brick, breezeblock, concrete, stone or wood.
General Purpose wall plug

Generally aerated blocks should not be used to support loads, general purpose wall plugs can be used.
Plasterboard wall plug

For use when attaching light loads on to plasterboard partitions.
Cavity Fixing wall plug

For use with plasterboard partitions or hollow wooden doors.
Cavity Fixing - Heavy Duty wall plug

For use when fitting or supporting heavy loads such as shelving, wall cabinets and coat racks.
Hammer Fixing wall plug

For use with walls stuck with plasterboard. The hammer retaining wall.
Shield Anchor wall plug - Heavy loads

For use with heavier loads such as TV and Hi-Fi speakers and satellite dishes etc.
Assembly instructions
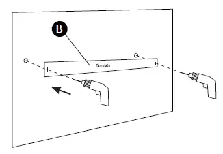
Step 1. Place template (B) on the wall. Please use a spirit level to ensure that the template is straight. Drill the required holes in the wall using the template and follow the guidance on the ‘Wall Fixings’ section.

Step 2. Insert the wall plugs. C

Step 3. Screw in the screws (D).

Step 4. Hang the coat rack.
Care instructions
Wipe clean with a soft dry cloth. Maximum load of 6kg.
Warnings!
The fittings pack contains small items which should be kept away from young children.
John Lewis Partnership 171 Victoria Street London SW1E 5NN johnlewis.com
Made in China
Please retain these instructions for future reference
Product Code: 57040108
















