Yobuno M10 Dog Training Collar User Manual
Tips Before Using
- Please make sure the receiver and transmitter are on.
- Take the collar with the receiver to pet’s neck, adjust the length of collar properly to make sure the receiver is contacting skin.
- When wearing the collar for first time, please do not choose “electric mode”. The pet may take time to adapt to the collar.
- This product is waterproof.
- CAUTION: DO NOT TOUCH COLLAR WHEN IT IS IN “ELECTRIC MODE”; Otherwise, you will be shocked.
Our Product
This product is a training collar set includes a receiver and a transmitter.
The receiver is with the collar. The transmitter can remotely control the receiver for different mode: Beeping, Vibration, Flashlight and Electric Mode.
The Maximum control distance is 1000 feets.
Our product is reliable and durable, the Flashlight Mode can help you to identify your pet quickly.
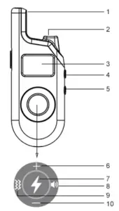
Appearance diagram

- Antenan
- Torch light
- LCD
- Light switch
- Power
- Level +
- Static
- Beep
- Vibrate
- Level

Signal Indicator
Receiver:
- Power On: Press Power Button for 2s to turn on. Greenlight will flash every 3s.
- Search Signal: Press Power Button for 5s, Greenlight will keep flashing to pair transmitter.
- Sleeping: Greenlight will flash every 3s.
- Working Status (Electric Mode, Vibration, Beeping): Green light is on.
- Low battery: Red light will keep flashing when <10% battery.
- Charging: Red light is on.
- Fully Charged: Green light is on.
Long press the light button to turn on flashlight mode. Colorful light can help you to identify your dogs. Press any button(beep, vibration or electric) to turn off.
Transmitter:
Press any key to keep the screen on. The screen will dim after 6s

- Dog 1: This icon will light up when controlling the first collar.
- Dog 2: This icon will light up when controlling the second collar.
- Electric shock: This icon will light up when you press “Electric shock”.
- Beep: This icon will light up when you press “Beep”.
- Battery level: You can clearly know the remaining battery level of your remote control.
- Dog 3: This icon will light up when controlling the third collar.
- Vibrate: This Icon will light up when you press “Vibrate.
- Static level: You can adjust it by pressing the button “+”or”-“.
- Lock: This icon lights up when the keyboard is locked.
Training
Electric Mode: Press electric mode button to initiate electric shock.
Shock strength adjustment: (+)button to increase; (-)button to decrease.
Vibration: Press vibration mode button to initiate vibration
Beeping: Press beeping mode button to initiate beeping
Original receiver and transmitter are well paired. To pair new receiver, long press power button of new receiver until the green light flashing. Change transmitter into a new channel and press any button to pair the new receiver. Receive will beep and flash the green light.
Function
Power on/off: Long press power button
Switch receiver: Switch toggle switch
Flashlight: Short press flashlight button to switch between Flashlight/SOS/Off mode Long press flashlight button, receiver will flash colorful light to identify your dog.
Keyboard lock: Press Lock/Unlock button
![]()
Warning:
This device complies with Part 15 of the FCC Rules. Operation is subject to the following two conditions: ( I) this device may not cause harmful interference, and (2) this device must accept any interference received, including interference that may cause undesired operation.
changes or modifications not expressly approved by the party responsible for compliance could void the user’s authority to operate the equipment.
NOTE: This equipment has been tested and found to comply with the limits for a Class B digital device, pursuant to Part 15 of the FCC Rules. These limits are designed to provide reasonable protection against harmful interference in a residential installation. This equipment generates, uses and can radiate radio frequency energy and, if not installed and used in accordance with the instructions, may cause harmful interference to radio communications. However, there is no guarantee that interference will not occur in a particular installation. If this equipment does cause harmful interference to radio or television reception, which can be determined by turning the equipment off and on, the user is encouraged to try to correct the interference by one or more of the following measures:
- Reorient or relocate the receiving antenna.
- Increase the separation between the equipment and receiver.
- Connect the equipment into an outlet on a circuit different from that to which the receiver is connected.
- Consult the dealer or an experienced radio/TV technician for help.















