
MATT BLATT Amber Bench Stool (Small)

COMPONENTS
- Stool cover (x1)
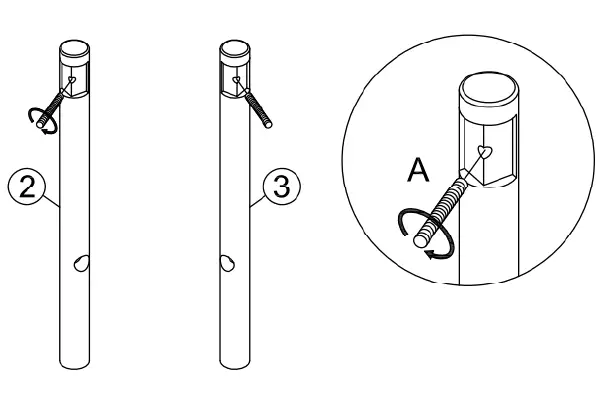
- Leg (x2)
- Leg (x2)
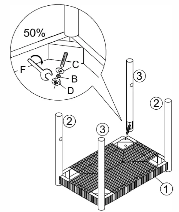
- Rack (x1)
Hardware 
- Dowel(x4)
- Split washer (x4)
- Washer (x4)
- Nut (x4)
- Screw (x4)
- Wrench (xl)
- Adhesive pad (x4)
ASSEMBLY
Step 1: Screw in the dowels (A) into the top of all legs
Step 2:
- Turn the stool cover over to expose the underside.
- With the legs (2 & 3) standing dowel end facing down on the corners of the stool cover (1), place a washer (C) and split washer (B) all the way to the end of each dowel (A).
- Put one nut (4) onto each dowel (A) and tighten using the wrench (F) until halfway down their length.

Step 3: Align and insert the rack (4) into the holes of the legs (2 & 3) to secure it in place. 
Step 4: Using the wrench (F), tighten the nuts (D) on the dowels (A) all the way down the dowel’s length until secure.
Step 5: Insert and secure the screws (E) into the holes of the rack. (4).
Then peel the adhesive pads (G) and attach them to the bottom of the legs
Step 6: Turn the bench stool right side up.

NEED MORE INFORMATION?
We hope that this user guide has given you the assistance needed for a simple set-up.
For the most up-to-date guide for your product, as well as any additional assistance you may require, head online to help.mattblatt.com.au























