MATT BLATT Set of 4 Replica Aalto Low Stool

COMPONENTS 
Hardware
ASSEMBLY
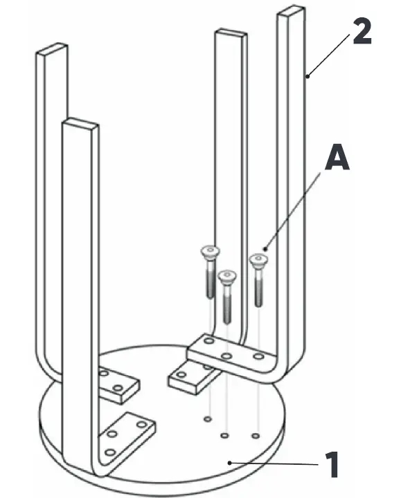
Step 1: Align the holes on the legs (2) with those on the seat (1). Insert the screws (A) through the holes.
Step 2: Use the Allen key (B) to secure the screws (A).
Assembly complete!
NEED MORE INFORMATION?
We hope that this user guide has given you the assistance needed for a simple set-up. For the most up-to-date guide for your product, as well as any additional assistance you may require, head online to help.mattblatt.com.au MATT BLATT
MATT BLATT Set of 4 Replica Aalto Low Stool



















