
ITEM # LEDR4/NL/5CCTCA
Questions, problems, missing parts?
Before returning to the store, call Feit Electric Customer Service
8 a.m. – 5 p.m., PST, Monday-Friday 1-866-326-BULB (2852)
IMPORTANT SAFETY INSTRUCTIONS AND INSTALLATION GUIDE
Please read and understand this entire manual before attempting to assemble, operate or install this product. This product must be installed in accordance with any applicable installation code(s) by a qualified electrician or person familiar with the construction and operation of the product and the hazards involved.
WARNING
- RISK OF FIRE OR ELECTRIC SHOCK: The electrical rating of this product is 120VAC.
- RISK OF FIRE OR ELECTRIC SHOCK: Install this product only in luminaires that have the construction features and dimensions shown in the photographs and/or drawings in this manual.
- To prevent wiring damage or abrasion, do not expose wiring to edges of sheet metal or other sharp objects.
- RISK OF SHOCK – DISCONNECT POWER BEFORE
INSTALLATION
- Do not make or alter any open holes in an enclosure of wiring or electrical components during installation.
- THIS DEVICE IS NOT INTENDED FOR USE WITH EMERGENCY EXITS.
- RISK OF FIRE OR ELECTRIC SHOCK: LED Recessed Downlight with Trim installation requires knowledge of luminaires electrical systems. If not qualified, do not attempt installation. Contact a qualified electrician.
CAUTION
To avoid possible electrical shock, be sure that the power is turned off at the fuse box or circuit breaker before installing or servicing the product. For your safety, read and understand the instructions completely before beginning installation.
Supplier’s Declaration of Conformity:
47 CFR § 2.1077 Compliance Information
Responsible Party: Feit Electric Company
4901 Gregg Road,
Pico Rivera, CA 90660, USA 562-463-2852
Unique Identifier: FEIT ITEM # LEDR4/NL/5CCTCA
This device complies with part 15 of the FCC Rules. Operation is subject to the following two conditions: (1) This device may not cause harmful interference, and (2) this device must accept any interference received, including interference that may cause undesired operation. Note: This equipment has been tested and found to comply with the limits for a Class B digital device, pursuant to part 15 of the FCC Rules. These limits are designed to provide reasonable protection against harmful interference in a residential installation. This equipment generates, uses and can radiate radio frequency energy and, if not installed and used in accordance with the instructions, may cause harmful interference to radio communications. However, there is no guarantee that interference will not occur in a particular installation. If this equipment does cause harmful interference to radio or television reception, which can be determined by turning the equipment off and on, the user is encouraged to try to correct the interference by one or more of the following measures: Reorient or relocate the receiving antenna. Increase the separation between the equipment and receiver. Connect the equipment into an outlet on a circuit different from that to which the receiver is connected. Consult the dealer or an experienced radio/TV technician for help. Any changes or modifications not expressly approved by the manufacturer could void the user’s authority to operate the equipment.
WARRANTY
This product is warranted to be free from defects in workmanship and materials for up to five years from the date of purchase. If the product fails within the warranty period, please contact Feit Electric at [email protected], visit feit.com/contact-us or call 1-866- 326-BULB (2852) for instructions on replacement or refund. REPLACEMENT OR REFUND IS YOUR SOLE REMEDY. EXCEPT TO THE EXTENT PROHIBITED BY APPLICABLE LAW, ANY IMPLIED WARRANTIES ARE LIMITED IN DURATION TO THE DURATION OF THIS WARRANTY. LIABILITY FOR INCIDENTAL OR CONSEQUENTIAL DAMAGES IS HEREBY EXPRESSLY EXCLUDED. Some states and provinces do not allow the exclusion of incidental or consequential damages, so the above limitation or exclusion may not apply to you. This warranty gives you specific legal rights, and you may also have other rights which vary from state to state or province to province.
FEIT ELECTRIC COMPANY | PICO RIVERA, CA | 1-866-326-BULB (2852) | FAX (562) 908-6360 | www.feit.com
PACKAGE CONTENTS
Before beginning the installation of this product, make sure all parts are present. Compare parts with package contents list and diagram. If any part is missing or damaged, do not attempt to assemble, install or operate this product.
| COMPONENTS INCLUDED | |
| A | (1) MEDIUM BASE ADAPTER |
| B | (1) RECESSED DOWNLIGHT |
| C | (1) INSTRUCTION MANUAL |

PRODUCT ELECTRICAL RATINGS
120 V / 60 Hz, XX mA, 7.2 W
SUITABLE FOR DAMP LOCATIONS
Suitable for Type IC Housings and Non-IC Housings.
Continuous dimming between 5% – 100% with most dimmers

HOW TO SELECT YOUR LIGHT COLOR OR NIGHTLIGHT
This product comes with a dual feature that allows you to select between downlight mode and nightlight mode.
- Downlight mode provides a selection of five color temperatures.
- Nightlight mode provides low light output at a soft color temperature.

NOTICE: The toggle switch is located on the back of the fixture.
PICK YOUR FAVORITE LIGHT COLOR BEFORE INSTALLING
- You can lock in one color temperature.
- When the slide switch is set to SW (Soft White), the color temperature is set at 2700K.
- When the slide switch is set to BW (Bright White), the color temperature is set at 3000K.
- When the slide switch is set to NW (Neutral White), the color temperature is set at 3500K.
- When the slide switch is set to CW (Cool White), the color temperature is set at 4000K.
- When the slide switch is set to DL (Daylight), the color temperature is set at 5000K.
HOW TO SWITCH TO NIGHTLIGHT MODE
- Toggle the wall switch to power on the light.
- At the initial light up, the product is set to downlight mode.
- To transition to a nightlight mode, toggle the wall switch off and back on within 2 seconds.
- To transition back to downlight mode, toggle the wall switch off and back on within 2 seconds
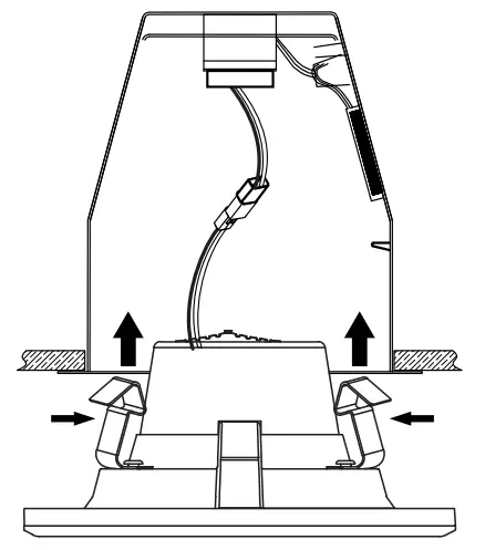
INSTALLATION INTO EXISTING RECESSED FIXTURE
NOTE: For use with 4 in. recessed housings (housing sold separately)
- Turn off the power at the switch and fuse box or circuit breaker.
- Remove the existing trim installed in the recessed housing (if necessary).
- Install the medium base adapter into the socket.

- Connect the two terminals together.

- Squeeze the clips in and gently push the product into place.

NOTE: Select preferred light color before installing. - Gently push the product in until it is flush to the ceiling.

FEIT ELECTRIC COMPANY | PICO RIVERA, CA | 1-866-326-BULB (2852) | FAX (562) 908-6360 | www.feit.com

















