LEDR56 Dimmable LED Recessed Downlight
Instruction Manual
INSTALLATION & OPERATING INSTRUCTIONS
READ & SAVE IMPORTANT SAFETY INSTRUCTIONS
Please read and understand this entire manual before attempting to assemble, operate or install this product. This product must be installed in accordance with any applicable installation code(s) by a qualified electrician or person familiar with the construction and operation of the product and the hazards involved.
WARNING
- RISK OF FIRE OR ELECTRIC SHOCK: The electrical rating of this product is 120VAC.
- RISK OF FIRE OR ELECTRIC SHOCK: Install this product only in luminaires that have the construction features and dimensions shown in the photographs and/or drawings in this manual.
- To prevent wiring damage or abrasion, do not expose wiring to edges of sheet metal or other sharp objects.
- RISK OF SHOCK – DISCONNECT POWER BEFORE INSTALLATION
- Do not make or alter any open holes in an enclosure of wiring or electrical components during installation.
- THIS DEVICE IS NOT INTENDED FOR USE WITH EMERGENCY EXITS.
- RISK OF FIRE OR ELECTRIC SHOCK: LED Recessed Downlight with Trim installation requires knowledge of luminaires electrical systems. If not qualified, do not attempt installation. Contact a qualified electrician.
CAUTION
To avoid possible electrical shock, be sure that the power supply is turned off at the fuse box or circuit breaker before installing or servicing the product. For your safety, read and understand the instructions completely before beginning installation.
This device complies with part 15 of the FCC Rules. Operation is subject to the following two conditions:
(1) This device may not cause harmful interference, and
(2) this device must accept any interference received, including interference that may cause undesired operation.
Note: This equipment has been tested and found to comply with the limits for a Class B digital device, pursuant to part 15 of the FCC Rules. These limits are designed to provide reasonable protection against harmful interference in a residential installation. This equipment generates, uses and can radiate radio frequency energy and, if not installed and used in accordance with the instructions, may cause harmful interference to radio communications. However, there is no guarantee that interference will not occur in a particular installation. If this equipment does cause harmful interference to radio or television reception, which can be determined by turning the equipment off and on, the user is encouraged to try to correct the interference by one or more of the following measures:
- Reorient or relocate the receiving antenna.
- Increase the separation between the equipment and receiver.
- Connect the equipment into an outlet on a circuit different from that to which the receiver is connected.
- Consult the dealer or an experienced radio/TV technician for help.
Any changes or modifications not expressly approved by the manufacture could void the user’s authority to operate the equipment. Feat Electric Company, 4901 Gregg Road, Pico Rivera, CA 90660. www.feit.com.
PACKAGE CONTENTS
Before beginning installation of this product, make sure all parts are present. Compare parts with package contents list and diagram. If any part is missing or damaged, do
not attempt to assemble, install or operate this product.
| COMPONENTS INCLUDED | |
| A | (1) MEDIUM BASE ADAPTER |
| B | (1) RECESSED DOWNLIGHT |
| C | (1) INSTRUCTION MANUAL |

PRODUCT ELECTRICAL RATINGS
120 V / 60 Hz, 95 mA, 10.2 W
WET LOCATION LISTED, ACCEPTABLE IN SHOWER INSTALLATIONS.
Suitable for Type IC Housings and Non-IC Housings.
MINIMUM LAMP COMPARTMENT DIMENSIONS FOR USE IN 5 IN. RECESSED LUMINAIRES:
5.375 in. (135 mm) DIA X 7.5 in. (190 mm) HEIGHT
MINIMUM LAMP COMPARTMENT DIMENSIONS FOR USE IN 6 IN. RECESSED LUMINAIRES:
6 in. (154 mm) DIA X 7.5 in. (190 mm) HEIGHT
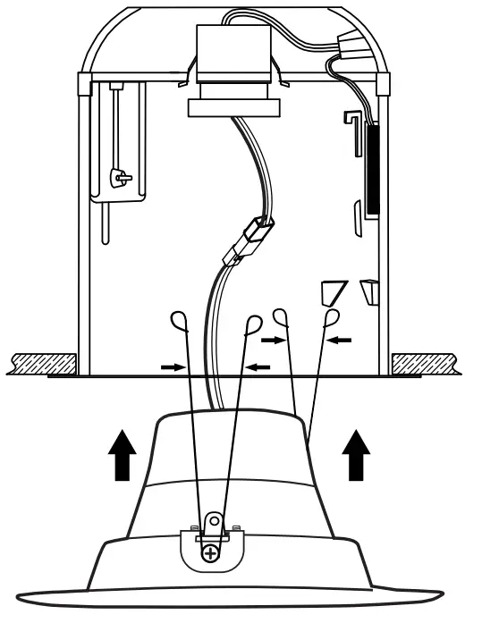
INSTALLATION INTO EXISTING RECESSED FIXTURE
NOTE: For use with 5 in. and 6 in. recessed housings (housing sold separately)
- Turn off the power at the switch and fuse box or circuit breaker.
- Remove the existing trim installed in the recessed housing (if necessary).
- If applicable, slide the lamp holder bracket to its upward maximum position. If necessary, remove the lamp holder mounting bracket by removing the wing nut and the lamp holder from the bracket, then attach the provided label to the existing luminaire.

- Install the medium base adapter into the socket.

- Connect the two terminals together.

- Insert the torsion springs into the fixture housing brackets. When installing the product into a 5 in. recessed housing, the torsion spring must be moved. Unscrew the torsion spring from the 6 in. position and move to the 5 in. position.


- Gently push the product in until it is flush to the ceiling.

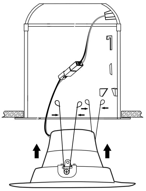
INSTALLATION INTO EXISTING RECESSED FIXTURE WITH COMPATIBLE ORANGE CONNECTORS
NOTE: For use with 5 in. and 6 in. recessed housings (housing sold separately)
- Turn off the power at the switch and fuse box or circuit breaker.
- Remove the existing trim installed in the recessed housing (if necessary).
- Discard the medium base adapter.
- Connect the two terminals together.

- Insert the torsion springs into the fixture housing brackets. Gently push the product up and torsion springs so they begin to expand and lift the product in place.

- Gently push the product in until it is flush to the ceiling.

FEIT ELECTRIC COMPANY
PICO RIVERA, CA
(800) 543-3348
FAX (562) 908-6360
www.feit.com


























