EUTOM 1000 Alutherm Wi-Fi

Thank you for choosing this EUROM device. You have purchased a quality device that you will enjoy for many years. Using this device with respect and care will reduce the risk of personal injury or material damage.
CAUTION
It is important to read and understand this instruction manual before assembling, installing and using the device.
Introduction
This manual describes the correct and safe use of this device. Keep this manual for future reference. The manual is an essential part of the device and must be given to the new owner upon resale or exchange. This manual has been compiled with the utmost care. Nevertheless, we reserve the right to improve and adjust this manual at any time. The images used may differ. The following symbols and terms are used in this manual to alert the reader on safety issues and important information:
WARNING
Indicates a hazardous situation which, if the safety instructions are not followed, can lead to injuries to the operator or bystanders, light and/or moderate damage to the product or to the environment.
CAUTION
Indicates a hazardous situation which, if the safety instructions are not followed, can lead to light and/or moderate damage to the product or to the environment.
Specifications
| Type: | Alutherm 1000 Wi-Fi | Alutherm 1500 Wi-Fi | Alutherm 2000 Wi-Fi | Alutherm 2500 Wi-Fi |
| Product size: | 61.4 x 20.8 x 45.8 cm | 75.9 x 20.8 x 45.8 cm | 92.2 x 20.8 x 45.8 cm | 102 x 20.8 x 45.8 cm |
| Weight: | 3.9 kg | 4.7 kg | 5.5 kg | 5.9 kg |
| Voltage: | 230 V / 50/60 Hz | 230 V / 50/60 Hz | 230 V / 50/60 Hz | 230 V / 50/60 Hz |
| Power (L/M/H): | 400 / 600 / 1000 W | 600 / 900 / 1500 W | 800 / 1200 / 2000 W | 1000 / 1500 / 2500 W |
| Protection rating: | IP24 | IP24 | IP24 | IP24 |
| Protective class: | Class I | Class I | Class I | Class I |
| Minimal space area: | 10 m3 | 15 m3 | 20 m3 | 25 m3 |
Description
The Alutherm Wi-Fi is an easy-to-use electric heater for indoor use, see (Figure 3). The device can be programmed on a day and a week timer. The Alutherm Wi-Fi can be used with the Eurom Smart App

- Connection external temperature sensor
- ON/OFF switch
- Control panel and LED display
- Remote control
- Power plug
- Air inlet safety grill
- Pedestals (Optional)
- Heat outlet safety grill
Control panel

- ON/OFF button
- LED display
- SET button
- WEEK button
- Minus button
- Remote control receiver
- Plus button
- MOD button
LED display
The LED display will go dark if no adjustments are made for 2 minutes. The LED display will light up again when you press a button.

Status indication
- The 3 suns indicate whether the heater is set to low, medium or high capacity.
- The Wi-Fi symbol indicates if there is a Wi-Fi connection.
- The “P” indicates that the program function is active.
- The “M” indicates that the manual function is active.
Temperature indication
- SET indicates that a day or time can be set.
- ON indicates that the heater is switched on.
- OFF indicates that the heater has been switched off by the stand-by button or the tipping safeguard.
- Temperature shown in degree Celsius.
Time indication
Time shown in 24-hours format
Day indication
Number corresponds with the day of the week: 1 = Monday, 2 = Tuesday, and so on.
Remote control

- ON/OFF button
- SET button
- Circle plus button
- Circle minus button
- Minus button
- WEEK button
- Plus button
- Heat capacity button
- ECO button
- MODE button
Safety
Please read and understand these safety instructions. Incorrect use can cause injury and will void EUROM’s warranty. This device is not suitable for use by persons with a physical, sensory or mental disability, or lack of experience and knowledge (including children). Keep the device out of reach of children, unqualified persons and pets. Never leave the device unattended while it is in operation. The device is equipped with an overheating protection, which switches it off automatically in case of internal overheating. Switch the device off, unplug the power plug, remove the source of overheating, let it cool down and use as normal. Do not use the device if the source of overheating cannot be traced or if the problem persists, but always contact your supplier. The device is fitted with a tipping safeguard, which ensures it automatically shuts off if it tips over. When the device is returned to its upright position, it will resume functioning normally. Before reusing the device, switch it off, unplug it and check it for damage. Do not use the device if it is damaged or malfunctioning, but always contact your supplier. This device is splashproof. When mounted to a wall, it may be used in bathrooms and other damp rooms. The use of the device on pedestals is not permitted in bathrooms and damp rooms. To prevent contact with water, the device must be installed at a fixed location at least 100 cm from water taps and water reservoirs.
WARNING
Do not use the device
- outdoors or in a small space;
- if any parts are dirty or wet;
- near large objects, like behind a door, under a shelf or cupboard;
- near a water source, like a bath, shower, swimming pool or open window;
- near or in a dusty and dirty environment, like a construction site;
- near flammable materials, liquids or fumes, like a shed, stable or green house;
- near other heat sources and open fire;
- immediately below a socket outlet;
- with an appliance that automatically switches the device on, such as a timer, dimmer or any other device
If the device, the electric cable or plug shows damage or is malfunctioning, immediately take the appliance out of use and disconnect the power supply.
Transport and storage
- Clean the device before storing it.
- Transport the device upright.
- Store the device upright in its original packaging in a cool, dry and dust-free area.
Assembly
WARNING
Never place the device on surfaces such as beds or deep-pile carpet as openings could be blocked. The device is packed in one box. Remove all packaging material and check that the device is not damaged. Do not use the heater if it is damaged, but always contact your supplier. Keep the packaging for safe storage and transport. The device can be assembled in two ways; mounted on pedestals or mounted on a wall.
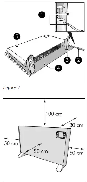
Mounting on pedestals

- Lay the device down on a steady soft surface
- Place the pedestals on both sides of the main body
- Screw and tighten the pedestals with a small screw using a Phillips screwdriver
- Place the device on a horizontal, solid and non-flammable surface.
- Place the device with a minimum clearance distance (Figure 8) of:
- 100 cm on the top side;
- 50 cm on the sides;
- 30 cm on the back side;
- 50 cm on the front side.
- Do not place the device immediately below a socket outlet
WARNING
The wall used for mounting must be made from non-flammable material and should be able to withstand a minimum temperature of 200 °C.
CAUTION
Make sure to use suitable fastening materials, depending on the surface. Never block the space between the device and the wall.
Wall mounting

- Place the device on a vertical and solid surface. Use a spirit level when placing the device
- Place the device with a minimum distance of:
- 150 cm from the ceiling;
- 30 cm from the side walls;
- 30 cm from the floor;
- 50 cm clearance on the front side.
- Do not mount the device:
- immediately below a socket outlet;
- on a ceiling or roof.
- Drill two holes at least 610 mm above the floor and with a distance of
- Alutherm 1000: 255 mm;
- Alutherm 1500: 400 mm;
- Alutherm 2000: 563 mm;
- Alutherm 2500: 655 mm.
- Place wall plugs
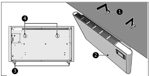
- Screw and tighten a left and a right bracket to the wall with a large screw using a Phillips screwdriver
- Lay the device down on a soft steady surface
- Screw and tighten two brackets on both sides of the main body with a small screw using a Phillips screwdriver

- Place the bracket holes over the wall brackets
- Let the device drop into the openings of the wall brackets
- Use the device brackets to mark the bottom hole position on the wall.
- Remove the device from the wall brackets
- Drill two holes at the marked positions and place the wall plugs.
- Place the device back on the wall brackets
- Screw and tighten the device brackets with a large screw to the wall using a Phillips screwdriver

Temperature sensor (Optional)
CAUTION
For accurate temperature measuring use the external temperature sensor.
- Make sure the ON/OFF switch is in the OFF position
- Connect the temperature sensor connector to the sensor plug
- Place the temperature sensor approximately 2 meters away from the device.

Installation

- Make sure the device is correctly assembled.
- Make sure the ON/OFF switch is in the OFF position
- Place the power plug into an earthed wall socket that is easily accessible. Use an earthed wall socket with a minimum power of 2500 Watt.
Remote control

- Remove the cover
- Remove the batteries (if present).
- Insert two batteries (AAA 1.5 V) as indicated in the battery compartment. Make sure to insert the batteries correctly.
- Replace the cover
Operation
WARNING
Before every use, make sure that:
- you operate the device with dry hands;
- the device is clean and dry;
- the device is not damaged;
- the device is not covered or blocked;
- the device is securely installed.
CAUTION
When the device is turned on or off, it may emit a sound. This is material expanding and shrinking during heating and cool-down.
CAUTION
The day and time settings will be lost if the device is switched off using the ON/OFF switch or is unplugged

- Set the ON/OFF switch to the ON position
- The display will show OFF.
- Press the ON/OFF button.
- Press and hold the SET button until SET appears on the screen.
- Use the plus and minus button to select the correct day and confirm with the SET button.
- Use the plus and minus button to set the correct time:
- Hours, confirm with the SET button;
- Minutes, confirm with the SET button.
- Press the MOD button to choose the desired function: manual or program.
Manual function
Set the capacity at which the heater will work using the plus and minus button. The 3 suns indicate whether the heater is set to low, medium or high capacity.
Program function
Set the desired temperature for the device using the plus and minus button. The device automatically:
- chooses the correct capacity;
- turns off when the desired temperature is reached;
- turns back on when it cools down
Weekly timer setting
- Make sure the device is set to program function.
- Press and hold the WEEK button until 01 appears on the screen.
- Use the plus and minus button to choose the desired setting:
- 01 – one-off setting (must fall in the current week).
- every week setting.
- Confirm with the SET button; ON appears blinking on the screen.
- Use the plus and minus button to choose the desired anticipation setting:
- ON – the heater will anticipate the temperature 20 minutes before it is set. If it needs to be heated more than 6 degrees, the heater will switch on at full capacity in order to heat the room to the right temperature by the activation time. With 3, 4 or 5 degrees difference, it will switch on in the medium setting. With 1 or 2 degrees, it will switch on at low capacity.
- OFF – the heater will not anticipate the temperature and will turn on at set time.
- Confirm with the SET button, 01 SET ON appears on the screen.
- Use the plus and minus buttons to select:
- the desired day, confirm with the SET button;
- the desired temperature, confirm with the SET button;
- the desired hours, confirm with the SET button;
- the desired minutes, confirm with the SET button.
- 01 SET OFF will appear on the screen; repeat step 7 to indicate the deactivation time.
- 02 appears on the screen, there are two options:
- Set next activation and deactivation times, repeat step 7 and 8 for every desired time. Make sure the timer settings do not contradict each other: maximum 28 per week, maximum 4 per day.
- If you are done setting the activation and deactivation times, wait till screen returns to standard settings.
- The screen will show P and the device will automatically switch on and off at the set time.
View weekly timer setting
Press repeatedly on WEEK. You will see the following timer settings, one after the other:
- one-off or repeated;
- anticipation on or off;
- temperature setting;
- timer on-time;
- timer off-time;
- next timer setting.
Turning off weekly timer setting
- Press and hold the WEEK button until 01 appears on the screen.
- Press and hold the MOD until TIME disappears from the screen to indicate that the data will be retained but will not be active. By pressing MOD again until TIME appears, you will reactivate the timer.
Deleting weekly timer setting
- Press and hold the WEEK button until 01 appears on the screen.
- Go past 01- ][ and on/off first by pressing SET briefly.
- When the number of the timer setting that you wish to change appears, press SET for a little longer. You will hear a short beep and the selected setting has been deleted.
- If you wish to delete all timer settings, press the WEEK button and hold. Press and hold the MOD and SET buttons at the same time, until you hear a beep. The screen will show 88:88, indicating that all settings have been deleted.
ECO mode
The remote control has an ECO button for an energy-efficient mode; the device maintains the room temperature at 16°C.
- Press the ECO button to activate; EC appears on the screen.
- Press the ECO button to deactivate.
If the heater is working in ECO mode and a timer setting becomes active, the device will start to work according to the timer setting. When the timer setting ends and the device goes off, the device will not return to the ECO mode.
Eurom Smart App
CAUTION
Do not use the weekly timer created on the device at the same time as the weekly timer created by the Eurom Smart app. Timer settings created by the Eurom Smart app are not visible on the device display. Timer settings created on the device are not visible in the Eurom Smart app.
The device can be operated using an app on a smartphone or tablet. The Eurom Smart app can be used:
- to switch the device on and off (without anticipation);
- regulate the temperature and capacity;
- set the ECO setting.
The app can also be used to set twenty on and off timer settings daily, on the weekly timer.
- Open the Eurom Smart App manual with the QR code (Figure 18) or go to www.eurom.nl/nl/manuals.
- Complete the Eurom Smart App manual.
- When the device is connected with Wi-Fi, the Wi-Fi symbol appears on the screen.
- If the Wi-Fi symbol is blinking there is no connection.
Smart Timer
Create a schedule with days and times in the Eurom Smart app. Timer settings set in the app:
- will be stored on the device;
- will not be visible on the device;
- will remain available if Wi-Fi disconnects;
- will remain available if the device is switched off or unplugged;
- can only be removed via the app.
Check the data in the app regularly.
Maintenance
WARNING
Do not perform any repairs or modifications to this device. Maintenance and repairs must be carried out by a EUROM authorized professional. If the electric cable and/or electric plug is damaged, it should be replaced by the manufacturer or its service employee or persons with similar qualifications to prevent risks.
Cleaning
WARNING
The device becomes very hot. Make sure the device is turned off, unplugged and completely cooled down.
CAUTION
Do not use:
- scouring pads;
- hard brushes;
- flammable, aggressive or chemical cleaning products.
Prevent water from entering the device. Do not immerse any part of the device in water or other liquids. It is recommended to clean the device after each use and prior to storage.
- Carefully vacuum the openings to remove dust and dirt.
- Wipe the device with a damp, clean, soft, lint-free cloth or a soft brush.
- Let the device dry completely prior to use and storage.
Disposal
At its end of life, discard the device according to the local laws and regulations, or deliver the device to your supplier. Remove the batteries from the remote control for separate disposal.
Attachments
The CE declaration can be found at the end of this manual
| Information requirement for the electric local space heaters | |||||
| Model identifier(s): Alutherm 1000 WiFi | |||||
| Item | Symbol | Value | Unit | Item | Unit |
| Heat output | Type of heat input, for electric storage local space heaters only (select one) | ||||
| Nominal heat output | Pnom | 1,0 | kW | manual heat charge control, with integrated thermostat | No |
| Minimum heat output (indicative) | Pmin | 0 | kW | manual heat charge control with room and/or outdoor temperature feedback | No |
| Maximum continuous heat output | Pmax,c | 1,0 | kW | electronic heat charge control with room and/or outdoor temperature feedback | No |
| Auxiliary electricity consumption | fan assisted heat output | No | |||
| At nominal heat output | elmax | 0 | kW | Type of heat output/room temperature control (select one) | |
| At minimum heat output | elmin | 0 | kW | single stage heat output and no room temperature control | No |
| In standby mode | elSB | 0 | kW | Two or more manual stages, no room temperature control | No |
| with mechanic thermostat room temperature control | No | ||||
| with electronic room temperature control | No | ||||
| electronic room temperature control plus day timer | No | ||||
| electronic room temperature control plus week timer | Yes | ||||
| Other control options (multiple selections possible) | |||||
| room temperature control, with presence detection | No | ||||
| room temperature control, with open window detection | No | ||||
| with distance control option | Yes | ||||
| with adaptive start control | Yes | ||||
| with working time limitation | No | ||||
| with black bulb sensor | No | ||||
| Contact details | Eurom – Kokosstraat 20 – 8281 JC – Genemuiden – The Netherlands | ||||
| Information requirement for the electric local space heaters | |||||
| Model identifier(s): Alutherm 1500 WiFi | |||||
| Item | Symbol | Value | Unit | Item | Unit |
| Heat output | Type of heat input, for electric storage local space heaters only (select one) | ||||
| Nominal heat output | Pnom | 1,5 | kW | manual heat charge control, with integrated thermostat | No |
| Minimum heat output (indicative) | Pmin | 0 | kW | manual heat charge control with room and/or outdoor temperature feedback | No |
| Maximum continuous heat output | Pmax,c | 1,5 | kW | electronic heat charge control with room and/or outdoor temperature feedback | No |
| Auxiliary electricity consumption | fan assisted heat output | No | |||
| At nominal heat output | elmax | 0 | kW | Type of heat output/room temperature control (select one) | |
| At minimum heat output | elmin | 0 | kW | single stage heat output and no room temperature control | No |
| In standby mode | elSB | 0 | kW | Two or more manual stages, no room temperature control | No |
| with mechanic thermostat room temperature control | No | ||||
| with electronic room temperature control | No | ||||
| electronic room temperature control plus | No | ||||
| electronic room temperature control plus week timer | Yes | ||||
| Other control options (multiple selections possible) | |||||
| room temperature control, with presence | No | ||||
| room temperature control, with open window detection | No | ||||
| with distance control option | Yes | ||||
| with adaptive start control | Yes | ||||
| with working time limitation | No | ||||
| with black bulb sensor | No | ||||
| Contact details | Eurom – Kokosstraat 20 – 8281 JC – Genemuiden – The Netherlands | ||||
| Information requirement for the electric local space heaters | |||||
| Model identifier(s): Alutherm 2000 WiFi | |||||
| Item | Symbol | Value | Unit | Item | Unit |
| Heat output | Type of heat input, for electric storage local space heaters only (select one) | ||||
| Nominal heat output | Pnom | 2,0 | kW | manual heat charge control, with integrated thermostat | No |
| Minimum heat output (indicative) | Pmin | 0 | kW | manual heat charge control with room and/or outdoor temperature feedback | No |
| Maximum continuous heat output | Pmax,c | 2,0 | kW | electronic heat charge control with room and/or outdoor temperature feedback | No |
| Auxiliary electricity consumption | fan assisted heat output | No | |||
| At nominal heat output | elmax | 0 | kW | Type of heat output/room temperature control (select one) | |
| At minimum heat output | elmin | 0 | kW | single stage heat output and no room temperature control | No |
| In standby mode | elSB | 0 | kW | Two or more manual stages, no room temperature control | No |
| with mechanic thermostat room temperature control | No | ||||
| with electronic room temperature control | No | ||||
| electronic room temperature control plus day timer | No | ||||
| electronic room temperature control plus week timer | Yes | ||||
| Other control options (multiple selections possible) | |||||
| room temperature control, with presence detection | No | ||||
| room temperature control, with open window detection | No | ||||
| with distance control option | Yes | ||||
| with adaptive start control | Yes | ||||
| with working time limitation | No | ||||
| with black bulb sensor | No | ||||
| Contact details | Eurom – Kokosstraat 20 – 8281 JC – Genemuiden – The Netherlands | ||||
| Information requirement for the electric local space heaters | |||||
| Model identifier(s): Alutherm 2500 WiFi | |||||
| Item | Symbol | Value | Unit | Item | Unit |
| Heat output | Type of heat input, for electric storage local space heaters only (select one) | ||||
| Nominal heat output | Pnom | 2,5 | kW | manual heat charge control, with integrated thermostat | No |
| Minimum heat output (indicative) | Pmin | 0 | kW | manual heat charge control with room and/or outdoor temperature feedback | No |
| Maximum continuous heat output | Pmax,c | 2,5 | kW | electronic heat charge control with room and/or outdoor temperature feedback | No |
| Auxiliary electricity consumption | fan assisted heat output | No | |||
| At nominal heat output | elmax | N/A | kW | Type of heat output/room temperature control (select one) | |
| At minimum heat output | elmin | N/A | kW | single stage heat output and no room temperature control | No |
| In standby mode | elSB | 0,001057 | kW | Two or more manual stages, no room temperature control | No |
| with mechanic thermostat room temperature control | No | ||||
| with electronic room temperature control | No | ||||
| electronic room temperature control plus day timer | No | ||||
| electronic room temperature control plus week timer | Yes | ||||
| Other control options (multiple selections possible) | |||||
| room temperature control, with presence detection | No | ||||
| room temperature control, with open window detection | No | ||||
| with distance control option | Yes | ||||
| with adaptive start control | Yes | ||||
| with working time limitation | No | ||||
| with black bulb sensor | No | ||||
| Contact details | Eurom – Kokosstraat 20 – 8281 JC – Genemuiden – The Netherlands | ||||
EUTOM 1000 Alutherm Wi-Fi



















