D205037 Wall Mount Pot Filler
Installation Guide
D205037 Wall Mount Pot Filler

Before Your Installation
Check to make sure you have the following parts indicated below:

Tools You Will Need

Need Help? In USA Please call our toll-free Customer service line at 1-888-328-2383 or WWW.GERBER-US.COM for additional assistance or service.
In CA Please call our toll-free Customer service line at 1-800-487-8372 or WWW.GERBER-US.COM/EN-CA for additional assistance or service.
Faucet Installation Procedures
Gerber always recommends that plumbing products be installed by a licensed professional.

- Shut off the main water supply before installation by turning the valves clockwise.
Note: Install a 1″ x 4″ wood blocking board flush to the front of the stud face centered at the faucet mounting point. - Run the 1/2″ IPS/NPT threaded stub out pipe through the center of blocking board; length of stub out should allow 1/2″ to extend beyond the FINISHED WALL SURFACE. For ease of future maintenance, it is advisable to install a shut off valve for the water supply line at an easily accessible location.

- After the wall is finished, install the mounting bracket. Apply pipe tape to the threads of the stub-out pipe. Screw on the wall mount bracket clockwise.
Note: The mounting bracket must be attached to the finished wall.
- Before attaching the provided screws to the wood blocking, drill four holes into the wall material by passing through the slots of the bracket. Attach the bracket with a minimum of 1 3/4″ long screws through the wall surface into the wood blocking.

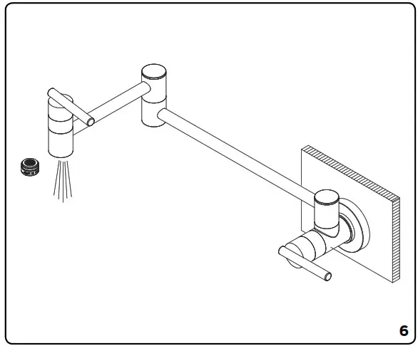
- A. Position the wall flange onto the shank of the wall valve body. (The flange will not pass over the set screw if it projects out).
B. After sliding on the flange, unscrew the set screw so that the point inside is flush with the body wall. (You can not install the body onto the bracket if the set screw is in the way).
C. Press the valve body onto the bracket; take care that the swing arm is level. Using the hex wrench supplied, tighten the set screws at the top and the bottom of the faucet body clockwise, then slide the flange to the wall.
- After installation, remove the aerator and turn on the water to flush out any debris. Re-assemble aerator. This faucet is equipped with two valves, the wall valve should be closed (handle in vertical position) when faucet is not in use. If the pot filler is to be left unattended, please ensure both valves are left in the closed position.

Trouble-Shooting
If you’ve followed the instructions carefully and your faucet still does not work properly, take these corrective steps.
| Problem | Cause | Action |
| Aerator leaks or has an inconsistent water flow pattern. | Aerator is dirty or misfitted. | Unscrew the aerator to check rubber packing or replace the aerator. |
Maintenance Your new faucet is designed for years of trouble-free performance. Keep it looking new by cleaning it periodically with a soft cloth. Avoid abrasive cleaners, steel wool and harsh chemicals as these will dull the finish and void your warranty.
Warranty Registration: Please log on to gerber-us.com to register your product today.

Note: Install a 1″ x 4″ wood blocking board flush to the front of the stud face centered at the faucet mounting point.

















