INSTALLATION INSTRUCTIONS Pot Filler

BEFORE BEGINNING INSTALLATION:
![]() | |||||
| Marking Pencil | Allen Wrench | Teflon Tape | Power Drill | Hammer | Screwdriver |
- Flush plumbing lines to clear any debris.
- Shut off both supply lines after flushing.

- Shut off the hot and cold water supply under the sink. Plug the sink drains with a cloth to avoid losing small pads. Remove the old faucet.

- Turn on the old faucet to remove any excess water in the supply lines. Apply Teflon tape onto the threads of the supply elbow.

- Insert the mounting plate into the faucet body and install it to the water outlet on the wall.

- Place the mounting plate in the center of the pencil outline you just made and mark the location of the mounting screws.

- Drill holes at the marked locations and remove the mounting plate from the faucet body.

- Insert anchors into the holes with a hammer until flush with the wall

- Screw the mounting plate to the wall with the mounting screws

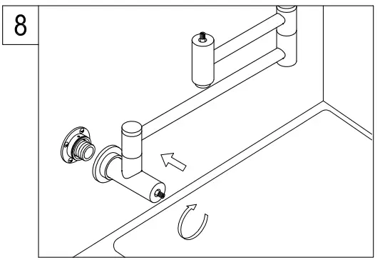
- Insert the flange into the faucet body and install it to the water outlet on the wall then turn tightly in a clockwise direction. Make sure the faucet is horizontal

- Tighten the set screw with the Allen wrench

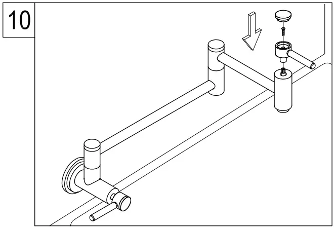
- Install the handles with the screws and then cover the mounting plate with the flange. replace the covers.

- Remove the aerator and turn on both hot and cold valves, let the water run for at least one minute, this will clear any debris left in the line, reinstall the aerator.
©2019-10-EL Kingston Brass 
CARE AND MAINTENANCE OF YOUR FAUCET
Your Kingston Brass faucet has been finished to the most strict standards; however, due to the high content of minerals in the water, your finish may appear dull and tarnished after time. These are some do’s and don’ts to maintain the luster of your faucet for many years to come.
DO
- Use silicon-based caulking when installing.
- Clean your faucet with only a mild soap and water solution.
- Dry your faucet after using it. 4. Give it a coat of Carnauba Wax periodically.
DON’T
- Use the plumber’s putty when installing the faucet.
- Use any abrasive cleaning agents. It may seem like a very simple and short list but it is that simple to maintain your faucet, looking shiny and new. If your faucet is already looking somewhat dull and tarnished, before replacing it, try cleaning it with a 50/50 solution of vinegar and water, you may need to soak some rags and wrap around those stubborn areas, leave overnight and rinse completely in the morning, apply Carnauba wax once you have removed the mineral deposits.
Kingston Brass” Faucets
(10) YEARS LIMITED WARRANTY
Kingston Brass warrants its faucets to be flawless during normal residential use. If the faucet should leak or drip during normal use, Kingston Brass will, free of charge, mail to the original owner the cartridge necessary to put the faucet in good working condition. All warranty parts are to be shipped via freight prepaid ground service. The customer will be responsible for all warranty part freight charges if express shipping is requested. This warranty applies only to Kingston Brass Faucets installed in the United States of America only. Kingston Brass also warrants all other aspects of the faucet or accessories (except Oil Rubbed Bronze and Dark Bronze Finishes on color changes as part of the normal living finish behavior) to be free of defects in material and workmanship during normal residential use within (10) years from the date of purchase to its original owner. If a defect is found in normal residential use, Kingston Brass will, at its election, repair, provide a replacement part or product, or make appropriate adjustments. Damage to a product caused by accident, misuse, or abuse is not covered by this warranty. Improper care and cleaning will void the warranty. Proof of purchase (original sales receipt) must be provided to Kingston Brass with all warranty claims. Kingston Brassie is not responsible for labor charges, installation, or other incidental or consequential costs. In no event shall the liability of Kingston Brass exceed the purchase price of the faucet.
SPECIAL FINISHES: Warranty does not apply to special or living surface finishes such as Oil Rubbed Bronze, Dark or Old Bronze as living finishes will change over time as a result of a normal process and may look different than at the time of purchase, therefore these items are warranted for functionality only. Oil Rubbed Bronze, Dark, or Old Bronze components may vary in the shade at the time of shipment. This warranty is limited to the replacement of defective parts only, labor charges and/or damage resulting from improper installation, repair, or replacements, as well as incidental and consequential damages connected therewith, are excluded. My damage to this faucet as a result of misuse, abuse, neglect, accident or improper installation, or any use not consistent with the instructions furnished by us, will void this warranty.
CAUTION!!!
- Prior to installing the faucet, water lines must be flushed dean of debris and particles that may be present to avoid the clogging of cartridges or aerators causing mat function, leakage, or reduction in flow.
- Warranty will be void if water lines are not properly flushed prior to installing the faucet.
- Use of abrasives cleaners of any strength may damage the finish of your faucet and will void this warranty. To obtain warranty service, contact the Dealer, Plumbing Contractor. Home Center or E-tailer, or contact Kingston Brass by calling 1-877-252-7277 or write to Attn: Warranty Department, 12775 Reservoir Street, Chino, CA 91710. Kingston Brass” Cast Iron Tubs, Acrylic Tubs, Toilets, Vessel Sinks, Wash Basins, and Stainless Steel Sinks.
ONE-YEAR LIMITED WARRANTY KINGSTON BRASS Sinks, tubs, and toilets are warranted to be free of defects in material and workmanship for one year from the date of installation. Kingston Brass will, at its election, repair, replace or make appropriate adjustments where Kingston Brass inspection discloses any such defects occurring in normal usage within one(1) year after purchase to its original owner. Proof of purchase (original sales receipt) must be provided to Kingston Brass with all warranty claims. Kingston Brass is not responsible for removal or installation costs. Use of in-tank toilet cleaners will void the warranty. To obtain warranty service, contact the Dealer, Plumbing Contractor, Home Center, or E-Tai ler, or contact Kingston Brass by calling 1-877-252-7277 or writing to Attn: Warranty Department, 12775 Reservoir Street, Chino, CA 91710. Some states/provinces do not allow limitations on how long an implied warranty lasts, or the exclusion or limitation of special, incidental, or consequential damages, so these limitations and exclusions may not apply to you. This warranty gives you specific legal rights. You may also have other rights which vary from state/province to state/province. ‘ Never use cleaners containing abrasive cleansers, ammonia, bleach, acids, waxes, alcohol, solvents, or other products not recommended for chrome. This will void the warranty.
10-YEAR MANUFACTURER’S LIMITED WARRANTY
All pails of this Kingston Brass faucet are warranted to the original retail purchaser to be free from defects in material and workmanship for a period of Ten(10) years from the date of purchase as shown on the purchaser’s receipt. This warranty is limited to defective parts only, labor charges and for damage resulting from improper installation, repair or replacements, as well as incidental and consequential damages connected therewith are excluded. Any damage to this faucet as a result of misuse, abuse, neglect, accident, or improper installation or any use not consistent with the instructions furnished by us, will void this warranty. Replacement parts can be obtained from your local dealer. Freight cost is not covered by the manufacturer.
CAUTION!!!
- Water lines must be completely flushed before use, to avoid debris & clogs in your water system leading to a reduction of water flow and mat-functioning.
- Warranty is void if water lines are not flushed prior to use and installation of the new faucet.
- Use of abrasives of any strength may damage the finish of the faucet and void the product warranty.
- Do not over-tighten your faucet on the countertop during installation. The valve assembly is tested to meet the standards set by ASME A112.18.1 sec 5.8 which is listed at 100 LBF. However, over-tightened or over-torqued nuts may lead to cracks in the valve and will eventually lead to leaking and water damage.
- Before installation of the faucet to the desired fixture, you need to secure and anchor your console, sink, tub, or vanity cabinet firmly to the wall and to the floor. To ensure your fixture or faucet mounting surface cannot be moved, before installation of the faucet, please test to see if the cabinet or vanity can be moved by hand or body weight. If the faucet mounting fixture is not secure and anchored, it will eventually crack the valve and cause leaking leading to property damage. In order to avoid this, be sure to secure your installation surface. Do not use any Power Tools for assembly and installation which can cause internal fractures to the fixture.
| PROBLEMS SHOOTING | ||
| PROBLEM | CAUSE | CORRECTIVE ACTION |
| Leaks underneath handle | The Bonnet nut has come loose | Remove the handle and tighten the bonnet nut |
| Leaks from the spout | The valve seat and spring are worn | Replace the valve seat and spring |
| Inconsistent water flow pattern | An aerator is dirty or aged | Release the aerator and check on the rubber gasket if aged or replace it with a new aerator |
| Faucet is dirty | Caused by a stubborn water spot | Clean with mild soap and warm water as often as possible |
| Handles work backward | Handle installed backward | Rotate the right stem stop assembly 180 degrees |
CODE APPROVAL: LAIN-000018
Parts:
| Mounting Screw & Anchor | Set Screw |
www.kingsonbrass.com
TOLL-FREE CUSTOMER SERVICE: 1-877-2-KBRASS
TECHNICAL SUPPORT E-mail: [email protected]
12775 Reservoir Street, Chino, CA 91710
























