levenhuk W30-S Discovery Report Sensor for Weather Stations

Discovery Report W30-S Sensor for Weather Stations

Getting started
Open the battery compartment cover (5) and insert 2 batteries according to the correct polarity. Close the cover.
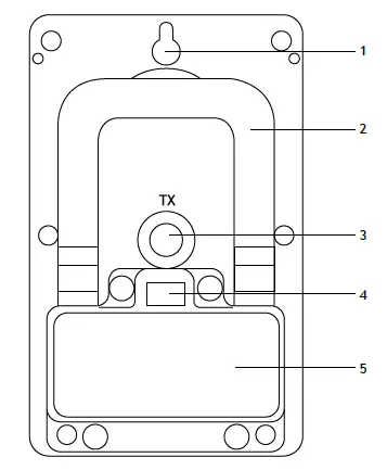
Sensor
- Wall mount hole
- T able stand (fold-out)
- T X button
- Channel switch (1—3)
- Battery compartmetn cover
Sensor connection
Place the base station and the remote sensor within the effective transmission range. If the values are not received from a channel, сheck the batteries and try again. Check if there is any source of interference. When changing batteries, replace the batteries in the base unit first and then in the sensor in order to re-establish the connection. If an adapter supplies power to any of the devices, briefly disconnect the power to that device when replacing the batteries. If you change the batteries only in one of the devices (for example, in the sensor), the signal may not be received correctly. The effective range may differ depending on the unit’s position. Due to interference (various remote control devices, etc.), the maximum distance between the base unit and the sensor may be significantly reduced. In such cases, we suggest moving the base unit and sensor a little.
NOTE! Although the sensor is weather resistant, never place it in direct sunlight or in the rain or snow.
Specifications
- Radio signal frequency 433MHz
- Radio signal radius 30m (98ft.)
- Operating temperature range (outdoors) –40… +70°C (–40… +158°F)
- Power supply 2 AAA batteries (not included)
Care and maintenance
Take the necessary precautions when using the device with children or others who have not read or who do not fully understand these instructions. Do not try to disassemble the device on your own for any reason. For repairs and cleaning of any kind, please contact your local specialized service center. Protect the device from sudden impact and excessive mechanical force. Store the device in a dry cool place. Only use accessories and spare parts for this device that comply with the technical specifications. Never attempt to operate a damaged device or a device with damaged electrical parts! If a part of the device or battery is swallowed, seek medical attention immediately. Children should use the device under adult supervision only.
Battery safety instructions
Always purchase the correct size and grade of battery most suitable for the intended use. Make sure the batteries are installed correctly with regard to polarity (+ and –). Never short-circuit batteries as this may lead to high temperatures, leakage, or explosion. Never heat batteries in order to revive them. Do not disassemble batteries. Keep batteries out of the reach of children, to avoid risk of ingestion, suffocation, or poisoning. Utilize used batteries as prescribed by your country’s laws.
Warranty: 6 months. For further details, please visit our web site: www.levenhuk.com/warranty The manufacturer reserves the right to make changes to the product range and specifications without prior notice.
References
Discovery Channel Shows and Articles | Discovery
Доживотна гаранция на Levenhuk – Официален уебсайт на Levenhuk в България
Levenhuk optical instruments store | Levenhuk - best optical equipment
Levenhuk lifetime warranty details | Levenhuk - best optical equipment
Doživotní záruka společnosti Levenhuk – Oficiální webové stránky Levenhuk pro Českou republiku
Levenhuk Lebenslange Garantie – Die offizielle Website von Levenhuk in Deutschland
| Levenhuk, los mejores equipos ópticos
Levenhuk Lifetime Warranty – Levenhuk’s official website in Europe
A Levenhuk élettartamra szóló szavatossága – A Levenhuk hivatalos magyarországi weboldala
Gwarancja bezterminowa Levenhuk – Oficjalna witryna internetowa Levenhuk w Polsce
Поддержка - Гарантийное обслуживание Левенгук - Levenhuk Russia




















