EPSON ET-2850 Inkjet Printers Instruction Manual
IMPORTANT: Before using this product, make sure you read these instructions and the safety instructions in the online User’s Guide.
Unpack

Note:
- Do not open the ink bottles until you are ready to fill the ink tanks. The ink bottles are vacuum packed to maintain reliability.
- Some products may not include a CD.
- Remove all protective materials from the product

Caution: Do not touch the flat white cable or the ink tubes and their translucent cover. - Connect the power cord to the back of the product and to an electrical outlet.

Caution: Do not connect to your computer yet.
Choose a setup method
The Epson Smart Panel® app can help you set up your printer through an interactive, step-by-step process using your smartphone or tablet.
To use your mobile device for setup, continue to step 1.
or
If you do not want to use a mobile device for setup, skip to the “Fill ink tanks” section below.
- ownload the Epson Smart Panel app from your device’s app store. Do not launch the app yet.

- Press the power button to turn on the product.

Note: Do not connect your product to your computer yet. - Launch the app and follow its instructions to set up your product.
For information on connecting your product to a computer, using voice-activated printing, or solving problems, or for details on reaching Epson support, see the sections on the back of this sheet.
Fill ink tanks
Warning: Keep the ink bottles out of the reach of children and do not drink the ink.
Caution: This product requires careful handling of ink. If ink spills, wipe it off immediately with a damp towel to avoid permanent stains.
If ink gets on your clothes or belongings, it may not come off.
Note:
- Epson cannot guarantee the quality or reliability of third-party ink.
- Use the ink bottles included with the printer to set up the product. Part of the ink will be used to charge the print head. These bottles may print fewer pages compared with replacement ink bottles.
- Epson strongly recommends the use of genuine ink to ensure optimal print quality and performance.
- With the scanner unit raised, open the ink tank cover, then open the cap for the black (BK) ink tank.

Note: Refer to the color-coded sticker to identify the color of each tank. - Unpack the black (BK) ink bottle. Hold the ink bottle upright and slowly turn the bottle cap to remove it.

Caution: Do not shake or squeeze the ink bottle. Do not touch the top of the ink bottle after its cap is removed. - Insert the ink bottle into the filling port.

Note: Do not force the bottle into position; each bottle is keyed for each color. - Wait for the ink to fill the tank. Do not squeeze the bottle or allow it to contact any other surface.

Note: Ink flows into the tank and stops automatically when the ink tank is filled to the upper line. If ink does not flow from the bottle, lift and reinsert the bottle. - When the ink tank is full, remove the ink bottle and securely close it with the bottle cap. If any ink remains in the bottle, close the bottle and store it for later use.

Note: Do not leave the ink bottle inserted; otherwise the bottle may be damaged or ink may leak. - Securely close the black ink tank cap.

- Repeat the previous steps for the other colors.

- Close the ink tank cover, then close the scanner unit.

- Raise the control panel, then press the power button to turn on the product. The power light flashes.

Note: If an error code appears, turn off the product and check that no protective material has been left inside the product. - Select your language.
Note: You can change this setting later using the product’s control panel. For more information, see the online User’s Guide. - When an Epson Smart Panel setup message appears on the LCD screen, select the option to continue setup.
- When the message to see the Start Here sheet appears on the LCD screen, press and hold the help button for 5 seconds.
- Follow the on-screen instructions to start ink charging. Ink charging takes about 10 minutes.
Note: When the power light stops flashing, ink charging is complete. Once initial setup of the printer is complete, you can top off the ink tanks with any remaining ink. See the online User’s Guide for instructions.
Caution: Do not unplug or turn off the product, or raise the scanner unit while the product is charging or you’ll waste ink.
Note: After some ink is used for charging, the rest is available for printing. - Press the OK button to proceed with initial setup.
- Follow the on-screen instructions to adjust the print quality of your product.
Note:
- You need to load paper before you can adjust the print quality.
See “Load paper” on this sheet for details. - Select Adjust Later if you want to adjust the print quality later.
For more information, see the online User’s Guide.
Caution: After setup, periodically inspect the ink levels to ensure they do not fall below the lowest lines on the tanks. Prolonged use when ink is below the lowest line could damage the product. See the online User’s Guide for refilling instructions.
Load paper
See the online User’s Guide for information about loading capacity, available paper types and sizes, and loading envelopes.
- Make sure the product is not charging ink. Open the feeder guard, then raise the paper support and tilt it backwards slightly.

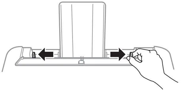
- Slide the edge guides all the way out.

- Load paper, glossy or printable side up and short edge first, in the middle of the rear paper feeder.

Note: Make sure the paper is under the mark inside the edge guides. - Slide the edge guide against the paper, but not too tightly.
Then flip the feeder guard back.
- Pull out the output tray.

- Select the paper settings on the product’s control panel.
Install software
Note:
- If your product did not include a CD, if you are using a Mac, or if your computer does not have a CD/DVD drive, an Internet connection is required to obtain the product software.
- To print from a Chromebook™, go to www.epson.com/support/chromebookprint (U.S.) or www.epson.ca/support/chromebookprint (Canada) for instructions.
- Make sure the product is NOT CONNECTED to your computer.
Windows®: If you see a Found New Hardware screen, click Cancel and disconnect the USB cable. - Insert the product CD (Windows only) or download and run your product’s software package. For the latest software, visit www.epson.com/support/et2850 (U.S.) or www.epson.ca/support/et2850 (Canada).
- Follow the instructions on the computer screen to run the setup program.
- When you see the Select Your Connection screen, select one of the following and follow the on-screen instructions:
- Wireless connection
In most cases, the software installer automatically attempts to set up your wireless connection. If setup is unsuccessful, you may need to enter your network name (SSID) and password. - Direct USB connection
Make sure you have a USB cable (not included)
Mobile and voice-activated printing
- Print directly from your Android™ (v4.4 or later) device*. Simply connect your printer and device to the same network and tap the menu icon to select the print option.
- Turn your mobile device into an intuitive, easy-to-use printing and scanning control center with Epson Smart Panel. Download the app from your mobile device’s app store.
- Print from wherever you are, next to your printer or remotely, with Epson Connect™. Learn more at www.epson.com/connect (U.S.) or www.epson.ca/connect (Canada).
- Use voice-activated assistants to print a variety of creative and everyday items from your Epson® product. Simply add your product to an Epson Connect account, then link the account to a voice-activated assistant. See www.epson.com/voice (U.S.) or www.epson.ca/voice (Canada) for more information.
* May require the Epson Print Enabler or Mopria Print Service app from Google Play™.
Any problems
Network setup was unsuccessful.
- Make sure you select the right network name (SSID).
- Restart your router (turn it off and then on), then try to connect to it again.
- If you see a firewall alert message, click Unblock or Allow to let setup continue.
- If your network has security enabled, make sure you enter your network password (WEP key or WPA passphrase) correctly. Be sure to enter your password in the correct case.
- Print a network connection report to identify network problems and solutions. See your online User’s Guide for instructions
There are lines or incorrect colors in my printouts.
Run a nozzle check to see if there are any any gaps in the printout. Then clean the print head, if necessary. See the online User’s Guide for more information.
The product’s screen is dark.
Make sure your product is turned on and press any button to wake it from sleep mode.
Setup is unable to find my product after connecting it with a USB cable.
Make sure your product is on and the USB cable is securely connected.
Any questions?
User’s Guide
Windows: Click the icon on your desktop or Apps screen to access the online User’s Guide.
Mac: Click the icon in Applications/Epson Software/Guide to access the online User’s Guide.
If you don’t have a User’s Guide icon, go to the Epson website, as described in “Technical support.”
Technical support
Visit www.epson.com/support/et2850 (U.S.) or www.epson.ca/support/et2850 (Canada) to download drivers,view videos and manuals, get FAQs, or contact Epson.
Call (562) 276-4382 (U.S.) or (905) 709-3839 (Canada), 6 am to 8 pm, Pacific Time, Monday through Friday, and 7 am to 4 pm, Pacific Time, Saturday. Days and hours of support are subject to change without notice. Toll or long distance charges may apply.
Recycling
Epson offers a recycling program for end-of-life hardware and ink bottles. Please go to www.epson.com/recycle (U.S.) or www.epson.ca/recycle (Canada) for information on how to return your products for proper disposal.
Need paper and ink?
Ensure brilliant results with Epson specialty and plain papers, engineered specifically for Epson printers. Find Epson papers and Epson Genuine Ink at www.epson.com (U.S. sales) or www.epson.ca (Canadian sales) and at Epson authorized resellers. Call 800-GO-EPSON (800-463-7766).

Epson printers, ink and specialty papers.
ET-2850 replacement inks
| Black | Cyan | Magenta | Yellow |
| 502120 | 502220 | 502320 | 502420 |
EPSON and Epson Smart Panel are registered trademarks, EPSON Exceed Your Vision is a registered logomark, and Epson Connect is a trademark of Seiko Epson Corporation.
Designed for Excellence is a trademark of Epson America, Inc.
Windows is a registered trademark of Microsoft Corporation in the United States and/or other countries.
Mac is a trademark of Apple Inc., registered in the U.S. and other countries.
Android, Chromebook, and Google Play are trademarks of Google LLC.
General Notice: Other product names used herein are for identification purposes only and may be trademarks of their respective owners. Epson disclaims any and all rights in those marks.
This information is subject to change without notice.
© 2021 Epson America, Inc., 2/21
Printed in XXXXXX

References
Epson Canada | Homepage
Mobile Printing and Scanning Solutions | Epson Canada
Recycling Program - For Printers, Hardware, Ink Cartridges | Epson Canada
SPT_CHROMEBOOKPRINT | Chromebook Support for Epson Printers | Mobile and Cloud Solutions | Other Products | Support | Epson Canada
SPT_C11CJ63202 | Epson ET-2850 | ET Series | All-In-Ones | Printers | Support | Epson Canada
Alexa and Siri | Voice-activated Printing | Epson Canada
Epson Global Portal
Mobile Printing and Scanning Solutions | Epson US
Recycling Program - For Printers, Hardware, Ink Cartridges | Epson US
SPT_CHROMEBOOKPRINT | Chromebook Support for Epson Printers | Mobile and Cloud Solutions | Printers | Support | Epson US
SPT_C11CJ63202 | Epson ET-2850 | ET Series | All-In-Ones | Printers | Support | Epson US
Alexa and Siri | Voice-activated Printing | Epson US





































