Neomounts PLASMA-W200 TV Wall Mount

Parts

How to Assemble
STEP 1 A
Install the wall plate on a wooden stud

STEP 1 B
Install the wall plate on a solid brick or concrete wall

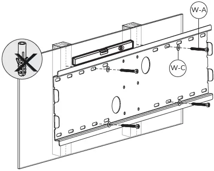
STEP 2
Install the adapter brackets

OPTION
Use spacers if necessary

STEP 3
Attach the screen to the bracket

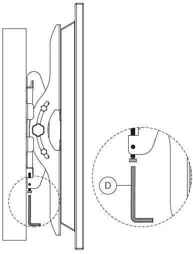
STEP 4
Secure the bracket

STEP 5
Adjust the mount to your desired position and loosen or tighten the adjustment knob if necessary

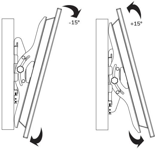
OPTION
Tilt the screen

Caution
- To ensure safety, please read this manual carefully before installation and follow the instructions. store this manual in a secure place for future reference.
- The manutacturer shall not be legally responsible for any equipment damage or personal injury caused by incorrect installation or operation other than that covered in this manual.
- The mount is designed for easy installation and removal. The manufacturer shall not be liable for damage to equipment or personal injuries arising out of human factors or acts of nature, such as earthquakes or typhoons.
- It is recommended that the mount be installed by qualified personnel only.
- At least two persons are needed to install or remove the product to avoid the hazard of falling objects.
- Please carefully inspect the area where the mount is to be installed:
- Avoid places that are subject to high temperatures, humidity, or contact with water,
- Do not install the product near air conditioning vents or areas with excess dust and fumes.
- Only install on vertical walls and avoid slanted surfaces.
- Do not install in places subject to any shock or vibration.
- Do not install in places subject to direct exposure to bright light, as it may cause eye fatigue when viewing the display panel.
- Maintain sufficient space around the display to ensure adequate ventilation.
- To ensure a safe installation, first check the structure of the wall, ceiling, or floor and select a secure mounting location.
- The wall, ceiling, or floor should be strong enough to sustain a weight of at least four times of the display and mount combined. The mounting location must be able to withstand earthquakes or other strong shocks.
- Do not modify any accessories or use broken parts. Contact your dealer with any questions.
- Tighten all screws (do not exert excessive force to avoid breaking the screw or damaging its thread).
- Drill holes and bolts will be left in the wall, ceiling, or floor once the display and bracket are removed. Stains may occur after extended use.
- Since the manufacturer has no way to control the wall, ceiling, or floor type and installation of the mount, the warranty of the product shall only cover the body of the mount. The warranty period of the product is 5 years.
- Please consult the English language manual for any dispute on conditions.
FAQ’s
Mounting a plasma TV on the wall is an easy way to save space and create a more sophisticated look in your home. It’s also a great way to make sure you don’t accidentally knock the screen over when you’re cleaning behind it.
As long as you’re placing your bolts for the TV mount into the wall studs, or if it is brick into a security hole in the brick the weight will be no problem. If you just put the screws into the drywall, it will not be very secure.
Flat Wall Mounts are the most common mounting option for Plasma TVs for home or business use. This option is the least expensive and allows the plasma monitor to remain closest to the wall, adding under 2 inches to the depth.
No, there are brackets for all TV sizes and weights. However, the wall that you are planning on mounting your TV on may not be strong enough to hold it.
If necessary, you can lay your Plasma TV flat on a padded surface for a few minutes. Laying the TV flat for hours can cause damage like a broken part of the screen. Note that you should never transport your Plasma TV laid flat, especially when face down.
Flatscreen TVs can be attached to any wall with fixed, tilting, or full-motion mounts. It’s always best to have solid studs to attach to, but you can still attach most TVs to walls that are hollow behind the drywall.
To determine if your TV is VESA compliant, measure the vertical and horizontal center line distance between the hole pattern on the back of the TV. This measurement should conform to one of the dimensions provided above. The image below is an example of the holes may look at on the back of your TV or monitor.
Experts recommend that the middle of your TV should be at eye level while seated. This equates to about 42 inches from the floor to the center of your TV.
There are several types of mounts, including fixed, tilting or swiveling, and full motion. One style isn’t better than another—it all depends on the layout of your room, where you plan to hang the TV, and where you’ll be sitting.
Most TV mounts are compatible with traditional wood-stud framing and drywall, but you might need a special mount if you’re hanging your TV on other types of walls, such as plaster, concrete, or brick. Almost all TVs have four mounting holes on the back, arranged in a standard VESA pattern.
Don’t mount a TV above a fireplace. For the above reason and more — not the least of which is that heat is the enemy of all electronics. Even if you never use your fireplace, mounting a TV above it is almost always too high to watch from a couch.
While smaller TVs can be handled by a single person, anything over 50 inches should be moved and lifted by two people. Even if the weight is manageable for a single person to lift, the size and shape of the TV make it unwieldy, and care has to be taken to prevent damaging the display.
The most important thing to consider when mounting a television is whether or not your wall can hold it up. Even the most modern, lightest televisions are quite a bit heavier than your largest framed pieces. Because of this, the location you choose will need a stud (or two) to anchor the screws.
Watching TV at an incorrect height can negatively impact your viewing experience, causing neck and eye strain, so it’s important to pick the right height to mount your TV.
A full-motion tv wall mount consists of 4 parts – wall plate, brackets, articulating arm and TV plate.
Download this PDF Link: Neomounts PLASMA-W200 TV Wall Mount Instructions Manual

















