ABBA LIGHTING STA08 3.5W Horizontal Waterproof Stair Light

Instruction

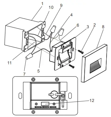
- 0UTLET B0x (EXCLUDED)
- FIXTURE SCREW
- MOUNTING BRACKET
- WHITE FIXTURE WIRE
- BLACK FIXTURE WIRE
- WIRE NUTS
- FACE PLATE
- WHITE SUPPLY WIRE
- BLACK SUPPLY WIRE
- 3CCT SWITCH
Please follow these steps for installation.
- Pull the power supply wires out from the OUTLET BOX (1), attach the power supply wires to the fixture lead wires by connecting BLACK to BLACK ( 9), WHITE to WHITE (B )by using WIRE NUT (6)
- Select the CCT from 3000K/400OK/5000K by pushing the toggle switch left or right.
- After wires are connected, tuck them carefully inside the outlet box and mount the MOUNTING BRACKET (3) on the outlet box by using MOUNTING SCREWS (2).
- Make sure the mounting screws are not too tight to bend the mounting bracket. Then press the FACE PLATE (7) onto the mounting bracket. The clips of the face plate will fix them together. 5. This is integrated LED fixture, no bulbs to replace. (Outdoor using) After installing the fixture, caulk the connection between face plate and wall by adhesive glue to prevent water seeping into the outlet box.
FCC
This device complies with Part 15 of the FCC Rules. Operation is subject to the following two conditions:
- This device may not cause harmful interference, and
- This device must accept any interference received, including interference that may cause undesired operation.
GENERAL:
All electrical connections must be in accordance with local and National Electrical Code (N.E.C.) standards. If you are unfamiliar with proper electrical wiring connections, contact and obtain the services of a qualified electrician. Use UL or IEC approved wire only for input/output connections. Remove fixture and mounting components from the box, and make sure that no parts are missing, by referencing the illustration in the illustration instructions. DIMMING: This product is compatible with most common residentiol type dimmers. Dimming performance will depend upon dimmer, dimmer settings (dimmers with adjustments to brightness range ), wiring method, and number of LED modules. For best results, set dimmer position at maximum before adjusting to a lower light level.
Turn power off before installation, inspection, or removal. Use all necessary precautions while performing this procedure. Consult a qualified electrician to ensure correct branch circuit conductor. Min 90°C supply conductors. Properly ground electrical enclosure. IT IS IMPERATIVE THAT THE OUTLET BOX BE PROPERLY GROUNDED. DO NOT REVERSE THE HOT AND NEUTRAL CONNECTIONS, OTHERWISE SAFETY WILL BE COMPROMISED This Integrated LED Fixture has no lamp/bulb to replace.
TROUBLESHOOTING
Check that line voltage at fixture is correct. Ensure that there is voltage at lamp fixture wires. f there is no voltage, then check all connections. Check that fixture is grounded properly. f fixture does not light: Check switch to ensure that there are no defects Check fuse/circuit breaker for trips, then check wiring connections.
CLEANING AND MAINTENANCE
CAUTION:
- Ensure fixture temperature is cool enough to touch.
- DO NOT clean or perform maintenance while fixture is energized. Clean lens and fixture with non-abrasive cleaning solution,
- Do not open fixture to clean LED.
- Do not touch the LED.
- Do not spray liquid directly on to LED, LED driver or wiring.




















