3W Horizontal Waterproof Stair Light
Model NO.:STA11
AC/DC 12V
User Manual
UNPACKING CHECK
PLEASE check and make sure that there are no signs of physical damage to the product when unpacking. DO NOT use damaged products.
WARNING
- All electrical connections must be made in accordance with local and National Electrical Code (N.E.C.) standards.
- ONLY use UL or IEC approved wires for the input/output connections.
- Due to the risk of fire or electrical shock, the installation of this product requires the knowledge of the electrical systems. If NOT qualified, DO NOT attempt the installation and contact a qualified electrician.
- TURN OFF THE POWER before beginning the installation, inspection or removal
- Use ALL necessary precautions while performing this procedure.
- IT IS IMPERATIVE THAT THE OUTLET BOX IS PROPERLY GROUNDED.
- DO NOT REVERSE THE LIVE AND NEUTRAL CONNECTIONS, OTHERWISE SAFETY WILL BE COMPROMISED.
The outlet box must be recessed in the wall and cannot be protruding from the wall.
NOTE: This is an integrated LED fixture, there are no bulbs to replace.
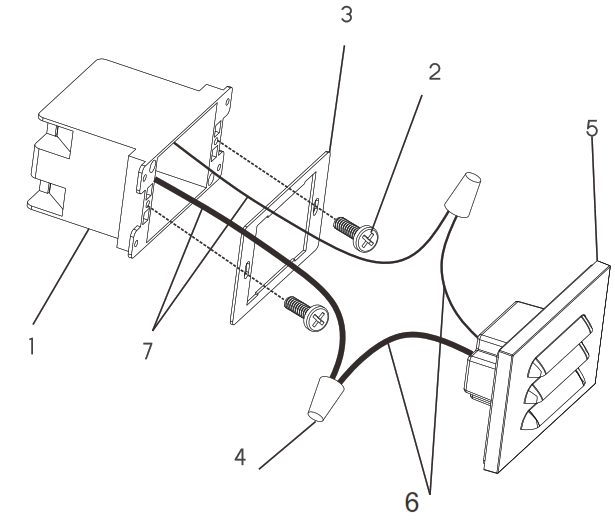
PRODUCT DIAGRAM
- Outlet box (NOT INCLUDED)
- Mounting screws
- Mounting bracket
- Wire nuts
- Face plate
- Fixture wires:
White fixture wire
Back fixture ohs - Supply wires:
Neutral wire
Live wire

FIXTURE INSTALLATION
Step 1. Pull the power supply wires (7) out from the outlet box (1). Mount the mounting bracket (3) to the outlet box (1) using the mounting screws (2).
Step 2. Use the wire nuts (4) to connect the fixture wires (6) to the power supply wires (7). (White-Neutral, Black-Live). Carefully tuck the wires inside the outlet box (1).
Step 3. Snap the face plate (5) onto the fixture.
Step 4. Use sealant (not included) to fill the gap between the face plate (5) and the outlet box (1) to improve the water resistance.
TROUBLESHOOTING
If the fixture does not light:
- Check the power to see if it is on.
- Check STEP 2 of the FIXTURE INSTALLATION, and make sure that all wire connections are connected properly.
- Check to see if the fixture is properly grounded.
- Check the switch to ensure that there aren’t any defects.
- Check the fuse/circuit breaker for trips.
CLEANING AND MAINTENANCE
CAUTION: Ensure that the fixture’s temperature is cool enough to touch. DO NOT clean or perform maintenance while the fixture is energized.
- Clean the lens and the fixture with a non-abrasive cleaning solution.
- DO NOT open the fixture to clean the LED. DO NOT TOUCH THE LED.
- DO NOT spray liquid directly on to the LEDs, LED driver or the wiring.



















