Pia Ricco 1JAY-12219 Outdoor Wall Light 1-Light Exterior Waterproof

Product Information Light Fixture
The light fixture comes with all the required hardware for installation, including a mounting unit, screws, rubber rings, wire nuts, and a green ground screw. The fixture requires a ladder, safety glasses, an electrical Phillips screwdriver, a flat blade screwdriver, pliers, wire strippers, and electrical tape for assembly. The parts shown in the manual may differ slightly per light fixture. The fixture also requires an electrical connection from the junction box to the fixture. The black or red wire (hot) from the junction box needs to be connected to the black wire from the fixture. The white wire (neutral) from the junction box needs to be connected to the white wire from the fixture. The bare or green ground wire from the junction box needs to be connected to the ground wire from the fixture using the preinstalled green ground screw. The connections need to be secured using wire nuts and electrical tape.
Product Usage Instructions Light Fixture Assembly and Installation
- Use a ladder and safety glasses to access the installation location.
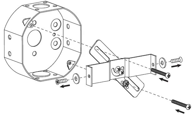
- Unscrew the rubber rings and screws from the mounting unit and use the mounting screws to attach the mounting unit to the junction box (not included).
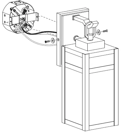
- Make the electrical connection from the junction box to the fixture:
- Connect the black or red wire (hot) from the junction box to the black wire from the fixture using a wire nut and electrical tape.
- Connect the white wire (neutral) from the junction box to the white wire from the fixture using a wire nut and electrical tape.
- Connect the bare or green ground wire from the junction box to the ground wire from the fixture using the preinstalled green ground screw.
- Attach the fixture to the mounting unit through screw holes as shown, and secure it with rubber rings and screws. Use caulk in the back plate and wall mounting surface to prevent water from entering.
- Install a bulb (not included).
- Turn on the power supply and test the fixture to ensure it is working properly.
ASSEMBLY INSTRUCTIONS
CAUTION
- Inspect the wire insulation for any cuts, abrasions, or exposed copper that may have resulted during shipping. If there is a defect in the wire, do not attempt installation
- Before starting installation of this fixture or removal of a previous fixture, disconnect the power by turning off the circuit breaker or by removing the fuse at the fuse box.
TOOLS REQUIRED

HARDWARE INCLUDED

PARTS SHOWN MAY DIFFER SLIGHTLY PER LIGHT FIXTURE
EXPLODED PARTS

INSTALLATION
- STEP 1 Unscrew the rubber rings and screws from the mounting unit. Use the mounting screws to attach the mounting unit to the junction box(not included).

- STEP 2 Make the electrical connection from the junction box to the fixture. Connect the ground wire to the mounting unit using the preinstalled green ground screw. Then, connect the positive, negative and ground wires with the supplied wire nuts. Secure with electrical tape.


- STEP 3 Attach the fixture to the mounting unit through screw holes as shown, and secure it with rubber rings and screws
NOTICE: Please use caulk in the back plate and wall mounting surface to prevent water from entering.
- STEP 4 Install bulb (not included)




















