SPINNING PRO Bike Owner’s Manual
GETTING STARTED GUIDE
Welcome to a personalized fitness experience for your members
The Spinner® Pro is a premium bike offering your members a high degree of adjustability, comfort, and performance.
Before you start, you can learn more about Safety, Maintenance, Spinning® Accessories, Training, and the Spinning® Community by visiting us at
www.spinning.com.
Part
- Seat Adjustment Pop-Ppin
- Seat Slider Knob

- Handlebar Adjustment Pop-Pin
- Resistance Knob

Set up the bike
CAUTION In case of emergency, firmly press down on the resistance knob to stop the flywheel.
Seat Height
Reduce your risk of injury and enjoy a more comfortable ride by adjusting the seat height so that there is a slight bend (25-35 degrees) in your knee at the bottom of a pedal stroke.
To adjust the seat height:
- Dismount the bike. Turn and pull the seat adjustment pop-pin counterclockwise (-) to loosen and release it from the seat post.
- Raise or lower the seat to the desired height.
- Turn the pop-pin clockwise (+) and secure it in a preset hole.
Now adjust the seat’s horizontal position so you sit on the bike with the pedals parallel to the floor, and your forward knee is aligned over the center of the pedal.
To adjust the horizontal seat:
- Dismount the bike. Turn the seat slider knob counterclockwise (-) and move the seat to the desired position.
- Fully tighten the seat slider knob by turning it clockwise (+).
- Recheck the seat height to make sure there’s a slight bend in your knee.
Handlebar Height
The handlebar should be approximately the same height as the seat, or higher if you feel back discomfort.
To adjust the handlebar height:
- Turn the handlebar adjustment pop-pin counterclockwise (-) to loosen and release it from the post.
- Raise or lower the handlebars to the desired height, then secure the pop-pin in a preset hole.
- Turn the handlebar adjustment pop-pin clockwise (+) to fully tighten it.
Foot Position
Place the balls of your feet securely in the toe straps so that they are on the center of the pedals.
Foot Strap
Adjust the toe straps to hold your foot firmly on the pedal, allowing you to apply force throughout every part of the pedal stroke.
Note If your foot comes loose when riding, firmly press down on the resistance knob to stop and secure your foot.
Ride the bike
CAUTION: Before beginning any fitness program, see your physician for a thorough medical exam. Ask your physician for the appropriate target heart rate for your fitness level. Failure to follow these safety instructions can result in serious personal injury
Resistance Control and Stop Function
Turn the resistance knob to change the pedaling resistance. Press down on the knob to stop the flywheel and pedals.
- To increase or decrease resistance, turn the knob clockwise (+) or counterclockwise (-).
- To stop the flywheel and pedals from moving, firmly press down on the resistance knob to bring the flywheel and pedals to a stop
Step 1: Set up the bike so that the seat, handlebar, toe strap, or toe clips are properly adjusted for your height and comfort.
Important Make sure that all pop-pins are engaged and fully tightened after adjusting your bike. When you sit on the bike with the pedals parallel to the floor, your forward knee should be aligned over the center of the pedal.
Step 2: Mount the bike and secure your shoes in the toe straps or toe clips.
When you sit on the bike with the pedals parallel to the floor, your forward knee should be aligned over the center of the pedal. Turn the resistance knob clockwise (+) to gradually increase the tension.
To vary the intensity of your workout, adjust the knob while riding.
Step 3: To dismount, firmly press down on the resistance knob.
Do not dismount the bike until the pedals and flywheel have come to a complete stop.
After each workout
For commercial bikes:
- Release all tension from the resistance knob after each use to allow for perspiration to evaporate. If bikes are used in a class setting, the instructor should direct class participants to release all tension from the resistance knob after each use.
For bikes used in a home setting:
- Wipe down the bike after each use. Pay special attention to wipe under the resistance knob.
- 1When done, turn the resistance knob clockwise (+) to put tension on the flywheel so that the pedals do not rotate freely.
- When the bike is not in use, always keep some resistance on the flywheel.
- Consult your physician prior to beginning this or any other exercise program. Not all exercise routines are suitable for everyone. Discontinue any exercise that causes you discomfort and consult a medical expert.
- Ensure that the adjustment knobs (saddle height, saddle fore/aft and handlebar height) are properly secured and do not interfere with your pedaling of motion.
- Children under the age of 16 should not ride the Spinner® bike.
- Do not insert any object, hand or foot into any openings. Do not expose hands, arms or feet to the drive mechanism or any other potentially moving parts of the bike.
- The body weight for individuals riding the Spinner® Pro should not exceed 350 pounds (159 kg).
- Spinner® bikes have a weighted flywheel and a fixed gear that do not allow riders to coast. This means that in order to stop, you must gradually slow your pedal strokes rather than stopping abruptly. If you need to stop immediately, push down on the red resistance knob.
- After use, turn the knob clockwise to increase the resistance so that the pedals will not rotate freely.
- If at any time you feel dizzy or have difficulty breathing, press down on the red resistance knob until you come to a complete stop and carefully dismount the bike.
- Listen to your body, ride at your own pace, and set a resistance load that feels right for you.
- Keep children and pets away from the bike whenever it is in use.
- Stay hydrated. Drink plenty of water throughout your ride.
- During warm-up and cool-down, pedal with a light amount of resistance at all times. The Spinning® program reminds riders to maintain a connection to the flywheel with resistance throughout the ride.
- Stay in control by executing all movements and hand positions at a slow pace before attempting to increase your pedaling speed.
- Focus on form, posture and smooth transitions between movements.
- Always ride with proper footwear. Do not ride with bare feet or open-toed shoes.
- Keep shoe laces tucked in and foot straps snug around your shoe. If your foot does come out of the toe clip, push down on the resistance knob to stop the flywheel’s motion before clipping back in.
Assembly Guide
To assemble the Spinner® Pro, follow the steps in the order listed in this assembly guide. For more product information, visit us at www.spinning.com.
WARNING: At least two people are required to assemble the equipment. DO NOT attempt assembly by yourself.
Assembly Requirements
When assembling the bike, we recommend you:
- Assemble the equipment on a solid, flat surface, so that it remains level and stable.
- Leave a minimum of 0.5 m (19.7 in.) on at least once side of the bike and 0.5 m (19.7 in.) behind or in front of the bike.

Hardware Kit
| Component | Qty. | ||
| 1 | Socket head bolt (M8 x 20 mm) | 4 | |
| 2 | ![]() | Flat washer (8 mm) | 4 |
| 3 | Socket head bolt (M3 x 8 mm) | 4 | |
| 4 | ![]() | Socket head bolt (M8 x 16 mm) | 2 |
| 5 | ![]() | Socket head flat bolt (M8 x 16 mm) | 2 |
| 6 | ![]() | Socket head set screw (M8 x 16 mm) | 1 |
| 7 | ![]() | Seat slider end cap | 1 |
| 8 | 2.5 mm hex key | 1 | |
| 9 | 4 mm hex key | 1 | |
| 10 | 5 mm hex key | 1 | |
| 11 | ![]() | 6 mm hex key | 1 |
| 12 | ![]() | 8 mm hex key | 1 |
| 13 | ![]() | Crank bolt (M8 x 20mm, long) | 1 |
Begin Assembly
Remove the following parts from the packaging: handlebar assembly, hardware kit, stabilizers, product documentation, seat assembly, and spare parts.
CAUTION Damage to the bike during assembly is not covered by the Spinning® Limited Warranty. During assembly, you must protect the handlebar seat adjustment pop-pins from damage.
To attach the rear stabilizer:
- Stand the bike frame on its front end (toward flywheel) and cushion the bike frame (Figure 1) with a towel or piece of foam to protect the handlebar adjustment pop-pin from damage.

- Attach the rear stabilizer to the frame using two bolts and two washers (Figure 2).
- Using a hex key , tighten to 15.6 ft-lb (21.2 N-m)

To attach the front stabilizer:
- Stand the bike frame on its back end and place a towel or other cushioning under the bike frame (Figure 3) to protect the seat adjustment pop-pin from damage.

- Attach the front stabilizer to the frame using two bolts and two washers (Figure 4).

- Using a hex key , tighten the bolts to 15.6 ft-lb (21.2 N-m).
- Return the bike to the upright position.
To attach the seat assembly:
- Take the seat post out and turn it upside down. Slide the seat assembly onto the seat post (Figure 5)

- Insert one bolt into the underside of the seat slider and fully tighten it to set the travel limit (Figure 6).

- Attach the seat slider end cap using three bolts (Figure 7) and fully tighten with a hex key

To attach the handlebar assembly:
- Position the handlebar post onto the handlebar assembly (Figure 8). Attach it using two bolts and tighten them with a hex key.

- Insert a set screw into the opposite side of the handlebar post (Figure 9) and tighten it using a hex key .

- Pull out the handlebar adjustment pop-pin and slide the handlebar post into the bike frame (Figure 10). Release the poppin to lock the handlebar post into place.

Attach the Crank
Locate the left side crank axle and note the notch that will accept the crank pin.
- Place the crank pin into the slot on the bottom bracket axle (Figure C1).
- Orient the corresponding notch on the crank and slide the crank onto the axle.
- Use a rubber mallet to lightly tap the crank at the axle point onto the bottom bracket axle (Figure C2).
- Secure the crank using the 8mm crank bolt and torque to 34-40 ft-lb (47-57 n-M) (Figure C3).
Attach the Pedals
Hold the pedals with the toe straps facing forward.
To attach the pedals:
- Insert a pedal into its corresponding crank arm (Figure 11).

- Use a rubber mallet to lightly tap the center of the pedal into the crank arm to seat it (Figure 11).
- Secure the pedal using one bolt (Figure 12) and torque to 33 ft-lb (45 N-m) with a hex key.

- Repeat Steps 1-3 to attach the other pedal.
Level the Bike
Important: Place the equipment on a flat surface. Rotating the adjustable feet does not compensate for extremely uneven surfaces. Make sure the bike is level before allowing anyone to use it.
To level the bike:
- Try to rock the bike. If there is any movement, tip the bike to one side to locate the adjustable feet (Figure 13).

- Correct the height of each adjustable foot by turning it clockwise (+) to lower the bike, or counterclockwise (-) to raise the bike.
- When you are finished leveling the bike, recheck for movement and readjust as necessary.
Bike Assembly Checklist
Use this checklist to make sure your bike is assembled properly.
- Check that all bolts are tightened to proper torque specification and no parts are missing.
- Check that the seat post moves freely and locks in different positions.
- Check that the seat is level and does not rotate or tilt. Tighten and adjust as needed.
- Test the seat for movement from front to rear.
- Brake tension is adjustable by turning the resistance knob in the front of the seat. Pressing down on the knob will apply the brake if you need to stop quickly.
- Pedal the bike at a moderate pace and test the resistance knob for smooth resistance changes.
- Press down on the knob to ensure the bike stops quickly. Once testing is complete, tip the bike forward using the handlebars and roll it on a smooth surface to itsfinal use location. If required, level the bike.
Bike Maintenance
Before you begin
- Spinning® recommends owners implement a thorough maintenance program that incorporates regular safety inspections by qualified maintenance technicians as outlined in this Maintenance Guide (“Guide”). Also, Spinning® recommends that technicians thoroughly read and understand the safety guidelines and maintenance procedures covered in this Guide.
- This Guide provides information about items that need to be inspected and maintained on a daily, weekly, and monthly basis.
- It is the duy of the gym owner or bike owner, during maintenance, to place an “Out Of Order” sign on the bike.
Important: It is the duty of the owner to maintain equipment in accordance with the instructions in this material and any accompanying material. Always purchase replacement parts and hardware from Spinning® . If you use parts not approved by Spinning®, you could void the Spinning® Limited Warranty. Use of parts not approved by Spinning® may cause injury and potential damage to your equipment.
Recommended Tools
- Standard set of hex keys
General Care
- Never use abrasive cleaning liquids or petroleum-based solvents on the bike. Use a soft nylon scrub brush to clean grooves and textured surfaces on pedals. For commercial bikes:
- Release all tension from the resistance knob after each use to allow for perspiration to evaporate. If bikes are used in a class setting, the instructor should direct class participants to release all tension from the resistance knob after each use. For bikes used in a home setting:
- Wipe down the bike after each use. Pay special attention to wipe under the resistance knob. When done, turn the resistance knob clockwise (+) to put tension on the flywheel so that the pedals do not rotate freely.
- When the bike is not in use, always keep some resistance on the flywheel.
- Clean all surfaces of the frame and plastic components. Keep excess moisture away from electronic components and dry completely with a lint-free cloth to prevent electrical shock or damage.
- After the first ten hours of use and every 100 hours of use thereafter, re-torque the pedals to 33 ft-lb (45 N-m).
- If your facility allows members to interchange pedals, check all pedals after each class to ensure pedals are properly secured to prevent damage to them, which may lead to injuries.
Daily Maintenance Tasks
Note: Raise seat and handlebar posts to their highest setting to expose moisture.
- Wipe the bike frame using a clean lint-free cloth dampened with 30 parts water to 1 part non abrasive detergent.
- Use a lint-free cloth to dry the bike. Pay special attention to the handlebar, pop-pins, resistance knob, chain guard, flywheel, and seat adjustment assembly.
- Check warning and instruction labels.
- If your facility allows members to interchange pedals, check all pedals after each class to ensure pedals are properly secured to prevent damage to them, which may lead to injuries.
Weekly Maintenance Tasks
- Clean the floor under the equipment. Do not lift and hold equipment while vacuuming.
- Ride each bike to identify any vibration, noises, and chain issues. Most vibration issues are caused by poor flywheel alignment or a loose chain.
- Check for flywheel alignment.
- Inspect each bike for loose assemblies, parts, bolts and nuts. Give particular attention to the following:
- Frame hardware
- Seat and handlebar hardware including knobs and pop-pin handles
- Toe straps/toe clips
Monthly Maintenance Tasks
The monthly maintenance check is a comprehensive inspection of the entire bike frame and hardware in addition to the weekly maintenance tasks.
- Inspect the bike for rust or corrosion. Turn the bike upside down to thoroughly examine the underside components.
- Check flywheel alignment and torque flywheel nuts as necessary.
- Remove chain guard and check for loose chain/belt. Adjust chain/belt as necessary.
- Use a soft nylon scrub brush to remove rust build-up in small crevasses, such as pedals and pop-pin threaded stems.
- Inspect all wear items for adjustments or possible part replacement. Give particular attention to the following:
- Inspect brake pad for wear. Excessive wear, such as glazing or leather separation, indicates replacement is required.
- Inspect seat pads for wear. Rips, tears, or excessive movement indicates replacement is required.
- Tighten seat hardware.
- Inspect pedals for excessive movement. Excessive movement indicates replacement is required.
- Tighten pedal toe straps and toe clips.
- Inspect and tighten resistance knob assembly.
- Level feet.
- Clean and seal the bike frame. Sweat can corrode the bike frame. Spinning® recommends that you seal the bike frame at least once a month.
To seal the bike frame:
- Wipe the bike frame using a clean lint-free cloth dampened with 30 parts water to 1 part non abrasive detergent.
- Rinse the bike frame using a clean lint-free cloth and dampened with water only. Dry completely with another clean lintfree cloth.
- Seal the bike frame using wax or a polish to repel sweat and liquids. For best results, apply the wax or polish per manufacturer’s instructions.
Replacement Parts
Depending on the use and maintenance of the product, certain items can be replaced on a schedule. The list below shows the components that can be replaced on a schedule to keep the bike in top working order.
| Part | Replacement Schedule |
| Brake Pad Assembly | 1 year |
| Chain | 2 years |
| Belt | 2 years |
| Pedal | 2 years |
Adjust the Belt
Important: Adjust the belt only if you are experiencing slippage under high resistance. Improper belt adjustment will cause premature wear and may void the Spinning® Bike Limited Warranty
To adjust the belt:
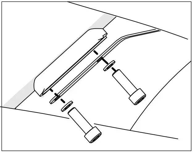
- Loosen the bolt and remove the cover window (Figures 1 & 2).


- Loosen the four bolts holding on the cover and remove it (Figure 3).

- Remove the four bolts holding on the back cover and remove it (Figure 4).

- Turn the nut clockwise one full turn. Ride the bike at high resistance. If you still experience slippage, turn the nut clockwise one more full turn. Repeat until there is no slippage. (Figure 5). Important: If the belt is stretched beyond adjustment, replacement of the belt is recommended.

- Check that the belt moves smoothly by slowly turning the crank arm while keeping your fingers away from the belt.
- Replace the covers.
Replace the Brake Pad
Your bike comes with a spare brake pad. To order more pads, contact Spinning® Customer Support.
To replace the brake pad:
- Remove tension from the brake pad by turning the resistance knob counterclockwise (-) until completely loose.
- Using a 5 mm hex key, remove the two bolts holding the brake pad against the frame (Figure 6).

- Remove the bolt on the brake pad with a 3 mm hex key (Figure 7).

- Replace the brake pad and secure it with the bolt removed in Step 3.
- Pull up the resistance knob and slide the new brake pad into place. Secure it using the two bolts removed in Step 2.
MAD DOGG ATHLETICS, INC. LIMITED WARRANTY
Spinner® Pro, Spinner® NXT, Spinner® Chrono
| Frame | 10 years |
| Mechanical Parts | 2 years |
| Labor | 1 year |
| Wear Items | 90 days |
| Console | 1 year |
MAD DOGG ATHLETICS, INC. WARRANTS TO THE ORIGINAL PURCHASER THAT SPINNER® BIKES WILL BE FREE FROM DEFECTS IN WORKMANSHIP AND MATERIALS. PART(S) REPLACED UNDER THE TERMS OF THIS WARRANTY WILL BE WARRANTIED FOR THE REMAINDER OF THE ORIGINAL WARRANTY PERIOD ONLY. THIS WARRANTY BECOMES EFFECTIVE UPON THE INVOICE DATE OF THE ORIGINAL PURCHASE DIRECTLY FROM SPINNING® OR FROM AN AUTHORIZED SPINNING® DEALER ONLY.
TO ORDER REPLACEMENT PART(S), THE ORIGINAL PURCHASER MAY CONTACT MADDOGG ATHLETICS, INC. PRODUCT SUPPORT AT (800) 847.SPIN or (310) 823-7008. PROOF OF PURCHASE OR WARRANTY REGISTRATION MAY BE NEEDED IN ORDER FOR MAD DOGG ATHLETICS, INC. TO VERIFY WARRANTY COVERAGE AND ISSUE A RETURN MATERIALS AUTHORIZATION (RMA) NUMBER. PARTS BEING RETURNED TO MAD DOGG ATHLETICS, INC. FOR WARRANTY CREDIT MUST BE SHIPPED PREPAID, ACCOMPANIED BY A PACKING LIST OR TAG BEARING THE RMA NUMBER AND THE CUSTOMER NAME. NO CREDIT WILL BE ISSUED FOR PARTS RETURNED WITHOUT PRIOR AUTHORIZATION FROM MAD DOGG ATHLETICS, INC. TO NOTIFY MAD DOGG ATHLETICS, INC. OF DAMAGES THAT OCCURRED DURING SHIPPING YOU MUST DO SO WITHIN 48 HOURS OF RECEIPT OF GOODS.
MAD DOGG ATHLETICS, INC. RESERVES THE RIGHT TO REVIEW DEFECTIVE PART(S). ALL COSTS OF SHIPPING DEFECTIVE PART(S) TO AND FROM MAD DOGG ATHLETICS, INC. FOR INSPECTION SHALL BE BORNE SOLELY BY THE ORIGINAL PURCHASER. ANY REPAIR OR MODIFICATION OF DEFECTIVE PART(S) BY ANYONE OTHER THAN A MAD DOGG ATHLETICS, INC. TECHNICAL REPRESENTATIVE OR AUTHORIZED SERVICE PROVIDER WILL VOID THIS WARRANTY. IF MAD DOGG ATHLETICS, INC. DETERMINES, IN ITS SOLE DESCRETION, THAT IT IS IMPRACTICAL TO SHIP DEFECTIVE PARTS BACK TO MAD DOGG ATHLETICS, INC., MAD DOGG ATHLETICS, INC. MAY DESIGNATE, IN ITS SOLE DISCRETION, A REPAIR FACILITY TO INSPECT AND ESTIMATE THE COST TO REPAIR SUCH DEFECTIVE PART(S). THE COST, IF ANY, OF SHIPPING DEFECTIVE PART(S) TO AND FROM SUCH REPAIR FACILITY AND OF SUCH ESTIMATE SHALL BE BORNE SOLELY BY THE ORIGINAL PURCHASER. DEFECTIVE PART(S) MUST REMAIN AVAILABLE FOR INSPECTION UNTIL THE CLAIM IS FINALIZED. WHENEVER CLAIMS ARE SETTLED, MAD DOGG ATHLETICS, INC. RESERVES THE RIGHT TO BE SUBROGATED UNDER ANY EXISTING INSURANCE POLICES THE CLAIMANT MAY HAVE.
LIMITATIONS AND EXCLUSIONS
THIS LIMITED WARRANTY DOES NOT APPLY TO COSMETIC DAMAGE, IMPERFECTIONS THAT ARE WITHIN DESIGN SPECIFICATIONS OR THAT DO NOT MATERIALLY ALTER FUNCIONALITY, OR DAMAGE DUE TO ACTS OF GOD, ACCIDENT, ABUSE, MISUSE, NEGLIGENCE, LACK OF NORMAL MAINTENANCE, ABNORMAL SERVICE OR HANDLING THAT DIFFERS FROM THAT SPECIFIED FOR THE SPINNER® LINE OF BIKES, IMPROPER INSTALLATION OR IMPROPER OPERATION. IN ADDITION, ALTERATION OR MODIFICATION OF THE PRODUCT.
DISCLAIMER OF WARRANTIES; LIMITATION OF LIABILITY
THIS WARRANTY IS IN LIEU OF ALL OTHER WARRANTIES, EXPRESSED OR IMPLIED, INCLUDING WITHOUT LIMITATION, THE IMPLIED WARRANTIES OF MERCHANTABILITY AND FITNESS FOR A PARTICULAR PURPOSE. REPAIR OR REPLACEMENT AS PROVIDED ABOVE SHALL BE THE SOLE AND EXCLUSIVE REMEDY AVAILABLE TO THE PURCHASER. CORRECTION OF DEFECTS, IN THE MANNER AND FOR THE PERIOD OF TIME DESCRIBED ABOVE, SHALL CONSTITUTE COMPLETE FULFILLMENT OF ALL LIABILITIES AND RESPONSIBILITIES OF MAD DOGG ATHLETICS, INC. TO THE PURCHASER WITH RESPECT TO CONTRACT, NEGLIGENCE, ANY INCIDENTAL OR CONSEQUENTIAL DAMAGES BASED UPON BREACH OF ANY EXPRESS OR IMPLIED WARRANTY ON THIS PRODUCT OR OTHERWISE.
SOME STATES DO NOT ALLOW THE EXCLUSION OR LIMITATION OF IMPLIED WARRANTIES OR INCIDENTAL OR CONSEQUENTIAL DAMAGES, SO THE ABOVE EXCLUSIONS AND LIMITATIONS MAY NOT APPLY TO YOU. THISWARRANTY GIVES YOU SPECIFIC LEGAL RIGHTS, AND YOU MAY ALSO HAVE OTHER RIGHTS WHICH MAY VARY FROM STATE TO STATE.
This product or use thereof is covered by Patents www.spinning.com/patents US and International Patents Pending.
SPINNING® 2111 Narcissus Court Venice, CA 90291
Toll-free: 1.800.847.SPIN(7746)
Dialing outside U.S.:1.310.823.7008
Fax: 1.310.823.7408
[email protected]
www.spinning.com
SPINNING® EUROPE Scheldeweg 3 3144 Es Maassiuis The Netherlands
Phone: +31 1059 04508 (EMEA)
[email protected]
www.spinning.eu
©2021 Mad Dogg Athletics, Inc. All rights reserved. Spin®, Spinner®, Spinning®, Spin Fitness®, SPIN Power® and the Spinning® logo ® are registered trademarks that are owned by Mad Dogg Athletics, Inc. Designed and engineered in Venice, California. Made in China.
















































