YESOUL BIKE
M1 Product Manual
Product model: YS-002
YS-002 M1 Spin Smart Cycling Bike
Before using this product, carefully read and properly keep this manual.
YESOUL BIKE M1

Product Parameters
| Tablet (mobile phone) holder size | Maximum tablet width: 260 mm |
| Supporting software version | iOS 10.0 or higher, Android 5.0 or higher |
| Resistance system | Magnetron resistance system |
| Drive mode | Belt drive |
| Power supply | Button battery (model: CR2477) |
| Sensing system connection | Bluetooth |
| Height limit | 150-195 cm |
| Rated maximum load | 100kg |
| Net weight | 33 kg |
| Gross weight | 36 kg |
| Overall dimensions | (length) 1000mm x (width) 510 mm x (height) 1250 mm |
Important Safety Instructions
Please read this carefully. Improper use may result in personal injury or death!
- Make sure that the saddle height adjustment knob is secured correctly, and will not affect motion during exercise.
- Keep children and pets away from this product. This product is for those over 16 years old only.
- Never stretch any object or body part into the openings of the bike.
- The weight of the user must not exceed the maximum load.
- Get off the bike until flywheel and pedals stop rotating. Otherwise, severe injuries may be caused due to control failure.
- If you feel any discomfort, such as dizziness or breathing difficulty, stop riding the bike and carefully get off.
- Never turn pedals by hand or touch any rotating mechanical part; otherwise, personal injury may be caused.
- Keep the body hydrated as needed during riding.
- Use this product according to the instructions in this manual. Warm up fully before exercise.
- Without the preliminary determination of baseline fitness level and medical certificate signed by a doctor, never be engaged in high-speed or high-intensity sports. Before attempting any high-intensity short sprints, pay attention to the body state and posture, and apply a controllable speed.
- Wear professional cycling clothes or tight-fitting sportswear and sports shoes, and tighten foot straps to avoid injury caused by pulling or entanglement by this product.
- Never use this product with inappropriate shoes or barefoot.
- Incorrect or excessive training may cause injury.
- Check whether the bike for loosening or damage before each use.
- Never refit this bike or use non-original accessories without permission. The casing must be opened by professionals, in order to avoid damage.
- Those pregnant or with high blood pressure, heart disease, lumbar spondylosis or reduced mobility must not use this product without the permission of doctors.
- In case of any discomfort such as dizziness or chest pain during exercise, stop exercising immediately and go to a hospital for examination.
- If the product fails, immediately stop using it.
- This product must not be used for medical rehabilitation.
- Use this product on a flat and clean ground.
- Carry out preventive maintenance regularly.
- Never expose this product in a humid place. This product must not be used outdoor or in any humid place.
Installation Guide – List of Parts
STEP1: Check of parts
| Parts List (Components List) | NO. | Name | Quantity | Picture |
| 1 | Frame | 1 | ![]() | |
| 2 | Front tube | 1 | ![]() | |
| 3 | Rear tube | 1 | ![]() | |
| 4 | Pedal (left: L: right: R) | 1 | ![]() | |
| 5 | Handlebar | 1 | ![]() | |
| 6 | Dual-purpose bracket | 1 | ![]() | |
| 7 | Mobile phone(tablet) holder | 1 | ![]() | |
| 8 | Bottle holder | 1 | ![]() | |
| 9 | Handlebar cover | 1 | ![]() | |
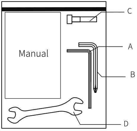
| 10 | Ziplock bag (manual, tools) | 1 | ![]() |
| NO. | Name | Quantity | Picture | |
| A | L-type cross head hex wrench | 1 | ![]() | |
| B | Hex wrench | 1 | ![]() | |
| C | Hexagon socket cap screw M6 X 35 | 1 | ![]() | |
| D | Open-ended wrench | 1 | ![]() |
*In order to facilitate assembly, some accessories have been installed on the body before delivery.
STEP 2: Installation of bottom tube
- Take L-type cross head hex wrench (A) out of the zip lock bag.
- Remove four M8 x 45 cushion bolt of the front tube 2 and rear tube 3 via the wrench.

- Align the hole of the front and rear tubes with the bottom holes of the frame 1, manually screw the front and rear tubes into frame, and tighten it via the L-type cross head hex wrench (A)

STEP 3: Installation of bottle holder
- Take the hex wrench (B) out of the zip lock bag.
- Remove two screws (M6 x 12) of the dual-purpose bracket 6 via the wrench.

- Insert the bottle holder 8 along the slot into the dual-purpose bracket. Align the hole of the bottle holder with that of the bracket 6, manually install two screws (M6 x 12) into holes, and tighten them via the hex wrench (B).

STEP 4: Installation of handlebar and dual-purpose bracket
- Remove four screws (M6 x 12) of the riser via the hex wrench (B).

- Align the holes of the handlebar 5 with those of the riser, manually install screws into two rear holes (without tightening), and insert the dual-purpose bracket 6 into the round hole of the handlebar 5 as indicated by the arrow. Then manually install the other two screws and one long hexagon socket cap screw (C, in the ziplock bag) into three corresponding holes (without tightening). Finally, vertically tighten five screws down via the hex wrench (B), and press down the decorative cover 9 of the handlebar. Thus, the handlebar installation is completed.

STEP 5: Installation of tablet (mobile phone) holder
- Remove two screws (M6 x 12) and elastic washers of the dual-purpose bracket © via the hex wrench (B).

- Align the holes of the tablet holder 7 with those of the dual-purpose bracket 6, manually install screws (M6 x 12) and tighten them via the hex wrench (B).

STEP 6: Pedal installation
- Take out the pedal assemblies L and R4.
- Separate the pedal assemblies L and R4.
- Lock the pedal assembly L4 into the left crank, and tighten with the box-ended wrench (D) along the direction indicated by the arrow.
- Lock the pedal assembly R4 into the right crank, and tighten with the box-ended wrench (D) along the direction indicated by the arrow.
Screw the pedal into the crank manually first, and then tighten the pedal assemblies L and R 4 with the box-ended wrench (D). (Note: The tightening directions for both the left pedal and the right pedal are towards the head direction.)

Safety tips: Reverse riding is not recommended, as it is likely to loosen pedals. After reverse riding, check whether the pedals are locked, in order to avoid safety issues arising from loose pedals..
Installation Guide
STEP 7: Battery Dismantling and Installation
- If the bike is provided with a battery, pull the insulation strip out of the gap of the battery cover before using this product;
- Battery replacement: Remove ST4 x 13 cross head tapping screws of the battery cover via the L-type cross head hex wrench (A), open the battery cover, take out the old battery, and insert a new battery into the battery slot, with its positive pole outward (“+” outward).

Tip: If the resistance change is inconsistent with the resistance change in APP after the resistant knob is turned, press the buttons A and B to correct it.
Installation Guide (for reference only, subject to the actual product)
Safety tip:
Adjust the bike and tighten the body tightening knob as needed before using it.

Statement:
This manual contains the functional introduction and operating instructions as much as possible when printed. With the continuous improvement of hardware and software and optimization of design, this manual may be inconsistent with the purchased product. In case of any discrepancy in appearance, interface and color, the actual product shall prevail.
First Use
| Scan the QR code to download YESOUL APP | |
![]() |
APP installation and registration
- Scan the QR code to download the APP, and register an APP account.
- Upon registration, open the bike course in the APR Please connect the bike according to the interface prompts in the course for the first use. Then, once you ride the bike, the exercise mode of the APP will be enabled or the course will be automatically accessible.
- Before connecting the APP with bike, make sure that the Bluetooth of your mobile phone/tablet PC has been enabled and no other devices are connected.
About APP membership
Registered users can get the membership free of charge on the product membership page as indicated on the interface.
- After the first connection, the APP will automatically match the bike. Directly ride the bike when it is used for the second time.
- The bike does not support the simultaneous connection of multiple mobile phones. Before using this product, make sure that other users are not connected to the bike.
- The bike will be disconnected 10 min after riding.
- In addition to connection with YESOUL APP, the Bluetooth can also be connected with kinomap and zwift software.
*Due to software upgrades, the actual product will prevail.
How to Adjust Bike
- Handlebar height adjustment:
Loosen and pull out the front column knob with one hand, hold the middle part of the handlebar with the other hand, and lift the handlebar to the desired position. Then release the knob, and gently pull the column up and down until the spring is automatically reset (when a “click” sound is heard, it means that the knob has been clamped in the hole of the column). Tighten the knob as much as possible.
- Saddle height adjustment:
Loosen and pull out the rear column knob with one hand, and lift (or press) the saddle with the other hand to the desired position. Loosen the knob and gently pull the column up and down until the spring is automatically reset (when a “click” sound is heard, it means that the knob has been clamped in the hole of the column). Tighten the knob as much as possible.
- Horizontal adjustment of saddle:
Loosen the knob under the saddle, slide the saddle back and forth to the desired position, and tighten the knob as much as possible.
- Body level adjustment:
There are four adjustment pads at the bottom of the front and rear pedal tubes. Screw these pads until they are tightly secured on the Floor and the body does not shake.
How to Determine Correct Riding Posture
1. Setup of correct saddle position
Saddle height
Put the feet together, stand on one side of the saddle and adjust the saddle to the hip height (Fig. 1). Then site on the saddle, and step on the pedals forcibly until they are stopped at 60′ clock and the leg can be fully stretched (Fig. 2).

Horizontal position of saddle
Put the right foot into the clamp, and step on the pedals, until the right pedal is at 3 o’ clock and the front side of the knee joint is on the same vertical line as the pedal, that is, the saddle is in the correct position (Fig. 3).

2. Setup of appropriate handlebar height
Each user can set up the appropriate handlebar height based on his or her body height and riding experience.
Recommendation: The handlebar should be slightly higher than the saddle for new users (Fig. 1) and flush with or slightly lower than the saddle for experienced users (Fig. 2). Users subject to lumbar muscle strain and lumbar spondylosis may ride the bike with the consent of doctors. It is recommended to adjust the handlebar into a higher position.

3. Handle position layout of bike
During riding, coaches will show the corresponding hand positions, i.e. the corresponding parts of the handlebar, as shown below.

① Hand position 1
② Hand position 2
③ Hand position 3
Routine Maintenance
Daily use: Keep the bike on a dry, ventilated and flat floor. If not used in a long time, the bike should be covered to keep its body clean and tidy.
Frame maintenance: Wipe off sweat on the frame with cloth after exercise. Do not wipe the bike with wet cloth, in order to avoid rusting.
Belt maintenance: Check the belt pulley for cracking and deviation, and adjust or replace the belt in time. Regularly clean the belt groove to prevent the belt from jumping out of the groove.
Inspection of body screws: Always check the screws of all body parts for loosening or falling, and tighten or replace them in time.
Inspection of resistance adjustment knob: Always check the resistance adjustment knob for loosening or falling. Check whether the resistance is reasonable, so as to calibrate resistance in time.
Inspection of pedals and cranks: Always check the screws of pedals and cranks for loosening, and tighten them in time.
Saddle maintenance: Always check whether the saddle is loose and tighten it in time. Wipe the saddle with cotton cloth to keep it dry.
![]()













































