
Before using this product, carefully read and properly keep this manual.

Product model: YS-001
YESOUL Smart Cycling Bike
_______________________
G1 MAX Product Manual
Product Parameters
| Screen size | 32 inch (1366*768 pixels) |
| Supporting software version | Android 8.0 |
| Resistance system | Magnetron resistance system |
| Drive mode | Belt drive |
| Power supply input | DC 24V ⎓ 2.7A |
| wireless connection | Wifi 2.4G |
| Height limit | 150 ~ 188cm |
| Rated maximum load | 120kg |
| Net weight | 37kg |
| Gross weight | 40kg |
| Overall dimensions | (Length) 1495mm x (Width) 530mm x (Height) 1525mm |
Routine Maintenance
- Keep the cycling bike on a dry, ventilated and flat floor. If not used in a long time, the bike should be covered to keep its body clean and tidy.
- Wipe off sweat on the frame with cloth after exercise. Do not wipe the bike with wet cloth, in order to avoid rusting.
- Check the belt pulley for cracking and deviation, and adjust or replace the belt in time. Regularly clean the belt groove to prevent the belt from jumping out of the groove.
- Always check the screws of all body parts for loosening or falling, and tighten or replace them in time.
- Always check the resistance adjustment knob for loosening or falling. Check whether the resistance is reasonable, so as to calibrate resistance in time.
- Always check the screws of pedals and cranks for loosening, and tighten them in time.
- Always check whether the saddle is loose and tighten it in time. Wipe the saddle with cotton cloth to keep it dry
- Always check the power cable for cracking and deviation, and replace the damaged one in time.
Important Safety Instructions
Please read them carefully. Improper use may result in personal injury or death!
- Make sure that the saddle height adjustment knob is secured correctly, and will not affect motion during exercise.
- Keep children and pets away from this product. This product is for those over 16 years old only.
- Never stretch any object or body part into the openings of the bike.
- The weight of the user must not exceed the maximum load.
- Get off the bike until flywheel and pedals stop rotating. Otherwise, severe injuries may be caused due to control failure.
- If you feel any discomfort, such as dizziness or breathing difficulty, stop riding the bike and carefully get off.
- Never turn pedals by hand. or touch any rotating mechanical part; otherwise, personal injury may be caused.
- Keep the body hydrated as needed during riding.
- Use this product according to the instructions in this manual. Warm up fully before exercise.
- Without the preliminary determination of baseline fitness level and medical certificate signed by a doctor, never be engaged in high-speed or high-intensity sports. Before attempting any high-intensity short sprints, pay attention to the body state and posture, and apply a controllable speed.
- Wear professional cycling clothes or tight-fitting sportswear and sports shoes, and tighten foot straps to avoid injury caused by pulling or entanglement by this product.
- Never use this product with inappropriate shoes or barefoot.
- Incorrect or excessive training may cause injury.
- Check whether the bike for loosening or damage before each use.
- Never refit this bike or use non-original accessories without permission. The casing must be opened by professionals, in order to avoid damage.
- Those pregnant or with high blood pressure, heart disease, lumbar spondylosis or reduced mobility must not use this product without the permission of doctors.
- In case of any discomfort such as dizziness or chest pain during exercise, stop exercising immediately and go to a hospital for examination.
- If the product fails, immediately stop using it.
- This product must not be used for medical rehabilitation.
- Use this product on a flat and clean ground.
- Carry out preventive maintenance regularly.
- Never expose this product in a humid place. This product must not be used outdoor or in any humid place.
- This product is for household use (Class H) and not medical fitness equipment.
- Get off the bike or enable the emergency brake until inertia wheel and pedals stop rotating. Otherwise, severe injuries may be caused due to control failure.
- Turn the knob to the right end to lock the corresponding component.
- Please use the standard power adapter. Replacement of the power adapter without authorization may cause serious consequences.
Installation Guide – List of Parts
STEP 1: Check of parts
| Parts List (Components List) | NO. | Name | Quantity | Picture |
| (1) | Frame | 1 | ![]()
| |
(2) | Front tube | 1 | ![]()
| |
(3) | Rear tube | 1 | ![]()
| |
(4) | Pedal set left/right | 1 | ![]()
| |
(5) | Handlebar assembly | 1 | ![]() | |
| (6) | Display holder | 1 | ![]() | |
(7) | Decorative cover | 1 | ![]() | |
| (8) | Screen | 1 | ![]() | |
(9) | DC 24V ⎓ 2.7A power adapter | 1 | ![]() | |
| (10) | Hexagon socket cap screw M6 x 35 | 1 | ![]() | |
(11) | Dumbbell rack | 1 | ![]() | |
| (12) | Dumbbell | 2 | ![]() | |
(13) | Head tube | 1 | ![]() | |
| (14) | Screen fastener | 1 | ![]() | |
(15) | Bottle holder | 1 | ![]() |
| Accessories List (Tools List) | NO. | Name | Quantity | Picture |
| A | Open-ended wrench, 17# | 1 | ||
| B | Hex wrench, 4# | 1 | ![]() | |
| C | Hex wrench, 5# | 1 | ![]() | |
| D | L-type cross head hex wrench, 6# | 1 | ![]() | |
| E | Open-ended wrench | 1 | ![]() | |
| F | Hex wrench, 8# | 1 | ![]() |
*In order to facilitate assembly, some accessories have been installed on the body before delivery.
Installation Guide
STEP 2: Installation of bottom tube
1. Take L-type cross head hex wrench 6# (D) out of the ziplock bag.
2. Remove four hexagon socket button head screws (M8 x 45) and washers of the front tube 2 and rear tube 3 via the L-type cross head hex wrench 6# (D).

- Washer
3. Align the holes of the front and rear front tube 2 and rear tube 3 with the bottom holes of the frame 1, manually screw the washers and hexagon socket button head screws (M8 x 45), and tighten then via the L-type cross head hex wrench 6# (D).

STEP 3: Installation of head tube
1. Screw out the adjustment knob as indicated by the arrow, and connect the screen connection cable in the head tube 13 to the cable in the bike 1 (as shown in the figure). After the screen connection cable is connected, align the head tube 13 to the mounting hole of the frame 1 (Note: Place the surface with a hole in the head tube 13 outwards Do not press the cable);

- Align the port to connect to the screen connection cable
* Please make sure that the connection direction is correct. Please do not connect it with violence. - Before installing the head tube, please screw out the adjustment knob as indicated by the arrow.
2. Insert the head tube 13 into the frame1, and keep the scale parallel to the top surface of the tube. Align the hole on the head tube 13 with the hole on the frame1. Then, tighten the adjustment knob as indicated by the arrow.

- After installation, tighten the head tube as indicated by the arrow.
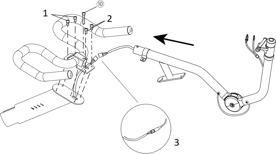
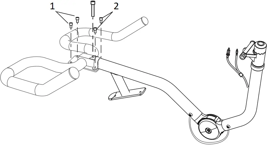
STEP 4: Installation of handlebar assembly
1. Remove the four M6 x 12 hexagon socket bolts pre-locked on the head tube1.
2. Pass the screen connection cable through the hole in the handlebar assembly 5 (as shown in the figure).

3. Align the holes at the connection of the handlebar assembly 5, and place the M6 x 12 bolts 1-2 (as shown in the figure) into the holes, and manually rotate the screws (at this point, do not screw them tightly); then, connect the screen connection cable to the cable inside the display holder 6(as shown in the figure). Then, insert the display holder 6 into the round hole of the handlebar as indicated by the arrow.

- M6 x 12 screws 1-2
- M6 x 12 screws 3-4
- Align the port to connect to the screen connection cable
* Please make sure that the connection direction is correct. Please do not connect it with violence.
4. Align the holes correctly, and put the M6 x 12 bolts 3-4 (as shown in the figure) into the holes, and screw them tightly respectively Then, take one hexagon socket cap screw M6 x 3510 from the part bag, and manually screw it into the corresponding hole. (Pay attention to protecting the cable and avoid damage)
(The picture on the right shows the effect after placing the screen bracket6 into the handlebar assembly 5).

- M6 x 12 screws 1-2
- M6 x 12 screws 3-4
5. Finally, tighten all bolts via the hex wrench 5# (C) and cover the decorative cover.

STEP 5: Fixing of display
1. Use the open-end wrench 17# (A) and the hex wrench8# (F). Remove the bots, gaskets, and nuts pre-installed on the display holder6, as shown in the figure.

2. Remove the four M6 x 12 cross screws pre-installed on the screen 8, and align the screen fastener 14 to the hole (The two protruded holes on the screen fastener should be parallel with the screen) Use the L-type cross head hex wrench 6# (D) to fix the screen fastener 14 on the screen 8 with the four M6 x 12 cross screws through the hole on the screen fastener14.
* Please put the screen on the desk. Do not touch the screen with hard objects to avoid screen damage.

3. Please align the two protruded holes on the screen fastener 14 with the display holder6 as shown in the figure and use the open-end wrench (17#) (A) and the hex wrench 8# (F) to lock the nuts and bolts and gaskets to the screen fastener 14, as shown in the figure
* Note: Please check and ensure that the screen support rotating joint should be tightened.
4. Please pay attention that the screen support rotating joint should be tightened so that the screen can be fixed in a rotary manner at various angles and will not easily drop and rotate. (During the usage process, if there is any looseness or if it is required to adjust the joint, please follow this method for adjustment).

- Please tighten the screen support rotating joint.
- Hex wrench 8#
STEP 6: Installation of dumbbell rack
- Use the hex wrench5# (C) to remove the screws (M6 x 12) from the slide tube;
- Put the dumbbell rack 11 on the slide tube and align the holes;
- Manually install screws through the holes, and use the hex wrench5# (C) to lock.
- Place the dumbbell on the dumbbell rack.

- Hex wrench 5#(C)
STEP 7: Installation of bottle holder
As shown in the figure, remove the two hexagon socket button head screws pre-installed in the screen bracket 6. and align the bottle holder with the slot in the screen bracket 6, and push it in along the direction shown in the figure. Then, use the hex wrench 4# (B) to align two hexagon socket button head screws with the holes, and lock the bottle holder.

- Hex wreanch 4#(B)
Installation Guide
(for reference only, subject to the actual product)
STEP 8: Installation of pedal
- Take the pedals from the package
- Distinguish left and right pedals. The right pedal is marked blue “R” , and the left pedal is marked red “L” (Pay attention to distinguish left and right pedals. If they are not installed correctly, crank threads will be damaged!)
- Stand behind the seat and face the handlebar Install the right pedal on the right crank, and ensure that the pedal is vertical to the crank mounting hole. Use an open-ended wrench (C) to lock it toward the head direction. Install the left pedal to the left crank, and ensure that the pedal is vertical to the crank mounting hole Use an open-ended wrench (C) to lock it toward the head direction. Note: During installation, correspond the red mark on the crank to the red mark on the pedal, and the blue mark on the crank to the blue mark on the pedal.
![]()
Open-ended wrench (E)
(in the ziplock bag)
Screw the pedal into the crank manually first, and then tighten the pedal assemblies L/R with the open-ended wrench (E). (Note: The tightening directions for both the left pedal and the right pedal are towards the head direction.)

- Note: Check whether the pedal straps are tightened before riding. Tighten them by pulling them down.
- Right pedal assembly(4)
- Left pedal assembly(4)
Safety tips:
Reverse riding is not recommended, as it is likely to loosen pedals. After reverse riding, check whether the pedals are locked, in order to avoid safety issues arising from loose pedals.
STEP 9: Installation of connection cable
- Plug the cable of the power port (a) and signal port (b) of the display into the jack at the bottom of the back of the display. Make sure that the cable is inserted tightly. Make sure to distinguish the ports specifications. The power cable port should be tightened without looseness.
- Connect the power adapter 9 to the power jack on the rear part of the frame 1.
(Please use the standard power adapter. Replacement of the power adapter without authorization may cause serious consequences.)

Note: Never insert the cable into the interface of the tablet or pull it out without cutting off the power supply.
Safety tips:
Never insert the cable into the interface of the tablet or pull it out without cutting off the power supply.

- Rear column tightening knob (Adjust the saddle height)
- Saddle tightening knob(Adjust the saddle horizontally)
- Resistance knob
(Please adjust the resistance appropriately according to your exercising needs. Press the knob to brake in an emergency.) - 360 degrees of rotation angles of the screen(Here, the hex wrench 4# (B) can be used to tighten/loose).
- Front tightening knob (Adjust the head height)
- Move the screen forward and backward
- Lockable pulley
Before the first use, please turn the resistance adjustment knob counterclockwise to loosen it; otherwise, you cannot ride the bike!
Statement:
This manual contains the functional introduction and operating instructions as much as possible when printed. With the continuous improvement of hardware and software and optimization of design, this manual may be inconsistent with the purchased product.
In case of any discrepancy in appearance, interface and color, the actual product shall prevail.
Free courses
Schematic diagram:
Downward the mobile phone software
Download app
Connect to G1-MAX

1. Account registration:
1) Please connect to the G1-MAX cycling bike, and open the display. Use the third-party software in the mobile phone to scan the QR code on the screen, or input the short link in the screen to download the YESOUL APP;
2) After installing the YESOUL APP in the mobile phone, register the mobile phone APP account;
3. After account registration, click the “+” in the top-right corner of the mobile phone to connect the mobile phone APP to the G1-MAX device. After WIFI configuration, start to use the G1-MAX;
2. Start riding:
1) When you connect the mobile phone APP to the G1-MAX, the connection status can be checked in the left top corner of the APP;
2) You can select any training mode or course in the mobile phone APP to start riding;
3) Use the mobile phone APP to adjust the quality and control the voice for G1-MAX during riding;
3. About our membership.
1) Newly registered users of the Chinese version of APP-YESOUL will get the membership free of charge granted along with the cycling bike;
2) Registered users of the international version of YESOULFITNESS will get 30-day experience period free of charge for the first signing subscription.
How to Adjust Bike
1. Handlebar height adjustment:
Turn the handle to the right with one hand, and hold the middle part of the handlebar with the other hand, and lift (or press) the handlebar to the desired position. Then turn the handle to the left until it is tightened.

- The head tube must not exceed the MAX mark during handlebar adjustment.
2. Saddle height adjustment:
Turn the handle to the left with one hand, and hold the middle part of the handlebar with the other hand, and lift (or press) the handlebar to the desired position. Then turn the handle to the right until it is tightened.

- The head tube must not exceed the MAX mark during saddle adjustment.
3. Horizontal adjustment of saddle:
Loosen the handle under the saddle, slide the saddle back and forth to the desired position, and tighten the knob as much as possible.

- Horizontal adjustment of saddle
4. Body level adjustment:
There are four adjustment pads at the bottom of the front and rear pedal tubes Screw these pads until they are tightly secured on the floor and the body does not shake.

How to Determine Correct Riding Posture
1. Setup of correct saddle position
Saddle height
Put the feet together, stand on one side of the saddle and adjust the saddle to the hip height (Fig. 1). Then site on the saddle, and step on the pedals forcibly until they are stopped at 6 o’clock and the leg can be fully stretched (Fig. 2).

(Fig. 1) (Fig 2)
- Hip joint
- Leg straight
Horizontal position of saddle
Put the right foot into the clamp, and step on the pedals, until the right pedal is at 3 o’clock and the front side of the knee joint is on the same vertical line as the pedal, that is, the saddle is in the correct position (Fig. 3).

(Fig. 3)
- 3 o’clock the right crank is parallel to floor in the right direction
2. Setup of appropriate handlebar height
Each user can set up the appropriate handlebar height based on his or her body height and riding experience.
Recommendation: The handlebar should be slightly higher than the saddle for new users (Fig. 1) and flush with or slightly lower than the saddle for experienced users (Fig. 2).
Users subject to lumbar muscle strain and lumbar spondylosis may ride the bike with the consent of doctors. It is recommended to adjust the handlebar into a higher position.

(Fig. 1) (Fig 2)
3. Handle position layout of bike
During riding, coaches will show the corresponding hand positions, i.e. the corresponding parts of the handlebar, as shown below.

(1) Hand position 1
(2) Hand position 2
(3) Hand position 3
Company Name | FUJIAN YESOUL HEALTH TECHNOLOGY CO. LTD. |
Product Name | YESOUL BIKE G1 MAX |
Add | RM-B616, BLDG., No.1, STRAIT ECONOMIC AND TRADE PLAZA, FUZHOU FREE TRADE ZONE. |
Grade | HC |
Executive standard | ISO 20957-1:2007 ISO 20957-10:2007 GB 17498.1-2008 GB 17498.10-2008 ASTM F 1250 ASTM F 2276 |
FCC ID | 2A3YB-YSBG1MAX |
This device complies with part 15 of the FCC Rules. Operation is subject to the following two conditions: “(1) This device may not cause harmful interference, and (2) this device must accept any interference received, including interference that may cause undesired operation.” | |




















This device complies with part 15 of the FCC Rules. Operation is subject to the following two conditions: “(1) This device may not cause harmful interference, and (2) this device must accept any interference received, including interference that may cause undesired operation.”
















