Daffodil PUM300B Powerful Portable Handheld Electric Tyre Inflator Air Compressor Pump
Product Introduction
Package List
Charging Display
Battery Level
When charging, three horizontal bars will appear on the display screen indicating the battery level. When three bars appear simultaneously on the display screen, this indicates that the battery is fully charged.
Charging
Charging Indicator
- Three bars are flashing – Charging
- Three bars on constantly – Fully Charged
Power On
Hold down the Power Button to turn on the device. The Tyre Pump will automatically turn off when left idle for 1 minute.
Valve & Adaptor Connections
Adaptor Connections
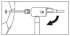
Suitable for mountain bikes, electric bikes, motorcycles and cars.Inflation – Connect the Air Hose with the Valve Adaptor to the Tyre Valve. Then, flick the lever downwards(as displayed in the diagram) to lock. Press the Power Button to inflate and press again to stop inflation.
Valve Adaptor
Suitable for road bikes and some mountain bikes. Inflation – Unscrew the tyre cap. Install the Valve Adaptor to the Air Hose, flick the level downwards to lock, then connect to the tyre valve. Press the Power Button to inflate and press again to stop inflation. After inflation, screw the tyre cap back on. Flip the lever upwards to unlock.
Ball Needle
Suitable for basketballs, footballs and other sports equipment. Inflation – Screw the Ball Needle into the Valve Adaptor tightly. Flick the lever downwards to lock and insert the Ball Needle into the ball. Press the Power Button to inflate and press again to stop inflation.
Balloon Nozzle
Suitable for common balloons. Inflation – Screw the Balloon Nozzle to the Valve Adaptor tightly. Flick the lever downwards to lock and then insert the balloon nozzle into the balloon. Press the Power Button to inflate and press again to stop inflation.
Air Pressure Monitor
When connected to a tyre or sports ball, the current air pressure value will display on the screen.
Checking the Tyre Pressure
Before installation, please check the user manual of the tyre/ball for the required inflation pressure to ensure safety and avoid personal injury.
Tyre
Inflation Pressure Ranges are written on the tyre side walls of cars, bicycles and motorcycles. Inflation Pressure is directly related to the load capacity of the tyre. Please refer to the user manual of your vehicle for specific pressure recommendations.
Ball
Inflation Pressure Ranges for sports balls are written by the valve hole.
Recommended Inflation Pressure of Common Products
| Product Category | Product Type | Recommended Pressure Range |
|
Bike | 12, 14, 16inch bke tyre | 30-S0psi |
| 20, 22, 24inch b ke tyre | 40-S0psi | |
| 26, 27.5, 29inch mountain bi ke tyre | 45-65psi | |
| 700c road b ke cl ncher tyre | 100-130psi | |
| 700c road bike tubular tyre | 120-145psi | |
| Motorcycle | Motorcycle, electric motorcycle tyre | 1.8-3.0ba r |
| Car | Small car tyre | 22-2.Bbar |
|
Ball | Basketball | 7-9psi |
| Football Volleyball | 8 16psi 4-Spsi | |
| Rugby ball | 12-14psi |
Attention:
the recommended ranges above are for reference only. For specific ranges, please refer to the user manual of the product that you want to inflate.
Preset the Inflation Pressure
Mode Switch
Press the Mode button to cycle through the various Inflation Modes. Please select the correct air pressure unit before inflation. Hold down the Unit Switch Button to cycle through the various units such as: psi, bar, KPA, KG, CM2, etc. Free Mode: the preset pressure can be set manually. Values and Units used can be saved. Adjustable Range: 3-150psi 
Bike Mode
Default Value: 45psi
Adjustable Range: 30-65psi
Motorcycle Mode
Default Value: 2.4bar
Adjustable Range: 1.8 – 3.0bar
Car Mode
Default Value: 2.5bar
Adjustable Range: 1.8 – 3.5bar
Ball Mode
Default Value: 8psi
Adjustable Range: 4-16psi
Adjusting Preset Value
After selecting the preferred mode, press the+ or – button to adjust the preset value. Press and hold down the+ or- button to adjust the preset values quickly. When the Preset Values flash on the display screen this indicates that the Tyre Pump is in the Pressure Value Settings. After selecting the preferred values, the numbers will stop flashing and show the current air pressure values on the screen.
Inflation
Starting Inflation
After turning the air pump on, press the Power button to start inflation. The current values will display on the screen and change accordingly. Please be aware that this device makes a noise between 90-105dB during inflation. The temperature of the Air Hose and the Tyre Pump can increase after prolonged use, so please do not touch them immediately after use.
Stopping Inflation
The Tyre Pump will automatically stop inflating when the air pressure reaches the preset value. You can also manually stop inflation by pressing the Power Button during inflation.
Attention:
the inflation pressure range for some items, i.e. balloons, toy balls, swimming ring, is lower than the pressure range of the pump. This means that inflation cannot be stopped automatically by setting the air pressure value. Please be cautious when inflating items of this sort.
Battery
When fully charged, the Tyre Pump has a battery life of approximately 35 minutes when operating at room temperature (25° C).
Removing the Valve Adaptor
The temperature of the Air Hose can increase during inflation. Please be careful when removing the Valve Adaptor to avoid personal injury. Some air will leak when removing the Valve Adaptor, so please remove ii quickly to avoid further leakage.
PowerOff
Hold down the Power Button to turn off. When turned on, the Tyre Pump will automatically turn off when left idle for 1 minute.
Attention:
- This product is not a toy and is not suitable for children. It is recommended that the user is at least 16 years old. Please keep children away from this product during inflation.
- This product has an inbuilt non-removable lithium battery. Do not throw burn or throw the product away. If the lithium battery overheats, is struck or exposed to water, it may cause fire, spontaneous combustion or explosion. Please do not expose this product to high temperatures.
- The recommended storage temperature of this product is between -10° C and 45° C. Extreme temperatures will automatically activate battery protection mode and will be required to be charged.
- The battery may be damaged if the product is left idle for a long period of time. It is recommended to charge this product at least once every 6 months.
- This product has a built-in DC motor, so there be a spark during operation. Please do not use in a flammable or explosive environment.
- If you hear any abnormal noises or the product is extremely hot during use, please turn it off immediately.
- Please ensure that you have selected the correct measurement unit before adjusting the inflation pressure value, otherwise, this may result in overinflation or personal injury. Common unit conversion 1 bar = 14.5psi, 1 bar = 1 00kPa.
- Do not leave this product unattended during inflation.
- Please use this product in a dry and clean environment since dust and dirt may cause damage to it. This product is not waterproof, so do not expose it to water.
Troubleshooting
| Trouble | Solution |
| The inflation speed is slow. | 1. Check if the battery level is low. |
| 2. Check if the air hose is leaking. | |
| 3. Check if the connection parts on both ends of the air hose are tightened. | |
| 4. Check if the inflated object is leaking. | |
| Unable to inflate after turned on. | 1. Check if the current tyre pressure is higher than the preset value. |
| 2. Check if the battery level is low. | |
| The preset pressure value can• t be adjusted. | Check if the product is under the incorrect inflation mode. Under the free mode with no icon lighting on, the preset value can be adjusted within 3-150psi. |
| Inflate normally but the pressure value displayed is zero. | Low-pressure inflatable products such as balloons are not within the measurable range of the pump. |
| The pump has turned off automatically after the valve adapter is screwed. | Hold down the “Power Button” to turn on again. |
| Air leaks when connecting the air hose. | Tighten the air hose. |
| The indicator color under inflation status is not consistent with that under standby status. | The lithium batteries have a distinct voltage drop in discharge process, resulting in the inconsistency of indicator color under inflation status and standby status, which is not a fault. |
Specification
| Product Name | Portable Electric Tire Pump |
| Product Model | PUM300B |
| Executive Standard | Q XM QJ 0002-2019 |
| Product Size | 9.1•2.s-3.l”/230•54•somm (not including air hose) |
| Inflation Pressure Range | 0.2-10.3bar/3-150psi |
| Working Temperature | Charge: 0’C-45’C, discharge: -10’C-45’C |
| Storage Temperature | -10’C-45’C |
| Air Hose Size | 150mm, including the valve adapter (not including the thread) |
| Valve Adapter Size | Schrader valve adapter: o.4•0.8″/11•2omm; Presta valve adapter: o.4•0.6″/11•1smm |
| Battery Capacity | 6000mAh (12Wh) |
| Working Noise | < l00dB at a distance of 3.3ft/1m |
| Input Parameter | SV,2A |
| Charging Port | Micro-USB |
| Charging Time | < 5 hours |
| Sensor Accuracy | ±2psi |
Warranty
This product is guaranteed for twelve months from the date of the original purchase. In the unlikely event of any defect arising due to faulty materials or workmanship, the unit will be either replaced or repaired free of charge (where possible) during this period. An alternative product will be offered in case the product is no longer available or repairable.
This warranty is subject to the following conditions:
- The warranty is only valid within the country where the product was purchased.
- The product must be correctly installed and operated in accordance with the instructions given in this user manual.
- The product must be used solely for domestic purposes.
- The warranty only covers the main units, and does not cover the accessories.
- The warranty does not cover the damage caused by misuse, negligence, accident or natural disaster.
- The warranty will be rendered invalid if the product is resold or has been damaged by inexpert repairs. The manufacturers disclaim any liability for incidental or consequential damages.
- Please consult one of our customer service advisers before returning any product. We are not responsible for any unexpected product returns.
- Any faulty product must be kept and returned in the original packaging with all the accessories and the original copy of the purchase receipt.
The warranty is in addition to, and does not diminish, your statutory or legal rights.
Customer Service:
Telephone: +44 (0) 845 293 9358 Email: [email protected]




















