amazon MAGMATIC MAGMA PRIME

©2021 MAGMATIC EFFECTS all rights reserved. Information, specifications, diagrams, images, and instructions herein are subject to change without notice. MAGMATIC EFFECTS logo and identifying product names and numbers herein are trademarks of MAGMATIC EFFECTS. Copyright protection claimed includes all forms and matters of copyrightable materials and information now allowed by statuto-ry or judicial law or hereinafter granted. Product names used in this document may be trademarks or registered trademarks of their respective companies and are hereby acknowledged. All non-ELATION brands and product names are trademarks or registered trademarks of their respective companies.
MAGMATIC EFFECTS and all affiliated companies hereby disclaim any and all liabilities for property, equipment, building, and electrical damages, injuries to any persons, and direct or indirect economic loss associated with the use or reliance of any information contained within this document, and/or as a result of the improper, unsafe, insufficient and negligent assembly, installation, rigging, and operation of this product.
MAGMATIC EFFECTS | 6122 S. Eastern Ave. | Los Angeles, CA. 90040
323-582-3322 | 323-832-9142 fax | www.elationlighting.com I [email protected]
Elation Professional B.V. | Junostraat 2 | 6468 EW Kerkrade, The Netherlands + 31 45 546 85 66 | +31 45 546 85 96 fax | www.elationlighting.eu | [email protected] Elation Professional Mexico | AV Santa Ana 30 | Parque Industrial Lerma, Lerma, Mexico 52000
+ 52 (728) 282-7070
DOCUMENT VERSION
| Date | Document Version | Software Version > | DMX Chan- nel Mode | Notes |
| 03/06/2020 | 1 | 1.0 | 1 / 3 / 5 | Initial Release |
| 12/01/2020 | 2 | N/C | No Change | Updated Dimensional Drawings |
| 12/07/2020 | 3 | N/C | No Change | Updated Voltage Specs |
| 08/25/2021 | 4 | N/C | No Change | Updated Safety Guidelines, Overview, & System Menu; added FCC Statement |
GENERAL INFORMATION
INTRODUCTION
Please read and understand the instructions in this manual carefully and thoroughly before attempting to operate this device. These instructions contain important safety and use information.
This product is intended to be used by professionally trained personnel only and is not suitable for private use.
UNPACKING
Every device has been thoroughly tested and has been shipped in perfect operating condition. Carefully check the shipping carton for damage that may have occurred during shipping. If the carton is damaged, carefully inspect the device for damage, and be sure all accessories necessary to install and operate the device have arrived intact. In the event damage has been found or parts are missing, please contact our customer support team for further instructions. Please do not return this device to your dealer without first contacting customer support. Please do not discard the shipping carton in the trash. Please recycle whenever possible.
BOX CONTENTS
Locking Power Cable
CUSTOMER SUPPORT
Contact MAGMATIC customer service for any product related service and support needs. Also visit forums.elationlighting.com with questions, comments or suggestions.
ELATION SERVICE USA – Monday – Friday 8:00am to 4:30pm PST 323-582-3322 | Fax 323-832-9142 | [email protected]
ELATION SERVICE EUROPE – Monday – Friday 08:30 to 17:00 CET +31 45 546 85 63 | Fax +31 45 546 85 96 | [email protected]
REPLACEMENT PARTS please visit parts.elationlighting.com
IMPORTANT NOTICE! THERE ARE NO USER SERVICEABLE PARTS INSIDE THIS UNIT. DO NOT ATTEMPT ANY REPAIRS YOURSELF; DOING SO WILL VOID YOUR MANUFACTURER’S WARRANTY. DAMAGES RESULTING FROM MODIFICATIONS TO THIS FIXTURE AND/OR THE DISREGARD OF SAFETY INSTRUCTIONS AND GUIDELINES IN THIS MANUAL VOID THE MANUFACTURER’S WARRANTY AND ARE NOT SUBJECT TO ANY WARRANTY CLAIMS AND/OR REPAIRS.
LIMITED WARRANTY (USA ONLY)
A. Magmatic Effects hereby warrants, to the original purchaser, Magmatic products to be free of manufacturing defects in material and workmanship for a period of two years (730 days) from the original date of purchase. This warranty excludes all product accessories. This warranty shall be valid only if the product is purchased within the United States of America, including possessions and territories. It is the owner’s responsibility to establish the date and place of purchase by acceptable evidence, at the time service is sought.
B. For warranty service, send the product only to the Magmatic Effects factory. All shipping charges must be pre-paid. If the requested repairs or service (including parts replacement) are within the terms of this warranty, Magmatic Effects will pay return shipping charges only to a designated point within the United States. If any product is sent, it must be shipped in its original package and packaging material. No accessories should be shipped with the product. If any accessories are shipped with the product, Magmatic Effects shall have no liability what so ever for loss and/or or damage to any such accessories, nor for the safe return thereof.
C. This warranty is void if the product serial number and/or labels are altered or removed; if the product is modified in any manner which Magmatic Effects concludes, after inspection, affects the reliability of the product; if the product has been repaired or serviced by anyone other than the Magmatic Effects factory unless prior written authorization was issued to purchaser by Magmatic Effects; if the product is damaged because not properly maintained as set forth in the product instructions, guidelines and/or user manual.
D. This is not a service contract, and this warranty does not include any maintenance, cleaning or periodic check-up. During the periods as specified above, Magmatic Effects will replace defective parts at its expense, and will absorb all expenses for warranty service and repair labor by reason of defects in material or workmanship. The sole responsibility of Magmatic Effects under this warranty shall be limited to the repair of the product, or replacement thereof, including parts, at the sole discretion of Magmatic Effects. All products covered by this warranty were manufactured after January 1, 1990, and bare identifying marks to that effect.
E. Magmatic Effects reserves the right to make changes in design and/or performance improvements upon its products without any obligation to include these changes in any products theretofore manufactured.
F. No warranty, whether expressed or implied, is given or made with respect to any accessory supplied with the products described above. Except to the extent prohibited by applicable law, all implied warranties made by Magmatic Effects in connection with this product, including warranties of merchantability or fitness, are limited in duration to the warranty periods set forth above. And no warranties, whether expressed or implied, including warranties of merchantability or fitness, shall apply to this product after said periods have expired. The consumer’s and/or dealer’s sole remedy shall be such repair or replacement as is expressly provided above; and under no circumstances shall Magmatic Effects be liable for any loss and/or damage, direct and/or consequential, arising out of the use of, and/or the inability to use, this product.
G. This warranty is the only written warranty applicable to Magmatic Effects products and supersedes all prior warranties and written descriptions of warranty terms and conditions heretofore published.
WARRANTY RETURNS (USA ONLY)
To obtain warranty service, a Return Materials Authorization (RMA) number must first be obtained from MAGMATIC. It is the Customer’s responsibility to provide product proof of purchase and serial number by acceptable evidence such as an invoice copy or an approved MAGMATIC Extended Warranty Certificate (“EWC”) and any relevant maintenance records at the time warranty service is sought. Failure to provide acceptable evidence of product proof of purchase or EWC and any relevant maintenance records may be cause for denial of warranty service.
Products returned for warranty service must be sent without any accessories (i.e., power, data, and safety cables, brackets, clamps, rigging hardware, frost filters, gel frames, barn doors, lens, hoses, nozzles, rack mounting hardware, etc.), must be boxed using the original and/or suitable packaging materials (double-box and foam) that provides ample product protection for ground and/or air freight transit, and must be shipped freight pre-paid and insured to MAGMATIC in Los Angeles, CA or an MAGMATIC Authorized Service Center. The RMA number must be clearly written on the outside of the return box, and a brief description of the problem and the RMA number must be documented and included in the box.
Products returned for warranty service without an RMA number clearly marked on the outside of the package will be refused and returned to the shipper at the Customer’s expense.
Products returned for warranty service, which are received damaged due to inadequate and/or improper packaging and/or due to damage caused by shipping carrier, may incur additional repair charges before warranty service begins and/or may void this warranty. If any product accessories (included and/or optional) are shipped with the product, MAGMATIC and/or the MAGMATIC Authorized Service Center shall have no liability what so ever for the loss and/or damage to any such accessories, nor the safe return thereof. If the requested warranty repairs or service (including parts replacement) are within the terms of this warranty, MAGMATIC will pay return ground transportation shipping charges to a single designated point within the United States.
SAFETY GUIDELINES
To guarantee a smooth operation, it is important to follow all instructions and guidelines in this manual. MAGMATIC is not responsible for injury and/or damages resulting from the misuse of these devices due to the disregard of the information printed in this manual. Only qualified and/or certified personnel should perform installation of these devices and only the original rigging parts included with these devices should be used for installation. Any modifications to these devices and/or the included mounting hardware will void the original manufactures warranty and increase the risk of damage and/or personal injury.
PROTECTION CLASS 1 – DEVICES MUST BE PROPERLY GROUNDED
THERE ARE NO USER SERVICEABLE PARTS INSIDE THESE DEVICES. DO NOT ATTEMPT ANY REPAIRS YOURSELF; DOING SO WILL VOID YOUR MANUFACTURES WARRANTY. DAMAGES RESULTING FROM MODIFICATIONS TO THESE DEVICES AND/ OR THE DISREGARD OF SAFETY INSTRUCTIONS AND GUIDELINES IN THIS MANUAL VOID THE MANUFACTURES WARRANTY AND ARE NOT SUBJECT TO ANY WARRANTY CLAIMS AND/OR REPAIRS.
DO NOT PLUG THIS UNIT INTO A DIMMER PACK!
DO NOT REMOVE THE COVER UNDER ANY CONDITIONS!
KEEP UNIT UPRIGHT!
NEVER OPERATE THIS UNIT WITH THE COVER REMOVED!
UNPLUG POWER DURING LONG PERIODS OF NON-USE
ENSURE TANK AND COOLER ARE EMPTY BEFORE STORAGE OR TRANSPORT!DO NOT MOVE UNIT WHEN FILLED WITH WATER AND ICE!
DISCONNECT POWER BEFORE ADDING WATER OR PERFORMING MAINTENANCE!
INDOOR / DRY LOCATIONS USE ONLY!
DO NOT EXPOSE DEVICES TO RAIN AND/OR MOISTURE!
PLACE UNIT IN A WELL VENTILATED AREA.
ALLOW 40” (100CM) ABOVE AND AROUND THE UNIT FOR PROPER VENTILATION
IMPORTANT SAFETY INSTRUCTIONS. READ THESE INSTRUCTIONS THOROUGHLY BEFORE USE, AND SAVE THEM FOR FUTURE REFERENCE.
CAUTION:
- Risk of burn, fire, or electric shock.
- For indoor use only.
- Please read the instruction manual carefully before use.
- Do not immerse in liquid.
- Not for space heating use.
WARNING: To prevent risk of personal injury, fire, and electric shock: - Never leave unit unattended while plugged in. Unplug device when not in use.
- Read all important safety instructions and cautions before attempting to use.
- Connect only to a properly grounded power outlet.
- Place product on a flat, level, HARD surface and connect the cord to prevent the product from tipping or overturning.
- For use in covered areas only! Keep unit dry, and do not expose to rain, moisture, or liquid immersion.
- Leave enough space for adequate ventilation. Keep the device cool and away from other objects.
- Do not operate the device without fog liquid in the reservoir.
- Use caution when filling the fluid reservoir in order to avoid spillage, as spilled liquid can result in electrical shock.
- Do not use if liquid spills into or onto the unit, and allow the device to dry completely before attempting usage.
- Do not overfill the fluid reservoir.
- Keep away from flames and flammable or explosive substances.
- Never pour flammable liquids, such as gas, perfume, etc, into the fog machine.
- Keep the device and fog fluid out of reach of children.
- Use only under adult supervision.
- Do not direct fog output in the direction of people or open flame.
- Stay at least 20 inches (50cm) from the output nozzle on the front of the unit.
- Do not obstruct the output nozzle.
- Do not open the unit for any reason. There are no user serviceable parts inside, and all maintenance and repair procedures should be referred to an authorized vendor or technician.
- Only a certified electrician may replace the power cord.
- Clean the unit prior to storage to avoid damage.
POWER SUPPLY CORD: - A short power supply cord (or short detachable power-supply cord) is provided to reduce the risk of a person becoming entangled in or tripping over the cord.
- Extension cords (or long detachable power-supply cords) are available and may be used as long as care is exercised during use.
- If an extension cord (or long detachable power-supply cord) is used, follow the guidelines below:
- The indicated electrical rating of the cord should be meet or exceed the rating of the device.
- If the device is of the grounded type, the cord must use a grounding type 3-wire cord.
- The cord should be routed in such a way as not to cause a tripping hazard or result in unintentional snagging or pulling of the cord, especially in the presence of children.
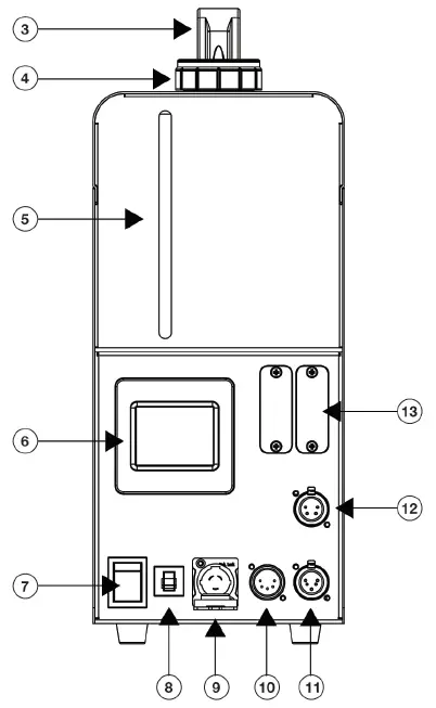
OVERVIEW


- Output Nozzle
- Fan
- Carrying Handle
- Fluid Reservoir Cap
- Fluid Level
- Touch Screen Display
- Power Switch
- Breaker
- Locking Power Cable Input
- Locking 5-Pin XLR Connector In
- Locking 5-Pin XLR Connector Out
- Remote Control Connection
- Card Inputs
SET UP
- Open the shipping carton and carefully remove the unit and all included items from the shipping carton.
- Be sure to remove all the packing material especially around the nozzle.
- Set the machine on a flat dry surface. Remove the fluid reservoir cap and carefully fill the fog fluid reservoir with Atmosity Extreme Filtered water based smoke & haze fluid. Once the fluid tank is filled, replace and tighten the reservoir cap.
- Connect the unit to a matching power supply and put the power switch into the “ON” position. Once power is applied, the fan will begin to operate and the machine will begin to heat up. When the machine is heating up, the display will read “HEATING” in the top left corner with the heating percentage.
- The machine takes 6 minutes to heat up. When the machine has reached its operating temperature the display will read “READY”.
- To emit haze, select your desired operating mode using the touch screen display. See the Control Panel and System Menu sections of this manual.
CONTROL PANEL
This fixture includes a system menu with an easy to navigate touch screen control panel where all necessary settings and adjustments are made. When first powering on the fixture, the fixture’s main menu will be displayed (see Main Menu Screen below).
Press the main menu icon you would like to access. Use the ENTER button to access sub menus and use the UP and DOWN buttons to make adjustments. Press the ENTER button to confirm your adjustments. You may exit the main menu at any time without making any adjustments by pressing the BACK/EXIT button.
TIMER MENU: The timer sub menu includes fog output adjustment, fan adjustment, duration adjustment, and interval adjustment. To access the TIMER adjustment menu, press the SETTINGS icon located at the bottom of the screen. Use the UP and DOWN buttons to make your adjustments and press ENTER to confirm. When all settings have been made, press the PLAY/START button to begin timer fogging.


| MENU | SUBMENU | OPTIONS | DESCRIPTION | |
![]() | DMX Addr | 001 – XXX | DMX Addressing | |
| DMX Mode | 1 / 3 / 5 | DMX Channel Mode Selection | ||
![]() |
MagApp Set | MagApp Name | 0-XXXX | Displays MagApp network name |
| MagApp Password | 00000000 – 00009999 | MagApp password | ||
| MagApp IP | 0-255.0~255.0~255.0~ 255 | MagApp IP displayed | ||
| MagApp Port | 0-65535 | Network port | ||
| MagApp Reset | Complete / Failed, try again | Network connection reset | ||
| MagApp->DMX & MagFly | On / Off | DMX or MagFly transmission | ||
| LCD Set | Screen OFF: Never/10s/40s/1min/5min/10min/ 20min | Display blackout time | ||
| MagFly Set | MagFly Channel: 0-14 | MagFly channel setting | ||
| MagFly: On / Off | MagFly activation | |||
| No Fluid | On / Off | Activate/deactivate no fluid warning | ||
| MagRF Learn | ||||
| Last State | Yes / No | Activate/deactivate last state | ||
| Default | Yes / No | Restore factory settings | ||
![]() | Fog | 1% – 100% | Manual control | |
| Fan | 20% – 100% | |||
![]() | Fog Output | 1% – 100% | Fog output setting | |
| Fan Speed | 20% – 100% | Fan speed setting | ||
| Interval | 0s – 2500s | Interval setting | ||
| Duration | 0s – 250s | Duration setting | ||
| MENU | SUBMENU | OPTIONS | DESCRIPTION |
![]() | Preset 1: • Duration = 40mins | ||
| Preset 2: • Duration = 25mins | |||
| Preset 3: • Duration = 10mins | Preset Settings 3 (Not Adjustable) | ||
| Preset 4: • Duration = 40mins | Preset Settings 4 (Not Adjustable) | ||
| Preset 5: • Duration = 10mins | Preset Settings 5 (Not Adjustable) | ||
![]() | State | Normal / Error | Machine Status |
| Slot 1 | Null / MagFly / MagApp / MagRF | Slot 1 Status | |
| Slot 2 | Null / MagFly / MagApp / MagRF | Slot 2 Status | |
| Last Control | LCD_auto / LCD_manual / DMX / MagApp / MagRF / MagRemote / Error | Current control status | |
| MagRemote State | Yes / No | MagRemote control status | |
| MagApp Connect | Null / Phone / Route / No | MagApp connection status | |
| MagApp IP | No / 0-255, 0-255, 0-255, 0-255 | Current MagApp IP address | |
| MagFly CH. | XX | Current MagFly channel setting | |
| DMX Addr. | XXX | Current DMX ad- dress setting | |
| DMX Mode | X | Current DMX ch. mode setting | |
| Timer Output | XXX% | Current timer output setting | |
| Timer FanSp | XXX% | Current timer fan setting | |
| MENU | SUBMENU | OPTIONS | DESCRIPTION |
![]() | Timer Int. | XXXXs | Current timer inter- val setting |
| Timer Dur. | XXXs | Current timer dura- tion setting | |
| Heat Proc. | XXX% | Heating process status | |
| No Fluid | Normal / Empty | Current fluid tank status | |
| Heater State | Normal / Error / No Heat | Heater status | |
| LCD Ver. | VX.X | Current LCD version | |
| Sftwr Ver. | VX.X | Current software version |
NOTES:
- MagApp SET – When there is no card connected, selecting “MagApp SET” will display the following: “Optional Module Not Installed”.
- MagFly SET – When there is no card connected, selecting “MagFly SET” will display the fol-lowing: “Optional Module Not Installed”.
- MagRF LEARN – When there is no card connected, selecting “MagRF LEARN” will display the following: “Optional Module Not Installed”.
DMX CHANNEL FUNCTIONS & VALUES
| CHANNEL | DMX VALUES | FUNCTION | ||
| 1 CH | 3 CH | 5 CH | ||
| 1 | 1 | Fog Output | ||
| 000 – 005 | Off | |||
| 006 – 255 | On | |||
| 1 | 2 | 2 | 000 – 255 | Output Volume, 0% – 100% |
| 3 | 3 | 000 – 255 | Fan, 20% – 100% | |
| 4 | Output Duration | |||
| 000 – 005 | No Duration | |||
| 006 – 255 | 1s – 250s | |||
| 5 | Interval | |||
| 000 – 005 | No Interval | |||
| 006 – 255 | 10s – 2500s | |||
DIMENSIONAL DRAWINGS

TROUBLE SHOOTING
If you experience low output, pump noise, or no fog output at all, disconnect and discontinue use immediately. Do not attempt to continue to operate as this may damage the machine. Check the fluid level, the breaker, and be sure the wall outlet is sending power. If all of the above appears to be okay, and the unit fails to operate correctly, the unit will require service. Please contact Magmatic Effects.
CLEANING & MAINTENANCE
When storing your fog machine be sure to store it in a cool area. Cover the machine so that dust does not build up on the unit. When storing the machine for long periods of time, it is highly advised to at least run the machine every 3-4 months. Long periods of inactivity can severly shorten the life of your machine. Only run Atmosity Extreme Filtered Fog Fluid (AEF-4L) through your machine. Never run plain water, vinegar, or any other liquid solution through your machine. Running anything other then water based fog juice will severly damage your machine.
SPECIFICATIONS
PERFORMANCE:
Rated Power: 700W
Max Output: 4,000 CFM* (cu ft/min.) (113m3/min*) Ready Time: Intial = 6 Minutes*
Fluid Capacity: 0.345 Gallons (1.3 Liters)
Fluid Consumption: 0.115 oz/min (3.4 ml/min)
COMPATIABLE FLUID:
Atomosity Extreme Filtered Fog Fluid (AEF-4L)
CONSTRUCTION:
Thermally Protected Heat Exchanger
Advanced HPA (High Pressure Air) Pump Technology Energy Saving Mode with Auto-Clean Process
Sealed Fluid Resrvoir
External Visual Fluid Level Detection
Compact Light Weight Mobile Design
CONTROL:
3 DMX Channels Modes: (1/3/5)
Onboard LCD Touch Control Panel
DMX-512 and RDM Protocol Support
Optional MAGFLY Wireless DMX Transceiver
Optional MAGRF Wireless Wired Remotes
CONNECTIONS:
Locking 5Pin XLR Connector In/Out
IP65 Locking Power Connector In
With Wired Digital Communication Network
SIZE / WEIGHT:
Length: 13.3in (338mm)
Width: 6.30in (160mm)
Height: 15.70in (400mm)
Weight: 22.48in (10.2kg)
ELECTRICAL:
AC120V 60Hz (US Version)
AC230V 50Hz (EU Version)
Breaker: 9A @ 120VAC (NFB)
Breaker: 5A @ 230VAC – 240VAC (NFB)
THERMAL:
Max. Ambient Temperature (Ta max) 104ºF (40ºC) Exterior Surface Temperature, Steady State: 122ºF (50ºC)
OPTIONAL ACCESSORIES:
Magfly
MagRF
APPROVALS / RATINGS
CE | cETLus | IP20
FCC STATEMENT
This device complies with Part 15 of the FCC Rules. Operation is subject to the following two conditions: (1) this device may not cause harmful interference, and (2) this device must accept any interference received, including interference that may cause undesired operation.
FCC RADIO FREQUENCY INTERFERENCE WARNINGS & INSTRUCTIONS:
This equipment has been tested and found to comply with the limits for a class B digital device, pursuant to part 15 of the FCC Rules. These limits are designed to provide reasonable protection against harmful interference in a residential installation. This device uses and can radiate radio frequency energy and, if not installed and used in accordance with the included instructions, may cause harmful interference to radio communications. However, there is no guarantee that interference will not occur in a particular installation. If this device does cause harmful interference to radio or television reception, which can be determined by turning the device off and on, the user is encouraged to try to correct the interference by one or more of the following methods:
- Reorient or relocate the device.
- Increase the separation between the device and the receiver.
- Connect the device to an electrical outlet on a circuit different from which the radio receiver is connected.
- Consult the dealer or an experienced radio/TV technician for help.
Please note that the changes or modifications of this product is not expressly approved by the party responsible for compliance could void the user’s authority to operate the equipment.


























