
VIEO™ RV 51/52
INSTALLATION INSTRUCTIONS
Important Safety Information
WARNING
See the Important Safety and Product Information guide in the product box for product warnings and other important information.
CAUTION
Failure to follow these cautions could result in damage to the vehicle or poor product performance.
This device must be installed according to these instructions.
Disconnect the vehicle’s power supply before beginning to install this product.
Before applying power to this product, make sure it has been correctly grounded according to the installation instructions.
You must read all installation instructions before beginning the installation. If you experience difficulty during the installation, contact Garmin® Product Support.

GUID-4F264AA7-30E5-4F0C-AD74-0C8DE09EE764 v4
Connector Identification
Connector Identification (Video RV 51)

| Item | Label | Description | Connector Details |
| 1 | ZONE 1 LINE OUT | Line out connectors for zone 1 | Left (white), right (red), and subwoofer (orange) RCA connectors |
| 2 | ZONE 2 LINE OUT | Line out connectors for zone 2 | Left (white), right (red), and subwoofer (orange) RCA connectors |
| 3 | None | Wiring harness connec tors | Connects to the included and optional wiring harnesses |
| 4 | None | AM/FM antenna connector | Connects to either the vehicle’s AM/FM antenna cable or an inline adapter attached to the vehicle’s AM/ FM antenna cable |
| 5 | SiriusXM | SiriusXM® port | Connects to a compatible SiriusXM Connect vehicle tuner and antenna (sold separately) |
| 6 | ![]() | USB (500 mA) | Reserved for manufacturer use Compatible only with low-current (<500 mA) USB devices |
| 7 | iPhone/iPod | USB (1 A) | Interfaces with and charges supported smartphones and USB devices |
| 8 | AUX 1 INPUT | Auxiliary input 1 | Left (white) and right (red) RCA connectors |
| 9 | CAMERA AUDIO INPUT | Input for camera audio | Left (white) and right (red) RCA connectors |
| 10 | None | RJ-45 | Supports Ethernet connectivity |
| 11 | CAN 1 | CAN BUS 1 | Connects to RV control systems using an adapter (sold separately) |
| 12 | CAN 2 | CAN BUS 2 | Reserved for vehicle integration Connects to supported chassis CAN systems using an adapter cable to support steering wheel controls |
| 13 | VIDEO IN | Analog camera video input | 4 RCA video connectors Connect to up to four vehicle cameras, including forwarding, left view, right view, and backup cameras |
| 14 | MIC | Microphone input | 3.5 mm mono microphone port Connects to the included microphone for hands-free calling |
Connector Identification (Video RV 52)

| Item | Label | Description | Connector Details |
| 1 | ZONE 1 LINE OUT | Line out connectors for zone 1 | Left (white), right (red), and subwoofer (orange) RCA connectors |
| 2 | ZONE 2 LINE OUT | Line out connectors for zone 2 | Left (white), right (red), and subwoofer (orange) RCA connectors |
| 3 | None | Wiring harness connec tors | Connects to the included, optional wiring harnesses |
| 4 | AM/FM/DAB | AM/FM/DAB connector (default source) | Connects to a compatible antenna. Must be used for AM band (default) |
| 5 | FM/DAB | Connector for alternate FM, FM, and DAB, or DAB antenna | Connects to a dedicated FM, FM, and DAB, or DAB antenna if reception is not covered by the AM/FM/DAB antenna (requires menu reconfiguration) |
| 6 | ![]() | USB (500 mA) | Reserved for manufacturer use Compatible only with low-current (<500 mA) USB devices |
| 7 | iPhone/iPod | USB (1 A) | Interfaces with and charges supported smartphones and USB devices |
| 8 | AUX 1 INPUT | Auxiliary input 1 | Left (white) and right (red) RCA connectors |
| 9 | CAMERA AUDIO INPUT | Input for camera audio | Left (white) and right (red) RCA connectors |
| 10 | None | RJ-45 | Supports Ethernet connectivity |
| 11 | CAN 1 | CAN BUS 1 | Connects to RV control systems using an adapter (sold separately) |
| 12 | CAN 2 | CAN BUS 2 | Reserved for vehicle integration Connects to supported chassis CAN systems using an adapter cable to support steering wheel controls |
| 13 | VIDEO IN | Analog camera video input | 4 RCA video connectors Connect to up to four vehicle cameras, including forward, left view, right view, and backup cameras |
| 14 | MIC | Microphone input | 3.5 mm mono microphone port Connects to the included microphone for hands-free calling |
Wiring Harnesses
Power and Speaker Wiring Harness
The power and speaker wiring harness contain the main power and speaker connections for the system. The harness connects directly to stereo 1 and to the vehicle wiring harness 2 without modification. You can use this diagram to troubleshoot or to address non-default installation requirements. Wiring harnesses may vary based on installation requirements.

| Wire Color | Function | Notes |
| Yellow | Power (+) | Connects to the positive terminal of a 12 Vdc power source capable of supplying 15 A. |
| Red | Ignition | Connects to a separately-switched, 12 Vdc connection, such as an ignition bus, to turn the stereo on. |
| Orange | None | Reserved for future use. |
| Black | Ground (-) | Connects to the negative terminal of a 12 Vdc power source capable of supplying 15 A. You should connect this wire before connecting the yellow wire. All accessories connected to the stereo must share a common ground location. |
| Blue | Amplifier on | Connects to optional external amplifiers, enabling them to turn on when the stereo turns on. |
| Brown | None | Reserved for future use. |
| Pink | Reverse | Connects to an analog high signal, such as the reverse light, to activate the backup camera when the vehicle is placed in reverse. |
| Red/black | House | Connects to a 12 Vdc connection for the RV house power to turn the stereo on when the house power is turned on. |
| White | Speaker zone 1 left (+) | |
| White/black | Speaker zone 1 left (-) | |
| Gray | Speaker zone 1 right (+) | |
| Gray/black | Speaker zone 1 right (-) | |
| Green | Speaker zone 2 left (+) | |
| Green/black | Speaker zone 2 left (-) | |
| Purple | Speaker zone 2 right (+) | |
| Purple/black | Speaker zone 2 right (-) |
Freightliner® Power and Speaker Wiring Harness
The Freightliner power and speaker wiring harness connect directly to the CAN bus 2.0 system 1 to support steering wheel controls. This wiring harness is available for the Freightliner M2 and Cascadia vehicles.

Line Out Wiring Harness
The line-out wiring harness (sold separately) outputs audio to an external amplifier for zones 3 and 4.

| Label | Function | RCA connectors |
| ZONE 3 | Outputs analog audio to an external amplifier for zone 3. | Left (white), right (red), and sub (orange) |
| ZONE 4 | Outputs analog audio to an external amplifier for zone 4. | Left (white), right (red), and sub (orange) |
| AUX IN 2 | Not used. These connectors are not active for the Video RV 51/52 product model. You must use the CAMERA AUDIO INPUT connector on the back of the stereo instead. | Not used |
Analog Signal Wiring Harness

| Wire color | Pin | Function | Notes |
| Green | 1 | Analog input 1 | Connects to the steering wheel controls. Not available for all vehicles. Contact the RV manufacturer for more information. |
| Purple | 2 | Analog input 2 | Connects to the steering wheel controls. Not available for all vehicles. Contact the RV manufacturer for more information. |
| Black | 4 | Analog input ground | The ground wire for analog steering wheel control inputs. |
| Orange | 5 | Right camera trigger | Connects to an analog high signal, such as the right turn signal, to trigger the device to display the right-side camera. |
| Blue | 6 | Left camera trigger | Connects to an analog high signal, such as the left turn signal, to trigger the device to display the left side camera. |
| Brown | 7 | Front camera trigger | Connects to an analog high signal to trigger the device to display the front camera. |
| Black | 9 | Camera trigger ground | The ground wire for the camera trigger inputs. |
Connecting Vehicle and Backup Cameras
You can connect up to four analog vehicle cameras to the infotainment system for backup, left, right, and front cameras.
- For each camera, route the camera’s RCA analog video cable to the back of the You should clearly label each cable for reference when you are connecting them to the stereo.
- For each camera, determine the analog high signal that should trigger the stereo to display the camera, and route a wire for that signal to the back of the, For example, you can use a reverse signal to trigger the backup camera when the vehicle is put in reverse, or you can use a turn signal to trigger a side mirror camera.
- Connect each RCA analog video cable to the VIDEO IN connectors on the back of the stereo, as shown.

1 Front camera 2 Left camera 3 Right camera 4 Backup camera Connect the analog high signal wire for the backup camera to the pink REVERSE wire of the power and speaker wiring harness (Power and Speaker Wiring Harness, page 4).
- Connect the analog high signal wire for each of the other cameras to the appropriate camera detect wire of the analog signal detect harness (Analog Signal Wiring Harness, page 6).
NOTE: If you do not want to trigger a camera automatically, you should leave that camera to detect wire disconnected.
| Harness wire color | Camera |
| Blue | Left camera |
| Orange | Right camera |
| Brown | Front camera |
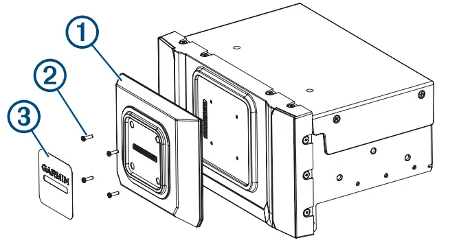
Attaching the Display Adapter to the Dock (7-inch Models Only)
You should attach the adapter to the dock before you install the dock in a dashboard.
- Place adapter 1 on the front of the dock, aligning the four screw holes on the adapter with the dock.
Using the included screws 2, secure the adapter to the dock.
The recommended torque applied to the adapter screws is 3.0 to 3.5 lbs in. (0.34 to 0.40 N-m).- Adhere the adapter label 3 to the front of the adapter.
Dock Installation
You must use the appropriate fit kit (sold separately) to install the device dock into a specific vehicle type.
Each fit kit includes the hardware required to attach the mounting brackets to the dock. The product package does not include the hardware to attach the bracket to the dashboard or the dashboard panel.
Installing the Bracket on the Dock for Mercedes-Benz® Sprinter™ Vehicles
- Place each bracket 1 on the dock, aligning the holes on the bracket with the holes on the dock.
Using the included screws 2, secure each bracket to the dock.
The recommended torque you should apply to the screws is 5.0 to 6.0 lbs in. (0.56 to 0.68 N-m).- Install the dock into the dashboard using the appropriate hardware (not included).
- Attach the included bezel to the front of the dock.
- If necessary, install all remaining dashboard components.
Installing the Bracket on the Dock for Freightliner M2 Vehicles
- Place each bracket 1 on the dock, aligning the holes on the bracket with the holes on the dock.

- Using the included screws 2, secure each bracket to the dock.
The recommended torque you should apply to the screws is 5.0 to 6.0 lbs in. (0.56 to 0.68 N-m). - Install the dock into the dashboard using the appropriate hardware (not included).
- Attach the included bezel to the front of the dock.
- If necessary, install all remaining dashboard components.
Installing the Bracket on the Dock for IVECO™ Vehicles
- Place each bracket 1 on dock 2, aligning the holes on the bracket with the holes on the sides of the dock.

- Using the included screws 3, secure each bracket to the sides of the dock.
The recommended torque you should apply to the screws is 5.0 to 6.0 lbs in. (0.56 to 0.68 N-m). - Attach the bracket and dock to the dashboard using the appropriate hardware (not included).
- Attach the included bezel to the front of the dock.
- If necessary, install all remaining dashboard components.
Installing the Bracket for FIAT™ Ducato Vehicles
- Place the upper bracket 1 on dock 2, aligning the holes in the bracket with the holes on the top of the dock.

- Using the included screws 3, secure the bracket to the top of the dock.
The recommended torque you should apply to the screws is 5.0 to 6.0 lbs in. (0.56 to 0.68 N-m). - Repeat this procedure for the side brackets 4.
- Install the upper and lower chassis brackets 5 onto the dashboard.
- Install the dock onto the dashboard using the appropriate hardware.
- Attach the included bezel to the front of the dock.
- If necessary, install all remaining dashboard components.
Freightliner Cascadia Installation
You can install the device in two possible locations on the Freightliner Cascadia dashboard.
Left center panel (Installing the Device in the Left Center Panel, page 11)- Right single-DIN panel and gauge area (Installing the Device in the Right Single DIN Panel and Gauge Area, page 13)
Installing the Device in the Left Center Panel
You can use the included hardware to flush-mount the device in the left-center panel opening on a Freightliner
Cascadia vehicle.
- Remove the dashboard front panel.
- Secure the mounting plate 1 to the dashboard using the four screws from the vehicle compartment.

- Secure the mount cover 2 to the mounting plate using two of the included M3 screws 3.
- Replace the dashboard front panel.
- Place each bracket 4 on dock 5, aligning the holes in the bracket with the holes on the dock.

- Using the included M5 screws 6, secure each bracket to the dock.
You should apply a recommended torque of 5.0 to 6.0 lbs in. (0.56 to 0.68 N-m) to the screws. - Connect all necessary cables to the device before placing it into the mount.
- Place the device into the mount.
- Secure the brackets to the mount cover using the included M3 screws 7.

- Install the decorative bezel 8 by snapping it in place around the edges of the device.
Installing the Device in the Right Single DIN Panel and Gauge Area
You can use the included template and hardware to flush-mount the device in the single-DIN panel and gauge area with dashboard modifications.
NOTICE
Avoid wires, gauges, airbags, airbag covers, HVAC, and other items when cutting the dashboard and attaching the mount to the vehicle. Garmin is not responsible for any damages or consequences arising from the installation.
- Place each bracket 1 on dock 2, aligning the holes in the bracket with the holes on the dock.

- Using the included M5 screws 3, secure each bracket to the dock.
You should apply a recommended torque of 5.0 to 6.0 lbs in. (0.56 to 0.68 N-m) to the screws. - Remove the dashboard front panel.
- Trim the mounting template, and confirm the device will fit in the mounting location.
- Secure the template to the mounting location.
- Using a jigsaw or rotary tool, cut the mounting surface along the dashed line on the template.
- Place the device in the cutout to test the fit.
- If necessary, refine the size of the cutout and remove extra material from the inside of the dashboard.
- After the device fits correctly in the cutout, verify the mounting holes on the device line up with the pilot holes on the template.
- If the mounting holes on the device do not line up, mark the new pilot-hole locations.
- Using a 1.5 mm (#53) drill bit, drill the pilot holes.
- Remove the template from the mounting surface.
- Install the support bracket at the base of the cutout in the dashboard (not included).
- Replace the dashboard front panel.
- Connect all necessary cables to the device before placing it into the cutout.
- Place the device into the cutout.
- Secure the device to the mounting surface using the included M3 screws 4.
- Install the decorative bezel 5 by snapping it in place around the edges of the device.
Installing the Device in a Dodge ProMaster
- Place the upper bracket 1 on dock 2, aligning the holes in the bracket with the holes on the top of the dock.

- Using the included screws 3, secure the bracket to the top of the dock.
The recommended torque you should apply to the screws is 5.0 to 6.0 lbs in. (0.56 to 0.68 N-m). - Repeat this procedure for the side brackets 4.
- Attach the clip-on nuts 5 to the bottom edge of the dashboard, and attach the chassis bracket to the clip-on nuts using the included screws.
- Attach the upper chassis bracket 6 to the dashboard using the existing screws in the vehicle dashboard.
- Attach the dock to the dashboard using the included screws.
- Attach the included bezel to the front of the dock.
- If necessary, install all remaining dashboard components.
Installing the Device on a Wall
The included template and hardware can be used to flush mount the device on the wall in your recreational vehicle.
WARNING
Always be sure of your mounting location before cutting into a wall. Recreational vehicle walls may contain utility lines. Failure to understand what is behind your mounting surface could result in damage to the vehicle, injury, or death.
NOTICE
Wall-mount kits are intended for wall-mount installations only. Do not attempt to install this device in a vehicle dashboard using a wall-mount kit.
The wall-mount bracket includes the hardware required to attach the dock to a wooden surface. If you are mounting the device on a different material, you should use suitable hardware for your mounting surface.
- Place each bracket 1 on dock 2, aligning the holes in the bracket with the holes on the dock.

- Using the included M5 screws 3, secure each bracket to the dock.
The recommended torque you should apply to the screws is 5.0 to 6.0 lbs in. (0.56 to 0.68 N-m). - Trim the template and confirm the device will fit in the location where you want to mount it.
- Secure the template to the mounting location.
- Using a jigsaw or rotary tool, cut the mounting surface along the dashed line on the template.
- Place the device in the cutout to test the fit.
- If necessary, refine the size of the cutout.
- After the device fits correctly in the cutout, verify the mounting holes on the device line up with the pilot holes on the template.
- If the mounting holes on the device do not line up, mark the new pilot-hole locations.
- Using a 1.5 mm (#53) drill bit, drill the pilot holes.
- Remove the template from the mounting surface.
- If you will not have access to the back of the device after you mount it, connect all necessary cables to the device before placing it into the cutout.
- Place the device into the cutout.
- Secure the device to the mounting surface using the included M3 screws 4.
- Install the decorative bezel 5 by snapping it in place around the edges of the device.
Stereo Information
Specifications
| Display Specifications | |
| Operating temperature range | From -20 to 55°C (from -4 to 131°F) |
| Charging temperature range | From 0 to 45°C (from 32 to 113°F) |
| Wireless frequency/protocol | 2.4 GHz @ 15 dBm nominal |
| Power input | Vehicle power using the included vehicle power cable. AC power using an optional accessory (for home and office use only). |
| Battery type | Rechargeable lithium-ion |
| Dock Specifications | |
| Operating temperature range | From -10 to 55°C (from 14 to 131°F) |
| Storage temperature range | From -20 to 70°C (from -4 to 158°F) |
| Input voltage | From 10.8 to 16 Vdc |
| Current (max.) | 15 A |
| Current (standby mode) | Less than 5 mA |
| Fuse | 15 A mini blade type |
| Wireless frequency/protocol | 2.4 GHz @ 7.9 dBm nominal |
| On-board, Class D Amplifier | |
| Output music power per channel | 4 x 70 W max. 2 ohm |
| Total output peak power | 280 W max. |
| Output power per channel | 4 x 43 W RMS at 14.4 Vdc input, 2 ohms, 10% THD1 4 x 26 W RMS at 14.4 Vdc input, 4 ohms, 10% THD1 |
| Line output level (max.) | 5.5 V (peak to peak) |
| Aux. input level (typical) | 1 V RMS |
| Tuner | Europe and Australasia | USA |
| FM radio frequency range | 87.5 to 108 MHz | 87.5 to 107.9 MHz |
| FM frequency step | 50 kHz | 200 kHz |
| AM radio frequency range | 522 to 1620 kHz | 530 to 1710 kHz |
| AM frequency step | 9 kHz | 10 kHz |
© 2020 Garmin Ltd. or its subsidiaries
Garmin®, the Garmin logo, Fusion®, and the Fusion logo are trademarks of Garmin Ltd. or its subsidiaries, registered in the USA and other countries. Vieo™ is a trademark of Garmin Ltd. or its subsidiaries. These trademarks may not be used without the express permission of Garmin.
1 The stereo may limit the output power to prevent the amplifier from overheating, and to maintain the audio dynamics.
Android™ is a trademark of Google Inc. Apple®, the Apple logo, iPod®, iPhone®, and Mac® are trademarks of Apple Inc., registered in the U.S. and other countries. Bluetooth® word mark and logos are owned by the Bluetooth SIG, Inc. and any use of such marks by Garmin is under license. Dodge is a registered trademark of FCA US LLC. Freightliner®, Mercedes-Benz®, and Sprinter™ are registered trademarks of Daimler AG. FIAT™ is a trademark of FCA Group Marketing S.P.A. Corporation Italy.
IVECO™ is a trademark of IVECO S.P.A. LLC, Turin, Italy. microSD® and the microSDHC logo are trademarks of SD-3C, LLC. SiriusXM® is a registered trademark of SiriusXM Radio Inc. Wi‑Fi® is a registered trademark of Wi-Fi Alliance Corporation.
© 2020 Garmin Ltd. or its subsidiaries


Using the included screws 2, secure the adapter to the dock.
Using the included screws 2, secure each bracket to the dock.


Left center panel (Installing the Device in the Left Center Panel, page 11)
























