PERLESMITH TV Cart

IMPORTANT SAFTY INFORMATION
- Please read through these instructions completely before attempting installation. If you do not understand the instructions or have any concerns or questions, please contact customer service at [email protected]
- Check package contents against Supplied Parts and Hardware List to assure that all components were received undamaged. Do not use damaged or defective parts. lf you require replacement parts, contact customer service at [email protected]
- Not all parts and hardware included will be used.
- Do not use this product for any purpose or in any configuration not explicitly specified in this instruction. We hereby disclaim any liability for injury or damage arising from incorrect assembly, incorrect mounting, or incorrect use of this product.
- Please check www.perlesmith.com for more products and company information.
TIP OVER WARNING
SERIOUS OR FATAL CRUSHING INJURIES CAN OCCUR FROM TIP OVER. TO HELP PREVENT TIP OVER:
- NEVER ALLOW CHILDREN TO CLIMB, STAND, HANG, OR PLAY ON ANY PART OF TV OR TV CART.
- USE TIP OVER RESTRAINT OR ANCHOR STAND TO WALL
USE OF TIP OVER RESTRAINTS MAY ONLY REDUCE, BUT NOT ELIMINATE RISK OF TIP OVER.
Check the VESA Pattern of Your TV before You Begin the Installation

If your TV VESA is greater than 600×400 mm/23×16 in. or less than VESA 200×100 mm/8×4 in., this TV cart is NOT compatible.
TOOLS NEEDED (NOT lNCLUDED)

SUPPLIED PARTS AND HARDWARE
Supplied Parts

Hardware for Assembling the TV Cart

Hardware for Attaching TV Brackets to TV

STEP 1: Assemble the Base

Secure the base using bolts and washers [A1]. Attach casters [B2] to the square tubes [A2] using the provided allen key [I1].

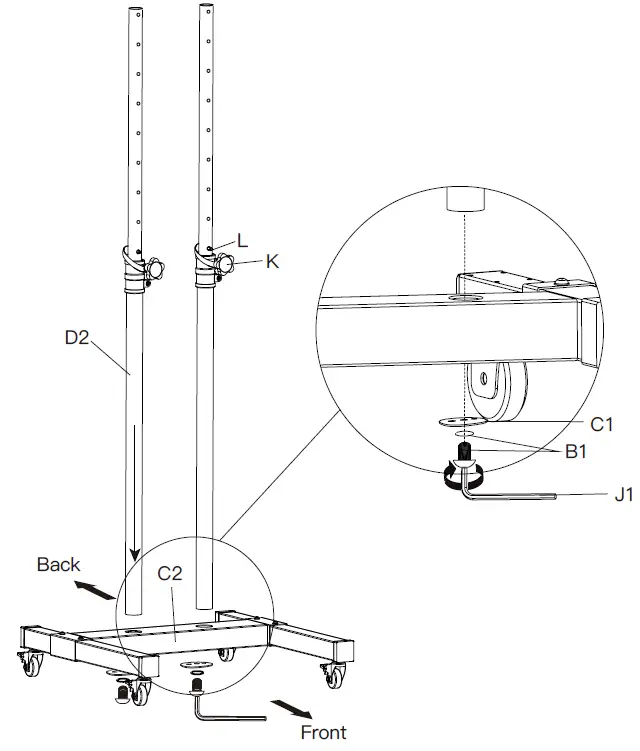
STEP 2 Secure Pole Assembly to Base
Adjust the height of the pole assembly.
Loosen the knobs then stretch the upper poles from the lower poles.

Adjust the upper poles to your desired height.
Note: Please note that the height of the two upper poles should be the same.

Insert the latches [L] into the holes nearest to the connecting part of upper pole and lower pole then fasten the knobs [K] to fix the two upper poles in place.

Secure the 2pcs poles assemblies [D2] to the tube and pole connector [C2] using bolts and ring [B1], washers with 3 holes [C1] and Allen key [J1].

Install the Square Plate to Upper Poles
Secure the square plate [I2] to the support plate [H2] via the holes on the upper poles using bolts and washers [D1] and nuts [E1].
Secure the TV Brackets to TV

If the provided bolts are not compatible with your TV, or if you need the M4 or M5 bolts, please contact us at: [email protected]

Bolt length: Verify adequate thread engagement with bolts or bolts/spacers combination.
We recommend thread engagement by at least 5 turns.
- Too short will not hold the TV.
- Too long will damage the TV.

Note:
- If necessary, the spacers can be used in multi-layer. If the installation fails after trying various methods, please contact customer service at [email protected].
- Make sure the TV brackets are EQUALLY CENTERED on your TV AND securely fastened in place.
Select Spacers (if needed)


Secure the Knobs [H1] to the Brackets [J2]

Note:
- The preassembled nuts [S] on the brackets can be loosened by hand.
- Remove the pre-assembled nuts [S] on the brackets, then secure the knobs [H1] to the brackets.
Secure the TV Brackets to Your TV

Secure the TV onto the Square Plate
- Hang the TV with brackets to the square plate.
- Push the bottom of the TV to square plate.

- Tighten the bolts preassembled on the brackets until the bolts touch the square plate.

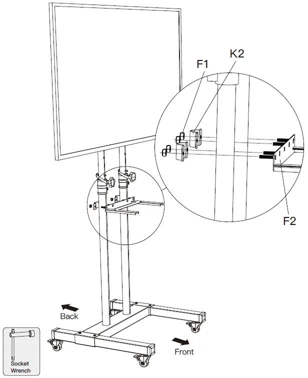
Secure the Glass Shelf Support to the Lower Poles
Secure the glass shelf support [F2] to the lower poles using shelf support connector [K2] and nuts [F1].

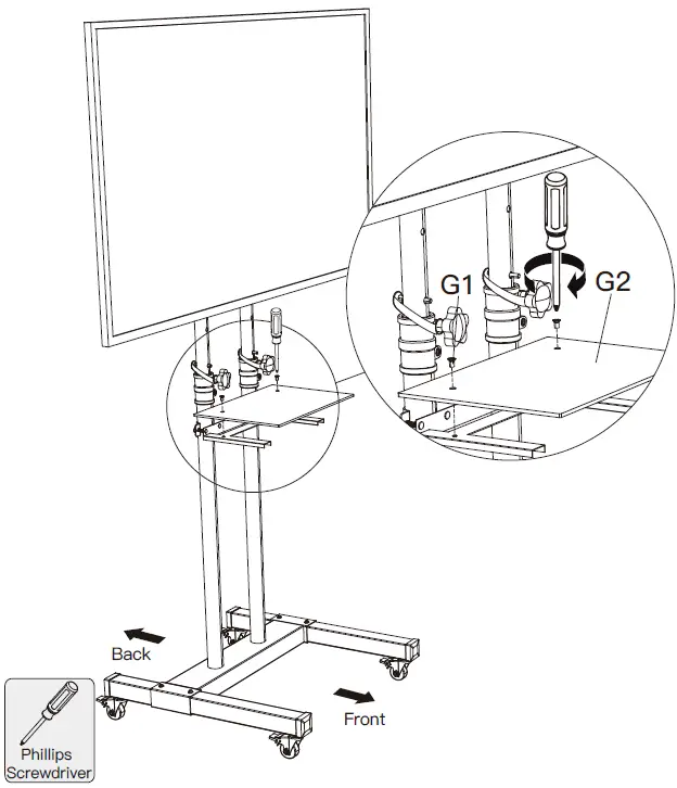
Install the Glass Shelf
Tighten bolts [G1] to secure glass shelf [G2] to glass shelf support [F2].
Note: Please do not over-tighten the bolts [G1] or use electric drill to prevent the glass shelf [G2] from breaking.

Adjustments:
Tilt Adjustment
NOTE: DO NOT OVER-LOOSEN THE KNOBS.
- Loosen the tilt knobs [H1] on both sides.

- Adjust the TV tilt position.
- Tighten tilt knobs [H1] until the TV can stay at the desired tilt angle.

Height Adjustment
Warning: The TV should be removed from the square plate before adjusting the height of the poles.

- Take off the latches [L] and loosen the knobs [K].

- Adjust the two upper poles to your desired height. Please note that the two upper poles should be adjusted at the same time.
- Insert the latches [L] into the holes nearest to the connecting part of upper pole and lower pole, then tighten the knobs [K] and to fix the two upper poles in place.

Thank you again for choosing this Perlesmith product!

All of us at Perlesmith do appreciate your product purchase. We hope that you are as happy with your product as we are designing and manufacturing it for you. We strive to provide you with the best quality products and services in the industry. Please share your experience of our product with others at www.perlesmith.com/pages/reviews if you are satisfied. If you have any questions please don’t hesitate to contact us at
Technical Support: 1-800-556-6806 Mon-Fri 10am – 5pm (PST) (USA) (CAN)
Other Info: [email protected] (US/CA/DE/UK/FR/IT/ES/AU)
Please check www.perlesmith.com for more products and company information.

Secure the TV Brackets to TV





















