KEISER A350 Seated Butterfly Strength Training Machine
INTRODUCTION
Congratulations on the purchase of your new Keiser Air350 Biaxial Chest Press and welcome to the Keiser family. Keiser’s Dynamic Variable Resistance safely builds strength at any speed, which is key to building maximum power. For your safety, and to ensure the best experience and maximum gains, it is critical that you read and understand this manual before you begin using the Air350 Biaxial Chest Press. If you have any questions regarding the operation of the Air350 Biaxial Chest Press after reading this manual, our Keiser Customer Support team will be happy to assist by telephone at 1 559 256 8000 and via live chat at keiser.com/support (Monday—Friday, 9 am to 5 pm Pacific Time), or by email at service@keiser.com.
Yours in Health,
Keiser Corporation
REGISTER YOUR PURCHASE
Register your Air350 Biaxial Chest Press to stay informed of safety notifications and for faster, more accurate warranty service.
Scan the QR Code to the right to access the interactive online warranty registration form or visit:
https://www.keiser.com/forms/warrantyregistration
SERIAL NUMBER INFORMATION
Please take a moment at this time to record the serial number in the space provided below.
Serial No.:

IMPORTANT SAFETY INFORMATION
It is the sole responsibility of the purchaser of Keiser Corporation equipment to instruct all individuals, whether they are the end-user or supervising personnel, on proper usage of the equipment. Keiser Corporation recommends that all users of its equipment be informed of the following information before use.
- Read these instructions.
- Heed all warnings.
- Follow these instructions.
- Consult your physician before beginning any exercise program.
- The Air350 Biaxial Chest Press is intended for use in training areas of organizations where access and control are specifically regulated by a person responsible for determining the suitability of use and maintenance.
- Maximum user weight limit: 441 lbs (200 kg).
- Use the Air350 Biaxial Chest Press indoor in a climate-controlled environment only. Keep away from areas of extreme humidity.
- The use of this Air350 Biaxial Chest Press for any purpose not explicitly specified by the manufacturer in this manual is prohibited.
- Wear proper exercise clothing and shoes for exercise. Avoid wearing loose clothing that might catch on any moving parts. Tie long hair back.
- The Air350 Biaxial Chest Press is not a toy. Children shall not play with the Air350 Biaxial Chest Press. Children under 14 years old should not use the Air350 Biaxial Chest Press. Keep children and pets clear from the Air350 Biaxial Chest Press at all times, especially while in use. Cleaning and user maintenance shall not be performed by children.
- The Air350 Biaxial Chest Press can be used by children age 14 years and above. Persons with mental disabilities, reduced physical, mental, or sensory capabilities, or lack of experience or knowledge should not use the Air350 Biaxial Chest Press without constant supervision by a spotter/supervisor.
- Proper warm-up required to help prevent injury. This Air350 Biaxial Chest Press should only be used with proper instructions. Always maintain good form and control during exercise. If you feel pain or are unable to maintain good form, stop immediately. Failure to follow these instructions could result in injury.
- Always maintain control of the Handles (Exercise Arms) during exercise. The sudden release of the Exercise Arms during exercise will cause the Exercise Arms to recoil uncontrollably toward the user and could result in serious injury or property damage. Bring the Exercise Arms to the start position in a controlled manner to safely end exercise. If at any time you are not able to control the amount of resistance during exercise, push the left (“-”)Thumb Button to reduce the resistance.
- Never perform Power Test without a proper warm-up. This high resistance/high-speed test should only be performed with proper instructions (see page 14 “Power Test” for complete instruction). Always maintain good form and control during the test. If you feel pain or are unable to maintain good form, stop immediately. Failure to follow these instructions could result in injury.
- Never make adjustments to the machine during exercise as this may cause muscle strain. Always return the Exercise Arms to the start position before making any adjustments to help prevent injury.
- The highest level of safety can only be ensured if the equipment is regularly inspected for damage and wear. Always check the equipment before use for proper function and any damaged, worn, or broken parts. Immediately replace damaged, worn, or broken parts. Do not use the Air350 Biaxial Chest Press until all repairs have been completed and tested by a Keiser-certified technician.
- Use only replacement parts supplied/recommended by Keiser Corporation. Attempting to repair or replace any damaged, worn, or broken parts on your own is not recommended. A Keiser-certified technician should be consulted.
- The use of any exercise equipment, including, without limitation, Keiser’s strength training equipment in which resistance can be changed at any time during the repetition, without proper instruction and supervision violates the terms of the agreement for the purchase of such products. The ability to add resistance anytime during a repetition, including, without limitation, the ability to do a heavy negative may be dangerous, especially for anyone that does not recognize or respect the potential danger.
- Users, agents, and/or anyone directing the use of the Air350 Biaxial Chest Press shall determine the suitability of the Air350 Biaxial Chest Press for its intended use, and said parties are specifically put on notice that they shall assume all risk and liability in connection herewith.
- If you do not understand these instructions or have doubts about the safety of the installation, assembly, or use of this product, contact Keiser Customer Support:
- 1 559 256 8000
- [email protected]
- keiser.com/support
Telephone and Live Chat Monday—Friday 9 am to 5 pm PST
CONVENTIONS USED
This Operation Manual contains the following marks:
WARNING: Indicates a hazardous situation that, if not avoided, could result in death or serious injury.
CAUTION: Indicates a hazardous situation that, if not avoided, could result in minor or moderate injury.
IMPORTANT: Indicates information considered critical, but not hazard-related.
SAFETY AND NOTIFICATION LABELS
Maintain and do not remove safety or notification labels for any reason. They contain important information. If unreadable or missing, contact Keiser Corporation for a replacement (see back cover for contact information).
TECHNICAL SPECIFICATIONS
EQUIPMENT SPECIFICATIONS
See Figure 2 for Air350 Biaxial Chest Press dimensions and weight.
- Resistance Range 0 – 304 lbs (0 – 138 kg), change resistance in 1 lb/kg increments
- Adjustable Exercise Arms, independent action
- Adjustable Seat height
- Maximum user weight limit: 441 lbs (200 kg)

TECHNICAL DATA
AIR STORAGE TANK
The equipment contains an air storage tank (air accumulator) with the following operating parameters:
- Maximum working pressure:
- 125 psi (8.6 bar)
- Maximum working temperature:
- 104ºF (40ºC)
- Minimum working temperature:
- 32ºF (0ºC)
- Maximum vessel capacity:
- 300 in3 (4.9 L)
POWER
- 1.5V D Alkaline Batteries (quantity 2, Keiser PN 966500)
- 3V CR2032 Lithium Coin Cell Battery (quantity 1) Permanently attached, not serviceable. Contact Keiser Customer Support for service.
KEISER CHIP SYSTEM
- The Chip insertion slot receives the Keiser eChip (electronic memory chip) for data transfer and storage No assembly required. Place the Air350 Biaxial Chest Press on a flat, level surface. Make sure the base of the frame makes full contact with the floor. If gaps are present, relocate the equipment to an even surface.
INSTALLATION AND PLACEMENT
CONNECT THE EQUIPMENT TO THE KEISER AIR SYSTEM
WARNING: Never connect equipment to an air source capable of exceeding 120 psi / 8.27 bar. Over pressurizing Keiser pneumatic equipment may cause tubing to burst, breakage of equipment, abnormal operation, or serious injury. Use only clean, dry, regulated compressed air at the rated pressure range of 100–120 psi / 6.89–8.27 bar.
- Plug the Compressor into the appropriate power source to power the Compressor ON (allow the Compressor to build up to a minimum of 100 psi / 6.89 bar; Keiser Compressor and Keiser Air System not included, sold separately).
- Connect the 1/4-inch Quick Disconnect (QD) from the equipment into the Keiser Air Supply (see Figure 3).

TRAINING SPACE
The equipment footprint is 58 inches x 43 inches (1,473 mm x 1,092 mm). The minimum recommended free space around the equipment is 24 inches (610 mm) for the sides.
Note: Additional Free Space may be required to accommodate mobility device access.
OPERATION
EQUIPMENT OVERVIEW
- Increase/Decrease (+/-) Thumb Buttons
- Power Display
- Adjustable Seat
- Anti-Slip Steps
- Quick Disconnect (QD) with Tube
- Seat Back
- Processor Box
- Exercise Arms
- Air Tank
- Arm Adjustment (Plunger Knobs)
- Cylinders
- Chip
- Instruction Placard (not shown)
POWER DISPLAY
Figure 6. Power Display Overview
When using the eChip, ensure that it is fully inserted into the slot as shown.
CAUTION
Rate monitoring systems may be inaccurate. Over exercising may result in serious injury or death. If you feel faint stop exercising immediately. “Peak Power” not suitable for use in applications where the health and safety of a patient may be dependent on the accuracy of those parameters. Use of the exercise Target program requires medical supervision and compliance with exercise testing guidelines.
DISPLAY FEATURES
LINE 1 – RESISTANCE
The Resistance window displays the current resistance or OFF. Adjust the resistance using the (+/-) Thumb Buttons located on the Handles. When the window displays OFF, the machine enters a low power onsumption sleep mode to increase battery life. Normal operation may be resumed by pressing either Thumb Button or by inserting the eChip. If this window displays the low battery signal (“Lo-bA”), the batteries are getting weak and should be replaced soon (D batteries, quantity 2; refer to page 16 “Battery Replacement” for complete instructions).
LINE 2 – SET OR REPETITIONS
This window displays the current repetition count except immediately after an eChip is first inserted, in which case it displays the current set. The set count may range from 1 to 9 and is signaled by the appearance of three horizontal bars in the left digit. The number of sets is defined as the number of sets of exercises performed in a four-hour period. Once four hours have passed, the machine assumes that the user is returning for a new visit. The repetition count may range from 0 to 99. The repetition count may be reset by momentarily pressing both increase and decrease (+/-)Thumb Buttons simultaneously. In Power Test mode, the window will display the repetition count per test section (refer to page 14 “Power Test” for complete instructions).
LINE 3- TARGET REPS
The Target Reps window displays the number of repetitions performed on the corresponding set of the previous visit, if that set was a normal workout set and an eChip is inserted. If the corresponding set of the previous visit was a Power Test, the display will show “Pr.” When in Power Test mode, the window will display “P1” during the low resistance test set and “P2” during the high resistance test set (refer to page 14 “Power Test” for complete instructions).
LINE 4 – CURRENT POWER / PERCENT OF PEAK POWER
The Current Power window can display 4 different values. During an exercise set, it displays the percent of peak power achieved for the most recent repetition. At the end of a Power Test, this window displays the resistance to use to achieve maximum power. When an eChip is inserted and the previous corresponding set was a normal workout set, it displays the resistance used for that set. When an eChip is inserted, and the previous corresponding set was a Power Test, it displays the resistance to use to achieve maximum power. When the calculated resistance to achieve maximum power is being displayed, it flashes. In summary, during an exercise set, this window displays the power for the current rep, at the end of a Power Test it is the resistance to use for training at maximum power; when an eChip is inserted it is the resistance to set into the window above before exercising.
LINE 5 – PEAK POWER
The Peak Power window displays the highest power that has occurred during this workout or since the data was last reset.
LINE 6 – MACHINE ADJUSTMENT
When using the eChip, the Seat and Arm positions can be tracked and recorded. Press the arrows located directly above/below each window to input settings.
NOTE: The adjustment may only be changed immediately after the eChip is inserted and before the third repetition has occurred. Once three repetitions are performed, the machine adjustments cannot be changed until the eChip has been removed and reinserted. The machine adjustment applies to a machine and cannot be changed from set to set.
LINE 7 – eCHIP READER
The eChip Reader, located at the bottom right of the Power Display, receives and reads your eChip data.
LINE 8 – eCHIP
The eChip collects workout data and can store up to 24 separate equipment models (up to 4 equipment position settings per model) and up to 240 separate workout sets across Keiser Air and Infinity Series. Designed as an electronic replacement for the hand-written exercise card, the eChip enables recall and set-up of the exercise equipment upon the next workout. The Keiser eChip software allows saved eChip data to be viewed, stored, and exported (.csv file format) for analysis.
NOTE: Three user eChips (red color) come standard with your Air350 Biaxial Chest Press. The Keiser USB Power Kit (a USB adapter to transfer data from your eChip to your computer and Time Set eChips to set the time zone/time on your Air350 Biaxial Chest Press) is available. For parts order, contact Keiser Customer Support (see back cover for contact information). Keiser eChip software system requirements, download, and user manual available at keiser.com/support (search: eChip).
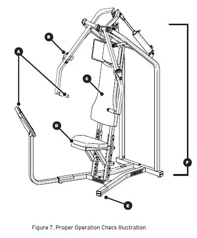
PROPER OPERATION CHECK
Check equipment condition and function before every workout:
- Thumb Buttons and Display — press Thumb Buttons to check for proper “+ / -” operation and the Display powers on*.
- Exercise Arms — move freely; Plunger Knobs engage properly; no loose parts in the linkage system.
- Upholstery — no excessive wear and are free of rips or tears.
- Seat Adjustment — functions and engages into setting positions properly (tilt up the front end of the Seat).
- Stability — equipment is level to a solid, flat surface.
- Air Leaks — no air leaks audible in the system.

Immediately replace damaged, worn, or broken parts. Do not use the Air350 Biaxial Chest Press until all repairs have been completed and tested by a Keiser-certified technician. * “Lo-bA” = Batteries are low, replace immediately. If batteries are dead (depleted), the Power Display remains blank (see Battery Replacement procedure, page 16).
HOW TO USE THE AIR350 BIAXIAL CHEST PRESS
- Adjust the Seat height until the Handgrips (Thumb Buttons) are in line with the middle of your chest and your feet rest flat on the floor.
- Adjust the Arm position to a accommodate your desired range of motion.
- Adjust the resistance with the Thumb Buttons.


HOW TO USE THE AIR350 BIAXIAL CHEST PRESS (CONTINUED)
CAUTION
- Consult your physician before beginning any exercise program.
- This equipment should only be used with proper instructions.
- Proper warm-up required to help prevent serious injury.
- Always maintain good form and control during exercise.
- If you feel pain, faintness, or are unable to maintain good form, stop immediately.
- Use caution when increasing/decreasing resistance during exercise.
- Never make adjustments to the machine during exercise. Failure to do so could result in serious injury.
CONCENTRIC PHASE (FORWARD MOVEMENT)
- Hold the Handgrips symmetrically; ensure the start position of the Exercise Arms are set symmetrically.
- Extend (push) arms forward at the same time and without locking your elbows; move arms at the same level.
- Maintain an upright position with your back in contact with the Seat Back.
ECCENTRIC PHASE (BACKWARD MOVEMENT)
- Return the Exercise Arms to the start position in a smooth, controlled manner.
- Slower speed during backward movement is recommended.
- Maintain control of the load; keep the Exercise Arms off the stops throughout the exercise.
BREATHING
- Exhale during the concentric phase (forward movement).
- Inhale during the eccentric phase (backward movement).
TRAINING TIPS
- Ensure your feet rest flat on the ground throughout exercise.
- Maintain the natural curvature of your spine.
- Avoid rocking your body to create momentum when pushing heavy loads.
- To perform exercise one arm at a time, grip the other Handgrip with your resting arm for stability during movement.
POWER TEST
CAUTION
- Test should only be performed with proper instruction.
- Never perform Power Test without proper warm-up.
- Always maintain good form and control throughout test.
- Rate monitoring systems may be inaccurate. Over exercising may result in serious injury or death. If you feel faint stop exercising immediately.
- “Current Power,” “Peak Power,” and “Percent of Peak Power” are not suitable for use in applications where the health and safety of a patient may be dependent on the accuracy of those parameters.
- The use of any exercise program requires medical consultation and compliance with exercise testing guidelines.
TEST PROTOCOL — The Power Test (KEISER Six-Rep Test) is used to determine the resistance at which you achieve MAXIMUM POWER. The test consists of two sets:
Perform all repetitions at the highest possible speed at the given resistance; speed is essential in power output.
Note: The Power Test may be performed with or without an eChip. Follow the Power Test instructions below:
- START TEST: Press and hold both Thumb Buttons until “6 r” (Test Mode) displays in the RESISTANCE window, then release the Thumb Buttons. NOTE: TARGET REPS window displays “P1” (Power Test Set 1).

- SET RESISTANCE, LOW LEVEL Set the resistance to 10% of your maximum.

- POWER TEST, SET 1 (P1) Do one repetition at maximum speed. Pause 10 seconds. Repeat two more times.

- SET RESISTANCE, HIGH LEVEL Increase the resistance to a high level (80-90% of your maximum).
NOTE: TARGET REPS window displays “P2” (Power Test Set 2).
You can adjust and test your resistance setting between the first and second rep. The rep count will reset to 1. - POWER TEST, SET 2 (P2) Do one repetition at maximum speed. Pause 10 seconds. Repeat 2 more times.

- TEST COMPLETE The flashing number is your Resistance setting for Maximum Power.

To exit Power Test or resume exercise, press both Thumb Buttons until “CLEr” is displayed or remove eChip.
TROUBLESHOOT
“Er” numbers 1 – 4 displayed in the CURRENT POWER window indicates not enough difference in resistance between the low and high sets. Try again with a greater difference in resistance between the low and high sets. To restart the Power Test, (a) reinsert eChip, if the eChip is being used, or (b) begin at Step 1 to repeat the procedure.
MAINTENANCE
CAUTION: SERVICE AND REPAIR SHALL ONLY BE PERFORMED BY KEISER-CERTIFIED TECHNICIANS. Failure to follow these instructions can result in serious injury.
PREVENTATIVE MAINTENANCE SCHEDULE
CAUTION: THE HIGHEST LEVEL OF EQUIPMENT SAFETY CAN ONLY BE ENSURED IF THE EQUIPMENT IS REGULARLY INSPECTED FOR DAMAGE AND WEAR. Immediately replace damaged, worn, or broken parts. Do not use the Air350 Biaxial Chest Press until all repairs have been completed and tested by a Keiser-certified technician.
|
Daily | • Check for safe and proper function of the equipment (perform “Proper Operation Check,” page 11). • Clean the chrome and paint where applicable. • Wipe down the equipment with a clean cloth. If necessary, use water and mild soap (neutral, non-caustic). Target areas that come in contact with sweat. Wipe dry the equipment. |
|
Weekly | • Check parts most susceptible to wear are not damaged or broken: – Upholstery, Linkage System, Thumb Buttons, and Hand Grips. • Wax chrome and paint where applicable; wax upholstery. • Clean Hand Grips. • Inspect Air Line Filter. |
|
Monthly | • Check externally visible screws are fastened properly with no looseness. • Clean and lubricate the Cylinder Rods. • Inspect Air Line for kinks, tears, or breaks. • Inspect Frame for any weakening in weld areas, and other connected areas. |
|
Quarterly | • Lubricate Pivot Bushings. • Inspect Exhaust Mufflers and Air Filter for discoloration; replace if necessary. • Verify compressor(s) cycle on/off between 100-120 psi (6.89–8.27 bar). |
|
Annually and other Required Maintenance | • For complete instructions, see page 17 “Annual Maintenance.” • Battery Replacement. The low battery signal (“Lo-bA”) will appear on the Power Display when it is time to replace the batteries. Refer to page 16 “Battery Replacement” for complete instructions. NOTE: Your Keiser Air Compressor (not included with your Air350 Biaxial Chest Press) requires basic annual maintenance. Contact Keiser Customer Support for Air Compressor operator manual or download at keiser.com/support (search: Air Compressor manuals). |
IMPORTANT: Do not use household or industrial cleaners as they contain caustic chemicals that can destroy the paint finish and cause corrosion. Use only mild soap/detergent (neutral, non-caustic) to clean. Contact Keiser Customer Support for replacement parts order, or for any matters regarding the safe operation of your Air350 Biaxial Chest Press (see back cover for contact information).
BATTERY REPLACEMENT
Do not operate the equipment during battery replacement procedure. “Lo-bA” = Batteries are low, replace immediately.
NOTE: If batteries are dead (depleted), the Power Display remains blank. To replace the batteries, refer to Figure 10 and follow the instructions below (no tools required).
- Unscrew the Brass Nut on the Processor Box. Pull and remove the cover.
- Remove the 2 D batteries by carefully pulling out the Battery Sleeve (follow manufacturer’s recommendations for handling, maintaining, and disposing of batteries).
- Observe the correct polarity position (see +/-marking inside the battery compartment), insert the 2 new D batteries into the battery sleeve and install.
- Replace the Processor Box cover and screw the Brass Nut finger tight.

When the batteries are replaced, the Power Display will run through a test sequence (you will see a series of numbers flashing). Once the test sequence stops and the Power Display shows “OFF,” the Air350 Biaxial Chest Press is ready for use.
CAUTION
Do not dispose of batteries in a fire. The batteries may explode. Do not open or mutilate batteries. They contain an electrolyte which is toxic and harmful to the skin and eyes. Replace batteries with the same number and type of batteries as originally installed in the equipment. Recycle batteries in accordance with local recycling procedures.
ANNUAL MAINTENANCE
The following routine maintenance is recommended annually or at the time batteries are replaced:
- Clean:
- Wipe any accumulated dust around the Frame and the Linkage System, including the Air Tank and Cylinders, using a clean shop cloth.
- Visual inspection of the Linkage System:
- Move freely and no loose parts; all externally visible nuts and bolts are tightened properly.
- Visual inspection of Air Lines and Communication Wires:
- Air Lines have no kinks, tears, or breaks; Communication Wires have no exposed wires or visible damage.
- Replace the Mufflers if discoloration is present:
- Tool required: 11/16 inch Wrench or Adjustable Wrench.
- Replace the Air Filter if element is dirty (element turns a bright pink or red color):
- Tools required: Small Needle Nose Pliers, Cutter Tool (to cut off flared end of tubes).
- Lubricate Cylinder Rods:
- Wipe the Cylinder Rods clean and coat lightly with clean, SAE 30 motor oil, or with a silicon-based spray.
- Visual inspection of moving components:
- Seat functions properly and the adjustment mechanism engages properly. Check Exercise Arms are fully functional; all externally visible nuts and bolts are tightened properly.

- Seat functions properly and the adjustment mechanism engages properly. Check Exercise Arms are fully functional; all externally visible nuts and bolts are tightened properly.
Contact Keiser Customer Support for replacement part(s) order, or for any matters regarding the safe operation of your Air350 Biaxial Chest Press (see back cover for contact information).
REGULATORY AND COMPLIANCE NOTICES
| Standards | ISO/EN 20957-1 Accuracy Class A (High accuracy) and Usage Class S (Studio, commercial use); IEC/EN 60601-1 and IEC/EN 60601-1-2. |
| Marks | ![]() |
SAFETY NOTIFICATIONS
Displayed watts testing parameters: “Current Power,” “Peak Power,” and “Percent of Peak Power” are not suitable for use in applications where the health and safety of a patient may be dependent on the accuracy of those parameters.
Clinical Settings Note: In clinical settings, patients may operate this equipment in accordance with this user manual and the instructions and guidance provided by the healthcare personnel responsible for supervising their treatment and care. However, patients shall not perform preventive maintenance, repairs or replace batteries on equipment installed in clinical facilities.
| TYPE/DEGREE OF PROTECTION | CLASSIFICATION/IDENTIFICATION/WARNINGS | SYMBOL |
| The degree of protection against electric shock | Device is powered by two D cell alkaline batteries. Electrical safety evaluation conducted by TÜV SÜD per IEC/EN 60601-1 requirement. | ![]() |
| The degree of protection against the ingress of liquids | Not protected | N/A |
| The degree of safety in the presence of a flammable anesthetic mixture with air or with oxygen or nitrous oxide | Not suitable | N/A |
| The mode of operation | Continuous | N/A |
| Information regarding potential electromagnetic or other interference and advice regarding avoidance | The Air350 Biaxial Chest Press use electromagnetic and RF energy only for its internal function. Therefore, its EMC and RF emissions are very low and are not likely to cause any interference in nearby electronic equipment. | N/A |
| EMC Notices, Statement of Compliance | See Electromagnetic Compatibility (EMC) section, page 19. | N/A |
| ID of specified optional external power supplies or battery chargers | The Air350 Biaxial Chest Press does not require an exter- nal power supply. | N/A |
| ID of any risks associated with the disposal of waste products, residues, including disposal of the equipment itself at the end of its useful life. | The Air350 Biaxial Chest Press contains electronic circuit assemblies, 2 alkaline D cell batteries, and a sealed lithium coin cell battery that may require compliance with specific local disposal or recycling procedures. |
|
| The specification of the environmental conditions of transport and storage | Use indoor in climate-controlled environment only. Keep away from areas of extreme humidity. NOTICE: Equipment not tested at extreme high/low temperatures. | N/A |
ELECTROMAGNETIC COMPATIBILITY (EMC)
EMC Notices — Statement of Compliance This product has been determined to be compliant with the applicable standards, regulations, and directives for the countries where the product is marketed.
Compliance documentation, such as Declaration of Compliance for the product, are available upon request by contacting [email protected]. Please include the product, model number identifiers, and serial number and country that compliance information is needed in request. Korea
“This equipment is for home use and has acquired electromagnetic conformity registration, so it can be used not only in residential areas but also other areas.”
US FCC COMPLIANCE STATEMENT
NOTE: This equipment has been tested and found to comply with the limits for a Class B digital device, pursuant to part 15 of the FCC Rules. These limits are designed to provide reasonable protection against harmful interference in a residential installation. This equipment generates, uses and can radiate radio frequency energy and, if not installed and used in accordance with the instructions, may cause harmful interference to radio communications. However, there is no guarantee that interference will not occur in a particular installation. If this equipment does cause harmful interference to radio or television reception, which can be determined by turning the equipment off and on, the user is encouraged to try to correct the interference by one or more of the following measures:
- Reorient or relocate the receiving antenna.
- Increase the separation between the equipment and receiver.
- Connect the equipment into an outlet on a circuit different from that to which the receiver is connected.
- Consult the dealer or an experienced radio/TV technician for help.
DISPOSAL
This equipment contains electrical or electronic components, alkaline batteries, and a sealed lithium coin cell battery that must be disposed of properly to comply with the EU Directive on disposal of waste electrical and electronic equipment (EU WEEE Directive 2002/96/EC). Contact an appropriate waste disposal company upon the equipment’s end of service life. Disposal must be in accordance with respective national regulation.
Wear parts: After being replaced, wear parts must be disposed of according to country-specific waste laws.
If you have any questions about equipment disposal, please contact your local dealer or Keiser Customer Support (see back cover for contact information).
WARRANTY STATEMENT
View or print your Air350 Biaxial Chest Press warranty online at keiser.com/support/warranty. If you have any questions about your warranty, please contact Keiser Customer Support at 1 559 256 8000 and via live chat at keiser.com/support (Monday—Friday, 9 am to 5 pm Pacific Time), or by email at [email protected].
Customers outside the United States may obtain warranty information directly through a Keiser international distributor or dealer in the country of installation, or direct from Keiser’s international division.
European Authorized Representative
KEISER EUROPE SP. Z O.O.
ul. Starodworska 1
Gdańsk 80-137
Polska
UK Responsible Person (UKRP)
KEISER UK Ltd.
Unit 3, Hampton Industrial Estate
Hampton St., Tetbury
Gloucestershire, GL8 8LD
United Kingdom
CUSTOMER SUPPORT
If you have any questions regarding the operation of the Air350 Biaxial Chest Press after reading this manual, contact Keiser Customer Support:
- 1 559 256 8000
- [email protected]
- keiser.com/support
- Telephone and Live Chat Monday—Friday 9 am to 5 pm PST
KEISER CORPORATION
2470 S. Cherry Ave. Fresno, CA 93706







































