Gatemann Tubular Leverset
MARKING DOOR

Mark the centers for fitting the lock and latch using the paper marker below.
DRILLING TWO HOLE

After marking the hole locations centers core first drill the 53mm hole for the lock. Then drill the 23.8mm hole for the backset. For lock efficiency ensure both holes are drilling level 90. Position backset and mark around latch plate, chisel out the piece to be removed to the depth required to fush fit the latch plate. When fit correctly, drill screw holes and fit backset. 953mm
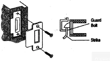
FITTING STRIKE PLATE

When installing the strike plate ensure it is set to the same height as the backset latch. The latch bolt should fit smoothly in to the strike case preventing the latch bolt from being forced beck. Thus ensuring security.
INSTALLATION
- Insert outside lever with spindle into latch, making certain that stems are positioned correctly through latch hole. Press flush against door.

- Remove inside lever and rose slip inside assembly over spindle Insert screws through mounting plate and tighten evenly until snugly secured.
INSTALLATION MANUAL



INSTALLATION MANUAL















