KV2 audio SL Brackets and Flybars

SL Brackets and Flybars · Introduction · Warning · Warranty
Introduction
This manual is presented by KV2 Audio, to enable the clear and precise instructions for the safe practice and execution and vertical ground stacking and flying/suspension of the SL Loudspeaker products, using the SL Brackets and Flybars It is vitally important that operators and users familiarize themselves with all of the components, parts, products and safety instructions, as described and indicated within this document, before attempting any stacking or flying of the SL systems. The SL Loudspeaker enclosures are designed with integral suspension points to facilitate secure vertical stacking as well as flying and rigging, providing that no modifications or external parts are substituted, and that all instructions are adhered to at all times. KV2 Audio operates a continuing process policy of attaining and improving standards. This means that instructions and methods may be subject to change without notification, and it is the sole responsibility of the operator/user to check for any updated information regarding safe stacking and flying procedures whether locally or internationally.
Warning – Safety Rigging
There are accepted ‘General Rigging Practices’ appropriate to the entertainment industry and this Document aims to encapsulate them specifically to the safe vertical ground stacking and flying of the KV2 SLLoudspeaker systems described here. It is extremely vital and important that only personnel whom have the qualifications and certificates, Prior knowledge and experience of rigging techniques, attempt the execution of any stacking or flying configuration utilizing the SL Brackets for the KV2 SL products. All advice and instructions expressed and stated within this document, are based upon the highest engineering data available at the time of publication, from within the Country of manufacture, with regards to materials and general practice techniques. Specifications are subject to change, due to constant testing, product updates and refinements and R&D.
General Rigging Practices’ means that Regulations and requirements are possibly subject to alterations in different countries and may be superseded locally. KV2 Audio, as such is not responsible for the safety of any suspension, flying overhead of all specific KV2 Audio Loudspeaker products, or Rigging configurations as executed in practice by users. It is expressly the sole responsibility of the user to ensure that at all times any KV2 Audio product, or system is Ground-stacked, suspended and rigged in accordance with current International and local regulations. All non KV2 Audio products such as hoists, clamps, wires, truss, supports used ,or required to assure stability, or suspend KV2 Audio Loudspeaker product are the sole responsibility of the user.
Warranty
Your SL Brackets and Flybars are covered against defects in material and workmanship. Refer to your supplier for more details.
Service
In the unlikely event that your SL Brackets develops a problem, it must be returned to an authorised distributor, service centre or shipped directly to our factory. Because of the complexity of the design and the risk of electrical shock, all repairs must be attempted only by qualified technical personnel.
If the unit needs to be shipped back to the factory, it must be sent in its original carton. If improperly packed, the unit may be damaged. To obtain service, contact your nearest KV2 Audio Service Centre, Distributor or Dealer.
SL Brackets and Flybars · Parts & Components
Parts & Components
The SL BRACKETS consist of three individual brackets and are identied as:
SL Top Bracket kit with screws
with screwspart name:
SL TOP BRACKET WITH SCREWS part number:
KVV 987 300
description:
7 pcs M10 hex screws included – 1pc allen key – 6mm included

SL Top Bracket kit with Quick-lock pins
SL TOP BRACKET WITH QUICK PINS
part number
KVV 987 312
description

- 1x Screw HXG button head M10X3
- 6 pcs (Drilling) Screw HXG Countersunk M10X25 – 6 pcs Quick-lock-pins 6mm included
- 1pc allen key – 6mm included
SL Sub Bracket kit with screws
SL SUB BRACKET
part number:

KVV 987 299
description: 9 pcs M10 hex screws included – 1pc allen key – 6mm included
SL Sub Bracket with Quick-lock pins

SL SUB BRACKET
part number:
KVV 987 341
description:
- 1x Screw HXG button head M10X3 included
- 8x (Drilling) Screw HXG Countersunk M10X25 included – 8x Quick Pin Quick-lock-pins 6mm included
- 1pc allen key – 6mm included
SL Ground Stack kit

SL GROUND STACK
part number:
KVV 987 320
description:
- 6 pcs M10 hex screws with hole included – 6 pcs Quick-lock-pins 6mm included
- 2pcs knob with screw included
- 1pc allen key – 6mm included
Flybar for SL412
SL412 Flybar
part number:
KVV 987 331
description:

- 2x M10 Hex Screwthreads with integral apreture – 2x D6 Quick release pins
- 2x Handscrew locks
- 1pc allen key – 6mm included
Fly Bar for SL systems

VB – SL412
part number:
KVV 987 293
description:
- 4x M10 Hex Screwthreads with integral apreture – 4x D6 Quick release pins
- 1pc allen key – 6mm included
The SL BRACKET KITS ARE NOT DESIGNED OR CERTIFIED FOR OVERHEAD SUSPENSION USE.
Double SL Bracket
Double SL Bracket part number:
KVV 987 464 description: Bracket for deployment of two suspended SL412 with correct aperture angles

SL Sub / SL412 bracket

part name:
SL Sub / SL412 bracket part number:
KVV 987 515 description:
Bracket for deployment of one suspended SL2.15 or SL6.10 and one SL412
Note: Special request order
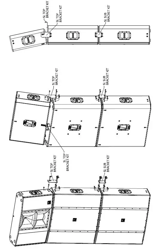
SL Top and Sub Bracket Kit
The SL TOP BRACKET KIT consists of a pre-drilled oblong steel plate that has apertures with pre-fixed points to allow the securing of the SL412 enclosure to multiple stacked SL2.15/SL6.10 Bass enclosures by either inserting 2 x M10 Hex bolts, (KVV 987 300) or D6 quick release pins, (KVV 987 312), through the plate and into each M10 mounting point on each side for each enclosure, (6mm Allen key included). Using the alternate apertures in the plate, it is possible to create a downward tilt/angle for the SL412 enclosure. Included in the kit is a steel wall-securing arm which attaches to the top edge of the upper SL2.15/SL6.10 Bass enclosure, by inserting one M10 Hex bolt through the arm and into the M10 mounting point.
The extended arm is then attached to a wall or beam structure for stability of the vertical stack employed. The SL SUB BRACKET KIT consists of a pre-drilled oblong steel plate that has four corner apertures to allow the secure vertical stacking and fixing of multiple SL2.15/SL6.10 subwoofers, by inserting 2 x M10 Hexbolts through the plate and into each M10 mounting point on each side for each enclosure, (6mm- Allen key included). Included in the kit is a steel wall-securing arm which attaches to the top edge of the upper SL2.15/SL6.10 Bass enclosure by inserting one M10 Hex bolt through the arm and into the M10 mounting point. The extended arm is then attached to a wall or beam structure for stability of the vertical stack employed. The SL412 and SL2.15/SL6.10 come complete with pre-loaded M10 mounting points and Bolts with a total of 20 fixing points at different locations of the enclosure.
Please refer to diagram example below

SL Top bracket with marked angles

SL Sub bracket

- Fixing SL412 with 2x SL6.10/SL2.15 using SL TOP BRACKET KIT and SL SUB BRACKET KIT
- Fixing SL412 with 2x SL6.10/SL2.15 using SL TOP BRACKET KIT and SL SUB BRACKET KIT
- Fixing SL412 with 2x SL6.10/SL2.15 using SL TOP BRACKET KIT and SL SUB BRACKET KIT

SL Ground Stack Kit


- 1x SL2.15/SL6.10, 1x SL412
- 2x SL2.15/SL6.10, 1x SL412
- 1x VHD2.21, 1x SL2.15/SL6.10, 1x SL412
- 1x VHD2.21, 2x SL2.15/SL6.10, 1x SL412
- 2x VHD2.21, 2x SL2.15/SL6.10, 1x SL412
SL412 Flybar
Suspension
The SL412 Flybar is a dedicated system to facilitate fast and safe suspension of a single SL412 or SL2.15/SL6.10 unit, for touring and production and has a variable angle of tilt from 0 -15 degrees.
*NOTE* The FLYBAR is not certified to allow any suspension of additional enclosures, or cabinet from cabinet. The system consists of individual parts that form the basis of attaching the SL module to the FLYBAR, these are:
- FLYBAR YOKE
- 2x M10 HEX SCREWTHREADS WITH INTEGRAL APRETURE
- 2x D6 QUICK RELEASE PINS
- 2x HANDSCREW LOCKS

The SL FLYBAR is a fixed steel folded edge bar with extended arms at each end. The main horizontal bar has multiple apertures across the top plate to allow flexible attachments such as clamps, Eye-bolts and threads to facilitate connection to hoists, truss etc. To secure the FLYBAR to the SL unit, there are two fixing points on each extended arm, one lower point to allow the attachment to the SL handle unit via use of a handscrew and one upper point to allow attachment via quick-lock pins through four pre-selected angle-apertures

SL412 Vertical Bracket
The SL412 Vertical Bracket is a complete system to allow the safe suspension of a *single SL412 or SL2.15/SL6.10 Unit.
NOTE: The SL412 Vertical Bracket is not certified to allow any suspension of any additional enclosures*
The system consists of individual parts that form the basis of attaching a loudspeaker module to the bracket, these are:
- BRACKET YOKE
- 4x M10 HEX SCREWTHREADS WITH INTEGRAL APERTURE
- 4x D6 QUICK RELEASE PINS

The SL412 Vertical bracket is a pre-fixed steel bar with folded edges and short extension arms at each end. The long bar has prefixed apertures along the top plate to allow attachments such as clamps, Eye-bolts and threads to facilitate connection to hoists, truss etc. On each extended arm, there is a single aperture which allows the fixing of the bracket to the SL412 and there is a secondary semi-circle of a total of ** 10 apertures which allow a pre-settable fixed angle of suspension in the tilt orientation.
NOTE: The SL412 Vertical bracket has a front and back, to make sure it is used in the correct orientation, identify that the semi-circle of aperture fixings are facing to the rear of the enclosure**
SL412 Vertical Bracket · Instructions · Single point flying
The SL412 comes complete with pre-loaded M10 mounting points and Bolts with a total of 20 fixing points at different locations of the enclosure. It is important to locate the top two mounting bolts which are at the top end of each side of the enclosure, remove these and replace with the 4 x M10 HEX SCREWTHREADS WITH INTEGRAL APERTURE that come supplied with the SL412 Vertical Bracket system. Place the complete SL412 Vertical Bracket over the top of the SL412 so that the extension arms are parallel to the sides of the enclosure and place a single D6 QUICK RELEASE PIN through the single hole in the arm and then into the aperture of the two which is nearest to the front edge of the SL412 enclosure. The SL412 Vertical Bracket is now attached safely to the enclosure. To achieve the correct angle of tilt and hang, now select an aperture from one of the 10 holes within the semi-circular row on each arm and enter a second D6 QUICK RELEASE PIN through the arm on each side into the second aperture which is nearest to the rear edge of the SL412 enclosure. Now the whole assembly is ready to be suspended.
Single point flying
If the SL412 is suspended from a single point, the tilt angle varies with the location of the center of gravity. For the resulting tilt angle, please see SL Flybar picture with marked angles. Use this flybar for fixed installations only.

The Future of Sound. Made Perfectly Clear
KV2 Audio International
Nádražní 936, 399 01 Milevsko Czech Republic
- Tel.: +420 383 809 320
- Email: [email protected]
- www.kv2audio.com


















