BOSCH 806657 qsg Soundbar Wall Bracket ml

PACKAGE CONTENT

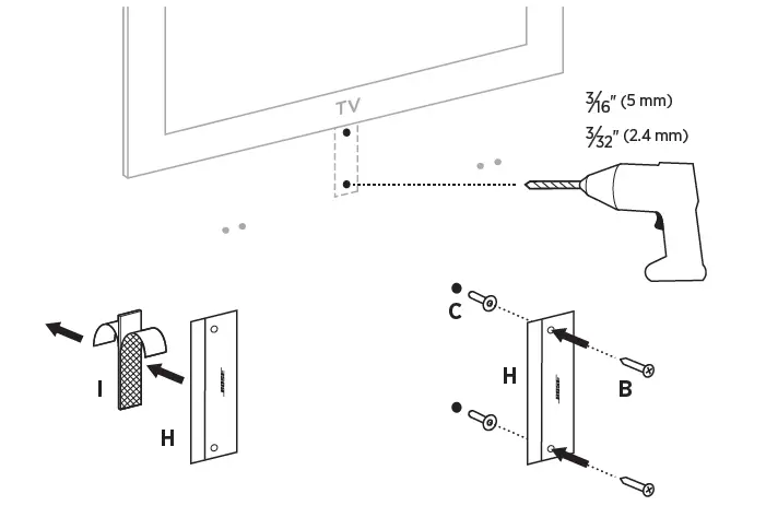
TOOLS REQUIRED

- Wallboard

- Wood stud

Not designed for masonry surfaces.
INSTALLATION INSTRUCTIONS

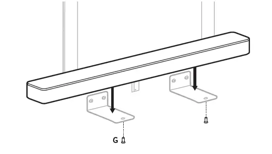
Open the included 2-sided template.
NOTE: Each page shows 2 templates. There are a total of 4 templates.

Adjust the rubber feet at the bottom of the soundbar with the brackets printed in the same position on the template to identify the correct template for your soundbar.
Please read and keep all safety and use instructions.
Important Safety Instructions
Contains small parts which may be a choking hazard. Not suitable for children under age 3.
- Do NOT make unauthorized alterations to this product.
- For a list of compatible products, visit worldwide.Bose.com/Supportworldwide.Support, select your soundbar, and select the Bose Soundbar Wall Bracket from the accessories list.
- Only use the mounting hardware supplied with this product.
- Do not mount on surfaces that are not sturdy, or that have hazards concealed behind them, such as electrical wiring or plumbing. If you are not sure about installing the bracket, contact a qualified professional installer. Ensure the bracket is installed according to local building codes. Only for mounting on the following surfaces:
- Wallboard ≥ 33⁄88″ (10 mm)
- If mounted on surfaces other than those stated above please contact a professional installer.
- Due to ventilation requirements, Bose does not recommend placing the product in a confined space such as in a wall cavity or in an enclosed cabinet.
- Do not place or install the bracket or product near any heat sources, such as fireplaces, radiators, heat registers, or other apparatus (including amplifiers) that produce heat.
Warranty Information
- This product is covered by a limited warranty from Bose.
- For warranty details, visit worldwide.Bose.com/Warranty
- China Importer: Bose Electronics (Shanghai) Company Limited, Level 6, Tower D, No. 2337 Gudai Rd. Minhang District, Shanghai 201100
- EU Importer: Bose Products B.V., Gorslaan 60, 1441 RG Purmerend, The Netherlands
- Mexico Importer: Bose de México, S. de R.L. de C.V., Paseo de las Palmas 405-204, Lomas de Chapultepec, 11000 México.
- Phone Number: +5255 (5202) 3545
- Taiwan Importer: Bose Taiwan Branch, 9F-A1, No. 10, Section 3, Minsheng East Road, Taipei City 104, Taiwan.
- Phone Number: +886-2-2514 7676
- UK Importer: Bose Limited, Bose House, Quayside Chatham Maritime, Chatham, Kent, ME4 4QZ, United Kingdom
The terms HDMI, HDMI High-Definition Multimedia Interface, and the HDMI Logo are trademarks or registered trademarks of HDMI Licensing Administrator, Inc. ADAPTiQ, Bose, Bose Soundbar, and Bose Soundbar Wall Bracket are trademarks of Bose Corporation.
Bose Corporation Headquarters: 1-877-230-5639
©2022 Bose Corporation. No part of this work may be reproduced, modified, distributed, or otherwise used without prior written permission.

©2022 Bose Corporation, 100 The Mountain Road, Framingham, MA 01701-9168 USA AM881098-0010 Rev. 00




























