
Installation Instructions
Please Read Before Installing
Athena Touchscreen
Q-TOUCH5-WH
PoE 48 V- 7 W max. Class 2, IEEE802.3af
Installation
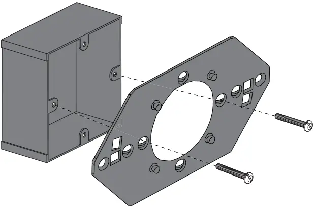
Step 1- Screw the mounting adapter to the pre-installed wall box using the appropriate set of holes.
Square 4 in (102 mm) U.S. single-gang wall box (horizontally-mounted) or Standard U.S. single-gang wall box (horizontally-mounted)
![]() Square UK Style Wallbox | ![]() Round EU Style Wallbox |
![]() |
Step 2 — Plug the Ethernet cable into the RJ-45 connector on the back of the touchscreen.

Step 3 — Push the Ethernet cable back into the wall box ensuring that the wire is not pinched.
Step 4 — Mount the touchscreen on to mounting adapter by inserting the posts on the mounting adapter through the keyed slots on the back of the touchscreen and rotating it counter-clockwise.
Step 5 — Turn on power to the PoE switch, powering the touchscreen.
Troubleshooting
| Symptom | Possible Causes |
| No communication with Athena processor. | · Miswire or loose connection at the system Ethernet link. · Athena system is not currently working on the network. |
| The unit does not power on. | · The Ethernet cable is not directly connected to the Ethernet switch that the touchscreen is using. · Ethernet run is longer than the supported 328 ft (100 m) and a PoE extender is needed. |
Removing the Touchscreen from the Wall
- Gently pull the touchscreen away from the wall.
- Rotate the touchscreen clockwise
until the mounting adapter posts heads are able to slide through the larger portion of the keyed slots. - Pull the touchscreen away from the mounting adapter.
Returning Touchscreen to Factory Settings
Returning a touchscreen to its Factory Settings will remove the touchscreen from the system and erase all system-specific content on the device.
- Remove the touchscreen from the wall by following the touchscreen removal instructions above.
- Push the reset button on the back of the touchscreen using a small pin (see Step 2 above for reset button location).
FCC/IC Information
This device complies with part 15 of the FCC Rules and Industry Canada license-exempt RSS standard(s). Operation is subject to the following
two conditions:
(1) This device may not cause interference, and
(2) this device must accept any interference, including interference that may cause undesired operation. Modifications not expressly approved by
Lutron Electronics Co., Inc. could void the user’s authority to operate this equipment.
Note: This equipment has been tested and found to comply with the limits for a Class B digital device, pursuant to part 15 of the FCC Rules. These limits are designed to provide reasonable protection against harmful interference in a residential installation. This equipment generates, uses, and can radiate radio frequency energy and, if not installed and used in accordance with the instructions, may cause harmful interference to radio communications. However, there is no guarantee that interference will not occur in a particular installation. If this equipment does cause harmful interference to radio or television reception, which can be determined by turning the equipment off and on, the user is encouraged to try to correct the interference by one or more of the following measures:
- Reorient or relocate the receiving antenna.
- Increase the separation between the equipment and receiver.
- Connect the equipment into an outlet on a circuit different from that to which the receiver is connected.
- Consult the dealer or an experienced radio/TV technician for help.
This Class B digital apparatus complies with Canadian ICES-003.
Use these instructions to install the model number listed above.
The touchscreen requires at least one Athena light management hub. Refer to the installation instructions of the Athena light management hub for setup and other information. The Athena touchscreen must be powered by an approved LPS / SELV PoE power supply compliant to IEEE 802.3af 2003 or 802.3at 2009.
Important Notes
Install in accordance with all national and local electrical codes. Lutron recommends that the touchscreen be installed by a qualified electrician. Do not connect high-voltage power to low-voltage terminals. Improper wiring can result in personal injury or damage to the control or to other equipment.
Environment: Ambient operating temperature: 32 °F to 104 °F (0 °C to 40 °C), 0 to 90% humidity, non-condensing. Indoor use only. Cleaning: To clean, wipe with a clean damp cloth. DO NOT use any chemical cleaning solutions.
Wall boxes:
- Square 4 in (102 mm) U.S. single-gang wall box (horizontally-mounted).
- Standard 2 in x 4 in x 3 in (50 mm x 96 mm x 65 mm) U.S. single-gang wall box (horizontally-mounted).
- Square UK wall box. · Round EU wall box.
Wiring:
- Use Cat5e minimum cable.
- The maximum wire length is 328 ft (100 m).
- Each touchscreen needs to have a home run Ethernet connection back to a PoE switch.
- Do not run PoE wiring outdoors.
Device Programming:
- Programming must be accomplished using an on-screen setup process. No software is required.

Customer Assistance
For questions concerning the installation or operation of this product, call Lutron
Customer Assistance. Please provide the exact model number when calling.
The U.S.A. and Canada
1.844.LUTRO
www.lutron.com/support
Mexico 8am 8pm ET +1.888.235.2910
Europe +44.(0)20.7680.4481
Limited Warranty
For limited warranty information, please visit
http://www.lutron.com/TechnicalDocumentLibrary/HomeWorks_Warranty.pdf
The Lutron logo, Lutron, and Athena are trademarks or registered trademarks of Lutron Electronics Co., Inc. in the US and/or other countries.
©2021 Lutron Electronics Co., Inc.






















