RONSTAN RA6302 30 Quart Orbit Winch with QuickTrim

INTRODUCTION
Your Ronstan Orbit Series winch is ready to provide you with many years of easy sail handling and reliable service.
Ronstan has been designing and manufacturing equipment for sailboats for more than 60 years. We are also known for our range of Andersen Stainless Steel Winches®, recognised around the world for their exceptional finish and enduring quality. The Orbit Series draws on the same engineering and manufacturing expertise to deliver a high-efficiency winch in lightweight aluminium. Controlled grip, smooth performance without excessive rope wear, and a patented QuickTrim™ feature on selected models that makes fine tuning a breeze.
You have some performance options to choose from, which need to be enabled before installing the winch, so please read this manual carefully from start to finish before proceeding.
RA6302 Specifications
| Power ratio: | 1st speed: 8:1 2nd speed: 30:1 |
| Rope dia.: | 7-12mm (9/32”-1/2”) |
| Weight: | 3.1 kg (6.8 lb) |
| MWL: | 700 kg (1540 lb) |
BATCH Number
To assist with any future service inquiries, your winch has a batch number that is stamped onto the base of the centre stem in the location shown below. The self-tailing arm and drum need to be removed to access the batch number.
(Refer to steps 2 & 3 of the installation instructions)

SAFETY NOTICES
Read All Safety Notices and Product Manuals
Do not install or operate this winch before reading and fully understanding the contents of this Product Manual.
Stay Alert When Operating
Winches are very powerful and have the potential to cause significant damage and/or serious injury if used improperly or without due caution and vigilance.
Operators Must Be Trained
Help prevent significant damage and/or serious injury by ensuring any person operating a winch has a thorough understanding of its proper operation and is aware of the potential hazards involved. As a minimum, all winch operators must read and understand this Safety Notice Sheet and the Product Manual.
Particular attention is drawn to the following points:
- Children and others not qualified to operate a winch must be kept at a safe distance from the winch and any rigging or fittings that are under load.
- Long hair and/or loose clothing must be tied back to avoid being caught in the winch.
- In the event of a rope override or other fault with an electric winch, stop the winch and turn off power before attempting to resolve the problem.
Avoid Accidental Operation
Remove winch handles when not in use, and turn off power to electric winches to help avoid unsupervised or unintentional operation. Failure to do so could result in significant damage and/or serious injury.
Maintenance
Turn off power to an electric winch before performing any maintenance or service tasks. Failure to do so could result in significant damage and/or serious injury.
Lifting Operations
The winch must not be operated with the rope in the self tailer when used in any kind of lifting operation. Any lifting operations should be conducted by two persons in order to maintain constant visual contact with the object being lifted. Furthermore, the self tailer must not be used as a cleat for a rope used to lift or suspend any object. The rope must be secured properly by tying off or leading to a suitable fitting such as a cleat or bollard.
Failure to observe these precautions could result in serious injury or death.
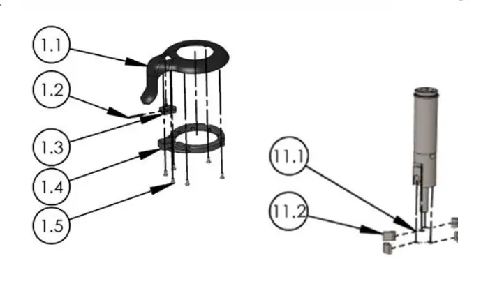
PARTS LIST AND EXPLODED VIEW


| Item No. | Qty | Description | Part No. |
| 1 | 1 | Self-tailing arm assembly | 996017 |
| 1.1 | 1 | Self-tailing arm | 990980M |
| 1.2 | 1 | Release Latch spring | 996029 |
| 1.3 | 1 | Release Latch spring | 990923 |
| 1.4 | 1 | Self-tailing arm orientation plate | 990979 |
| 1.5 | 6 | Screw M3x6, CSK cross head | SC3-36 |
| 2 | 1 | Closing plate | 996005 |
| 3 | 1 | Closing washer | 990978 |
| 4 | 3 | Bolts, self tailer assembly | 990981 |
| 5 | 1 | Rope splitter | 990896 |
| 6 | 1 | Self tailer & Quick Trim™ assembly | 996016 |
| 6.1 | 3 | Locking pin | 996015 |
| 7 | 1 | Drum | 990914M |
| 8 | 3 | Nut, M3 self-locking | NU3 |
| 9 | 1 | Ball bearing race assembly | 996019 |
| 10 | 1 | Roller bearing assembly | 990874 |
| 11 | 1 | Shaft assembly | 990998 |
| 11.1 | 4 | Pawl springs | 713300 |
| 11.2 | 4 | Pawls | 713200 |
| 12 | 1 | Spacer* | 990871* |
| 13 | 1 | Drive gear | 711701 |
| 14 | 1 | Ratchet gear | 990870 |
| 15 | 1 | Gear axle | 990912 |
| 16 | 1 | Output drive gear | 996037 |
| 17 | 2 | Shaft bearing | 996034 |
| 18 | 1 | Centre stem | 990915 |
| 19 | 2 | Top hat bearing inserts | 536300 |
| 20 | 1 | Base plate | 996040 |
| 21 | 2 | Hex socket cyl. head screw, M5x16 | SC5-516 |
| 22 | 1 | Isolator | 990931 |
* 990871 spacer is tapered, must be installed with wide diameter towards base, narrow diameter up.
Winch Pawl & Spring Kit RA710052 contains 8 pawls and and 16 springs.
![]() | Refer to the diagrams and the exploded view for part and assembly details. |
Installation
Required for the installation:
- 5x M6 or 1/4” Grade 316 stainless steel fasteners (length as required for deck thickness). Use of A4-70 DIN 7991 hexagon socket CSK screws is recommended, installed at a torque setting of no more than 7.1Nm as per industry standards.
- 5x Grade 316 stainless steel large washers or backing plate.
- 5x Grade 316 stainless steel self-locking nuts to suit mounting fasteners.
- Hex key, 5mm for M6 fasteners, or 3/16” for 1/4” fasteners.
- Spanner, to suit mounting nuts.
- Drill bit, Ø6.5mm for M6 mounting bolts (or 9/32” for 1/4” bolts)
- Drilling template.
- Sealant / bedding compound.
- Tef-Gel™ isolating paste. (Tef-Gel™ is a trademark of Ultra Safety Systems, Inc.)
Determine winch mounting position
Determine the mounting position for the winch and ensure that the mounting surface is smooth and flat.
The winch should be positioned with the recommended line entry angle of 3-8° from horizontal. Refer to the diagrams below:

The drive gear should be aligned to the line entry as per the diagram and as indicated on the drilling template
Step 1:
After confirming the mounting location and orientation of the winch, clean the mounting surface and tape the drilling template on the mounting surface so that it matches the required winch mounting position and orientation.
Step 2:
Remove the self-tailing arm [1]:
Pull back the spring-loaded release latch [1.3] on the self-tailing arm [1] with a fingertip (1), then rotate the arm slightly in an anti-clockwise direction (2) until it can be lifted clear of the winch (3). Remove the closing plate [2] and closing washer [3] and set all three parts aside for now.
Step 3:
Remove the drum:
Grip the top of the drum assembly [7] with your fingers and pull vertically upward to remove it from the centre stem [18]. As the winch is not fixed to the deck yet, you may need to push gently with your thumbs against the central drive shaft [11] to separate the parts. Set the drum assembly [7] aside for now.
Place the centre stem [18] on the drilling template with mounting hole positions aligned to check that the orientation of rope entry in relation to the output drive gear [16] is correct.
Step 4:
Drill the mounting holes:
With the template in place, drill the Ø6.5mm holes for the M6 mounting bolts (or Ø9/32” holes for 1/4” bolts).
Remove the template, clean away any debris from the holes, and clean the deck thoroughly to ensure deck sealant can adhere properly.
Step 5:
Apply sealant under the base of the centre stem [18] around the mounting holes, ensuring that the drainage channels in the underside of the base plate [20] remain clean and free of sealant. For mounting on metal or carbon fibre surfaces, the base must also be completely isolated from the mounting surface to prevent galvanic corrosion.
Step 6:
Fasten the centre stem to the deck:
Fit the centre stem [18] to the deck using large washers (or backing plate) and locking nuts below deck. Apply Tef-Gel™ under the head of each mounting fastener to isolate it from the aluminium centre stem [18].
To avoid wearing the anodised surface of the centre stem [18], use a hex key to prevent the fastener from turning and use a spanner to tighten the nuts from below*.
* 5x M6 or 1/4” Grade 316 countersunk stainless steel fasteners. Use of grade A4-70 hex socket CSK screws is recommended, installed at a torque setting of no more than 7.1Nm as per industry standards.
Tef-Gel™ is a trademark of Ultra Safety Systems, Inc.
Step 7:
Re-assemble the winch drum:
Lift the drum assembly [7] over the centre stem [18], then slide it fully down into position.
Lay the closing washer [3] in its recess within the self tailer, taking care that the correct side is facing upward.
Place the closing plate [2] over the central drive shaft [11], so that it rests on the top of the centre stem [18]. A pip on the bottom of the closing plate [2] will locate in a dimple in the aluminium surface when it is in its correct orientation, leaving the bayonet notches around the edge exposed.
Step 8:
Self-Tailing Arm Orientation:
This image can be used as a guide to the orientation of the self-tailing arm [1] in typical locations on the deck. The self-tailing arm should be positioned to allow the rope to drop clear of the winch as it feeds out of the self tailer. Positions will typically be as indicated by the highlighted sectors in the diagram due to the clockwise rotation of the winch drum.
Fit the self-tailing arm:
Position the self-tailing arm [1] over the winch so that it overhangs the rope splitter [5]. Rest the arm in this position so that it is centred and sitting level on the closing plate.
Rotate the self-tailing arm to its desired position, checking again to ensure that it overhangs the rope splitter [5]. Allow the part of the arm opposite the spring-loaded release latch [1.3] to align with a bayonet notch in the centre stem and drop into engagement. Pull back the spring-loaded release latch [1.3] on the self-tailing arm with a fingertip (1) and allow the arm to seat itself in the other bayonet notches all the way around. Then rotate the arm slightly in a clockwise direction (3), and listen for the audible “click” indicating it is locked in position (2).
Step 9:
Check that the winch is functioning correctly:
Before inserting a handle, check that the drum turns smoothly when rotated by hand in a clockwise direction and is not able to turn in an anti-clockwise direction.
Insert a winch handle in the socket of the central drive shaft. Turning the handle in a clockwise direction should drive the drum in fast speed; turning the handle in an anti-clockwise direction should drive it in slow speed.

NOTE: Make sure that you familiarise yourself with the safety notices on page 3 of this manual before using the winch.
QUICKTRIM™
About the QuickTrim™ feature.
QuickTrim™ is a patented innovation in self-tailing winches unique to Ronstan. It allows rapid easing of line tension without the need to remove the line from the self tailer.
Your winch has been delivered from our factory so that it will operate only as a traditional two-speed self-tailing winch unless you enable the QuickTrim™ functionality by following the instructions below. Once enabled, this feature should be demonstrated to new users so that they understand how to operate the winch correctly before use.
Optional enabling of QuickTrim™
Step 1:
Remove the self-tailing arm:
Pull back the spring-loaded release latch [1.3] with a fingertip (1), then rotate the self-tailing arm [1] slightly in a clockwise direction (2) until it can be lifted clear of the winch (3). Then remove the closing plate [2] and closing washer [3]. Set aside all three parts for now.
Step 2:
Locate and remove the countersunk cross-head screw as shown in the diagram. (Keep the screw for future use if you wish to disable the QuickTrim™ feature again).
Step 3:
Re-assemble the closing washer, closing plate and self-tailing arm as described in Step 8 of the installation instructions.
Using QuickTrim™
The winch operates in the same way as a traditional two-speed self-tailing winch for tensioning, easing and casting off the rope. With QuickTrim™ the user can easily and safely make minor adjustments to sail trim without having to remove the winch handle, and without having to take the rope out of the self tailer.
- To release line tension, first hold the tail of the rope in one hand. Place your other hand on the top cover of the self tailer, with your fingers lying across the rope.
- Use the palm of the hand to grip and rotate the top cover anti-clockwise against the spring pressure and maintain it in that position. The self tailer is now able to turn beneath the cover, allowing the line to be eased off the drum in a controlled manner. (As always, the grip of the winch depends on the load and the number of wraps on the drum; you can assist the movement of the rope on the drum while easing if desired, or try using fewer wraps on the drum).
- When the correct sail trim is achieved, simply allow the top cover to spring back to its original position. The self tailer is now locked, and the winch is ready for normal use.
QuickTrim™ is designed for minor adjustments and will be particularly useful in situations where frequent adjustment of tension is required in sheet, halyard and other applications.
View the video showing the difference between ‘traditional’ and ‘QuickTrim™ Operation.
SERVICE & MAINTENANCE
General Maintenance:
As with all deck equipment, fresh water rinsing after each use is recommended to avoid accumulation of salt and other surface contaminants. We recommend a complete servicing of your winch (dismantle, clean and lubricate) every two years. Under extensive use such as racing, charter or extensive offshore sailing, complete servicing should be carried out on an annual basis.
We strongly recommend the use of ANDERSEN WINCH GREASE when lubricating your winch. ANDERSEN WINCH GREASE is a high-quality grease containing PTFE. Most other types of grease, including some labelled “marine grease”, are not suitable and may lead to malfunction which could result in serious injury to the user and others.
Pawls should be inspected, and springs should be replaced every second year. It is important to use only genuine Ronstan or Andersen brand pawls and springs in your winch.
Winch Pawl & Spring Kit RA710052 contains 8 pawls and 16 springs.
Required for service:
- Winch handle
- ANDERSEN winch grease and small brush for application
View the video showing How to Service the winch
Winch Servicing Instructions:
Refer to the exploded view and parts list at the beginning of this manual for assembly details.
Proceed with the steps below to disassemble the winch, removing old grease and contaminants with white mineral spirits and inspecting all parts for wear or damage.
- Remove self-tailing arm [1] and drum [7] as described in Installation Step 2&3. Check that the spring-loaded release latch [1.3] of the self-tailing arm is operating correctly and rinse thoroughly in fresh water.

- Inspect the self tailer assembly [6]. If QuickTrim™ is enabled, check that the self tailer cover rotates against the spring pressure to allow the self tailer to turn in an anti-clockwise direction, and springs back as expected to lock the self tailer and prevent it from turning independently of the drum. Rinse the self tailer mechanism thoroughly in fresh water.
- Insert a winch handle into the top of the drive shaft [11]. While holding the drive gear [13], use the handle to rotate the shaft slightly, while pulling up gently to find the release position; then pull up the drive shaft and remove it.

- Remove pawls [11.3] and pawl springs [11.2] from the drive shaft.
- Remove the spacer [12], drive gear [13] and ratchet gear [14] from the opening on the side of the centre stem [18].
- Remove the shaft bearings [17] from inside the top of the centre stem.
- Lift the ball bearing race [9] off the centre stem.
- To release the roller bearing [10], grip with fingertips from opposing sides and lift to snap it up over the containment lip on the centre stem [18].
- Remove axle [15] and output drive gear [16]. Use a small flat screwdriver under the head plate of the axle [15] to pry it upward if necessary. Note the correct position: the head plate of the axle must sit flush within the machined recess in the centre stem when reassembling the winch.

- Check that the two “top hat” bearing inserts [19] in the winch base are in place, with holes clean and lightly greased.
- Re-assemble the winch in reverse order. (Ensure that the shaft pawls are held closed when dropping the shaft down through the top of the stem to ensure the shaft bearings are not damaged)

- During assembly, use a small soft brush to lightly grease all gear teeth, drive shaft and axles. Both the roller bearing [10] and ball bearing race [9] are self-lubricating and must not be greased.
- Apply only a very thin film of Andersen Winch Grease to the pawls. Do not use any other kind of grease for this purpose. Take care to assemble with springs in the correct orientation as shown in the diagram

Malfunctioning pawls may lead to unexpected release of the winch force resulting in serious injury to the user and others. Check the functioning of each pawl by depressing against the spring. The pawls should move smoothly, and automatically return to their normal position to engage within the gears. If the pawls do not work correctly replace the springs and check again.
WORLDWIDE DISTRIBUTION & SUPPORT
WARRANTY

References
Ronstan International – Sailboat Hardware, Architectural Services, Industrial Hardware, Andersen Winches and Rigging Components
Warranty | Ronstan Sailboat Hardware World
Ronstan International – Sailboat Hardware, Architectural Services, Industrial Hardware, Andersen Winches and Rigging Components
Warranty | Ronstan Sailboat Hardware World























