HAMRON 009835 Hand Winch

SAFETY INSTRUCTIONS
- Read and follow all instructions from the manufacturer of the product or products on which this product is to be installed, and save the instructions for future reference.
- Always check before use that the product is free from defects and damage.
- Never use the product if it is damaged, as this could cause injury.
- Regularly lubricate the moving parts sparingly with grease.
- The product is not intended for lifting or moving people.
- Always check that the wire, wire attachment, hooks, etc., are intact and in good condition before use. Do not use the product if the wire is worn or damaged. If a wire breaks or comes loose when under load, it will fly out violently
(“whiplash effect”) and could cause death, serious injury and material damage. - Never exceed the product’s rated load, which is stamped on the product’s frame.
- Never stand beside winch wires, straps or lines, and never attempt to guide wires, straps or lines with your hands.
- Never use the product with wet or oily hands, or if your hands are slippery for some other reason. Always keep a firm grip on the winch handle. Do not attempt to stop a rotating winch by trying to grab the crank handle.
- Never release the handle unless the catch is fully and correctly engaged and is bearing the load.
- Never leave the product unattended with a suspended load – risk of death, personal injury or material damage as a result of the actions of an unauthorised person.
- The product should normally be able to be wound with just one hand. If both hands are required, this is a sign of overloading.
- Never allow children, or anyone who is unfamiliar with the product and these instructions, to use it.
TECHNICAL SPECIFICATIONS
- Max. load 700 kg
- Strap 7 m x 50 mm
- Gearing 4:1
- Material Steel
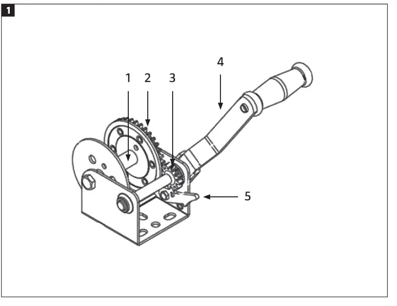
DESCRIPTION
Drum- Gear
- Ratchet wheel
- Crank handle
- Catch
HOW TO USE
WARNING!
- Do not use the hand winch for lifting!
- Always check that the wire, wire attachment, hooks, etc., are intact and in good condition before use.
APPLICATIONS
The product is a hand winch, the main parts of which are the frame, gear, catch and crank handle. The product is primarily intended for pulling and moving heavy objects, above all boats, as well as objects in the fields of industry and agriculture.
FUNCTION
The structure on which the product is to be installed must be able to cope with at least five times (Sx) the product’s maximum tractive force. One end of the line or steel wire is attached to the winch drum, while the hook at the other end is hooked onto the object that is to be moved. When the handle is turned, the gear’s pinion rotates. The pinion drives the gear wheel and, by means of the gear ratio, produces the tractive force in the wire that moves the object. When the crank handle is released, the catch engages and prevents the load from causing the winch to rotate backwards.
MAINTENANCE
Regularly lubricate the moving parts sparingly with grease.
Drum

















